Export Control
EAR Export Classification: Not subject to the EAR per 15 C.F.R. Chapter 1, Part 734.3(b)(3), except for the following Service Bulletins which are currently published as EAR Export Classification 9E991: SBE70-0992, SBE72-0483, SBE72-0580, SBE72-0588, SBE72-0640, SBE73-0209, SBE80-0024 and SBE80-0025.Copyright
© IAE International Aero Engines AG (2001, 2014 - 2021) The information contained in this document is the property of © IAE International Aero Engines AG and may not be copied or used for any purpose other than that for which it is supplied without the express written authority of © IAE International Aero Engines AG. (This does not preclude use by engine and aircraft operators for normal instructional, maintenance or overhaul purposes.).Applicability
All
Common Information
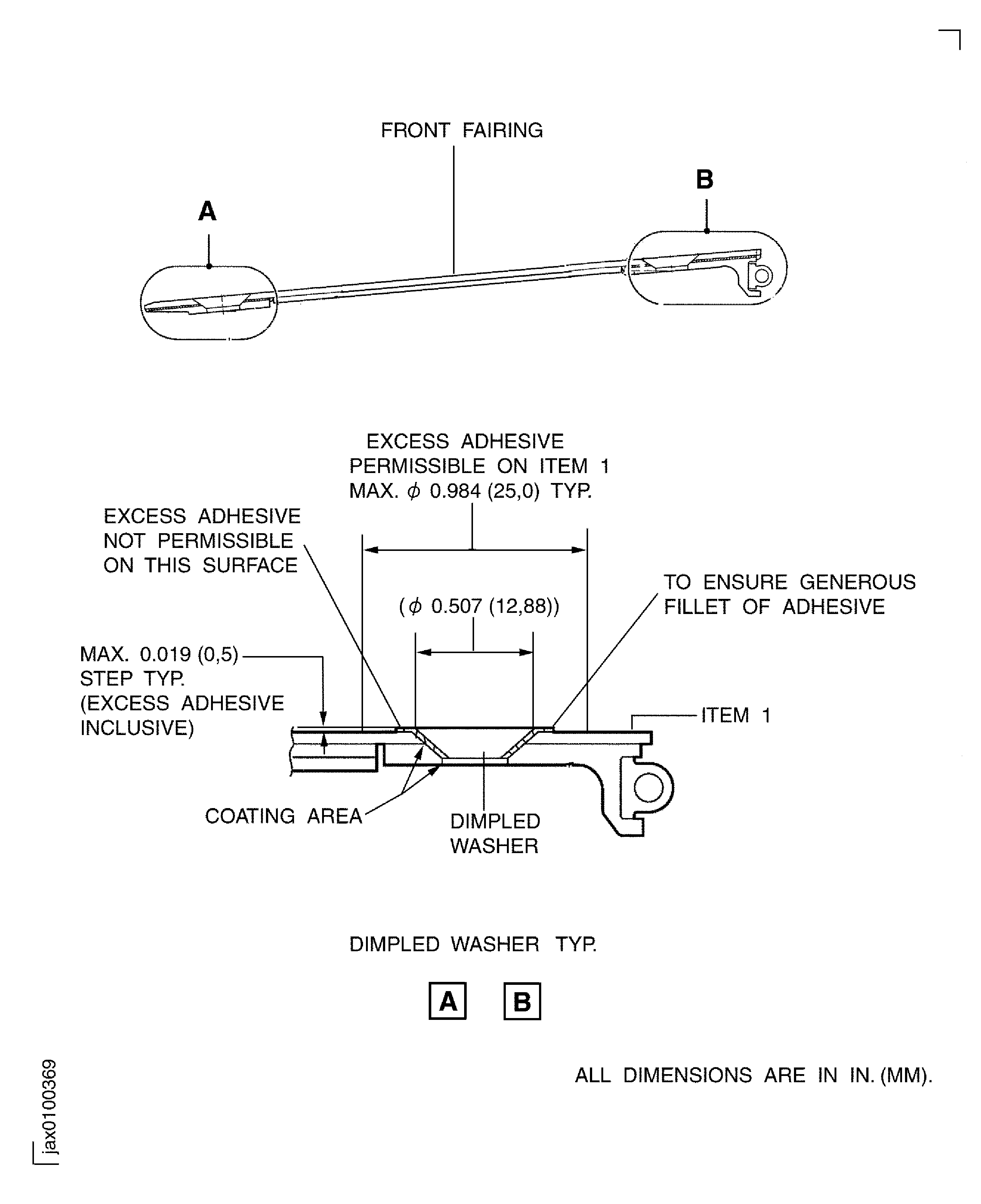
TASK 72-32-93-300-006 Intermediate Structure Front Fairing - Replace The Dimpled Washer, Repair-006 (VRS1448)
General
Price and availability - none
The practices and processes referred to in the procedure by the TASK number are in the SPM
NOTE
Preliminary Requirements
Pre-Conditions
NONEConsumables, Materials and Expendables
| Name | Manufacturer | Part Number / Identification | Quantity | Remark |
|---|---|---|---|---|
| CoMat 05-019 WATERPROOF SILICON CARBIDE | LOCAL | CoMat 05-019 | ||
| CoMat 05-020 WATERPROOF SILICON CARBIDE | LOCAL | CoMat 05-020 | ||
| CoMat 05-016 GARNET PAPER, 80-GRIT | LOCAL | CoMat 05-016 | ||
| CoMat 05-017 GARNET PAPER, 60 GRIT | LOCAL | CoMat 05-017 | ||
| CoMat 01-275 CHROMATE CONVERSION COATING FOR ALUMINIUM | LOCAL | CoMat 01-275 | ||
| CoMat 08-109 RESIN, EPOXY ADHESIVE | LOCAL | CoMat 08-109 | ||
| CoMat 08-110 HARDENER, EPOXY ADHESIVE | LOCAL | CoMat 08-110 |
Spares
| Name | Manufacturer | Part Number / Identification | Quantity | Remark |
|---|---|---|---|---|
| Washer, dimpled | NAS1169C416L | A/R |
Safety Requirements
NONEProcedure
Refer to Figure.
SUBTASK 72-32-93-350-058 Remove the Dimple Washer from Front Fairing Assembly
Refer to Figure.
Refer to the SPM TASK 70-38-02-300-503.
Apply chromate conversion coating to the repair surfaces as necessary.
SUBTASK 72-32-93-350-059 Apply the Surface Protection to the Front Fairing Assembly
Refer to Figure.
Refer to the SPM TASK 70-36-02-360-501.
Remove the grease from the mating surfaces of the front fairing assembly and the dimple washers with cold liquid.
Refer to the SPM TASK 70-36-02-360-501.
Hand clean each of the mating surface.
SUBTASK 72-32-93-360-060 Prepare the Mating Surface for the Two Part Epoxy Paste Adhesive
CoMat 08-109 RESIN, EPOXY ADHESIVE 100 parts by weight.
CoMat 08-110 HARDENER, EPOXY ADHESIVE 40 parts by weight.
NOTE
The pot life of 100 grams of resin/hardener mixture is about 1 hour at room temperature.Fully mix the two parts until homogeneous.
SUBTASK 72-32-93-360-061 Make-up of the Two Part Epoxy Paste Adhesive
Refer to Figure.

CAUTION
DO NOT EAT OR SMOKE AT LOCATIONS WHERE THESE MATERIALS ARE USED.
CAUTION
AFTER PREPARATION THE MATING SURFACES MUST BE FULLY CLEANED AND MUST NOT BE TOUCHED BY HAND, TO PREVENT CONTAMINATION.
CAUTION
BONDING MUST BE DONE IMMEDIATELY AFTER THE SURFACE PREPARATION.Apply the mixture to the mating surfaces of the front fairing assembly and dimpled washers.
SUBTASK 72-32-93-360-062 Apply and Cure the Two Part Epoxy Paste Adhesive
Refer to Figure.
SUBTASK 72-32-93-220-004 Examine the Repaired Areas of the Front Fairing Assembly
Figure: Replacement of the dimpled washer
Replacement of the dimpled washer

