Export Control
EAR Export Classification: Not subject to the EAR per 15 C.F.R. Chapter 1, Part 734.3(b)(3), except for the following Service Bulletins which are currently published as EAR Export Classification 9E991: SBE70-0992, SBE72-0483, SBE72-0580, SBE72-0588, SBE72-0640, SBE73-0209, SBE80-0024 and SBE80-0025.Copyright
© IAE International Aero Engines AG (2001, 2014 - 2021) The information contained in this document is the property of © IAE International Aero Engines AG and may not be copied or used for any purpose other than that for which it is supplied without the express written authority of © IAE International Aero Engines AG. (This does not preclude use by engine and aircraft operators for normal instructional, maintenance or overhaul purposes.).Applicability
All
Common Information
TASK 72-41-11-300-017 HPC Stage 3 - 8 Drum Disk - Restore The Stage 3 To 5 Anti-Fret Treatment, Repair-017 (VRS6487)
Effectivity
FIG/ITEM | PART NO. |
|---|---|
01-200 | 6A3508 |
01-200 | 6A3648 |
01-200 | 6A3934 |
01-200 | 6A3936 |
01-200 | 6A4189 |
01-200 | 6A4900 |
01-200 | 6A5467 |
01-200 | 6A5592 |
01-200 | 6A5594 |
01-200 | 6A5659 |
01-200 | 6A6473 |
01-200 | 6A7379 |
01-200 | 6A7380 |
01-200 | 6A7382 |
01-200 | 6A7383 |
01-200 | 6A7384 |
01-200 | 6A7385 |
01-200 | 6A7401 |
01-200 | 6A7705 |
01-200 | 6A8236 |
01-200 | 6A8316 |
01-200 | 6A8318 |
01-200 | 6A8350 |
01-200 | 6B1379 |
01-200 | 6B1380 |
01-200 | 6B1381 |
01-200 | 6B1382 |
01-200 | 6B1383 |
01-200 | 6B1384 |
01-200 | 6B1385 |
01-200 | 6B1386 |
01-200 | 6B1387 |
01-200 | 6B1391 |
01-200 | 6B1392 |
01-200 | 6B1393 |
01-200 | 6B1401 |
01-200 | 6B1402 |
01-200 | 6B1403 |
01-200 | 6B1404 |
01-200 | 6B1405 |
01-200 | 6B1406 |
Material of component
PART IDENT | MATERIAL |
|---|---|
HP Compressor Stage 3 to 8 Disks Shaft Assembly | Titanium Alloy |
General
This Repair must only be done when the instruction to do so as given in the relevant inspection procedures (identified by the applicable part number) located in section 72-41-11.
This Repair restores the dry film lubricant to the HP compressor disks, stage 3 - 8, on the stage 3 to 5 rotor blade location slots.
The practices and processes referred to in the procedure by the TASK/SUBTASK numbers are in the Standard Practices Manual (SPM).
Price and availability
Refer to International Aero Engines
NOTE
NOTE
NOTE
NOTE
Preliminary Requirements
Pre-Conditions
NONESupport Equipment
| Name | Manufacturer | Part Number / Identification | Quantity | Remark |
|---|---|---|---|---|
| Chemical cleaning equipment | LOCAL | Chemical cleaning equipment | ||
| Spray gun | LOCAL | Spray gun | ||
| Oven | LOCAL | Oven | ||
| Vibrating marking pencil | LOCAL | Vibrating marking pencil |
Consumables, Materials and Expendables
| Name | Manufacturer | Part Number / Identification | Quantity | Remark |
|---|---|---|---|---|
| CoMat 02-002 ADHESIVE TAPE GENERALPURPOSE PAPER | LOCAL | CoMat 02-002 | ||
| CoMat 02-019 TAPE, ADHESIVE PAPER HEAT RESISTING MASKING | 94960 | CoMat 02-019 | ||
| CoMat 07-009 THINNER | LOCAL | CoMat 07-009 | ||
| CoMat 10-002 DRY FILM LUBRICANT | LOCAL | CoMat 10-002 |
Spares
NONESafety Requirements
NONEProcedure
Refer to SPM TASK 70-11-01-300-503.
Chemically clean the disks.
SUBTASK 72-41-11-110-064 Clean the Dovetail Location Slots on the Stage 3, 4 and 5 Rotor Disks
Refer to SPM TASK 70-38-03-380-501, SUBTASK 70-38-03-380-004.
UseCoMat 10-002 DRY FILM LUBRICANT graphite with CoMat 07-009 THINNER.
Use a Spray gun.
Apply the dry film lubricant, by spray to get a total thickness of 0.00012 in. to 0.00059 in. (0.003 mm to 0.014 mm) on areas identified AC.
SUBTASK 72-41-11-380-055 Apply the Dry Film Lubricant to the Dovetail Location Slots on the Stage 3, 4 and 5 Rotor Disks
Refer to SPM TASK 70-38-03-380-501, SUBTASK 70-38-03-380-005.
Use an Oven.
Stove the rotor Disks.
SUBTASK 72-41-11-380-056 Stove the Rotor Disks
Refer to SPM TASK 70-38-03-380-501, SUBTASK 70-38-03-220-001, for inspection standards.
Visually examine the dry film lubricant layer.
SUBTASK 72-41-11-220-100 Examine the Dry Film Lubricant
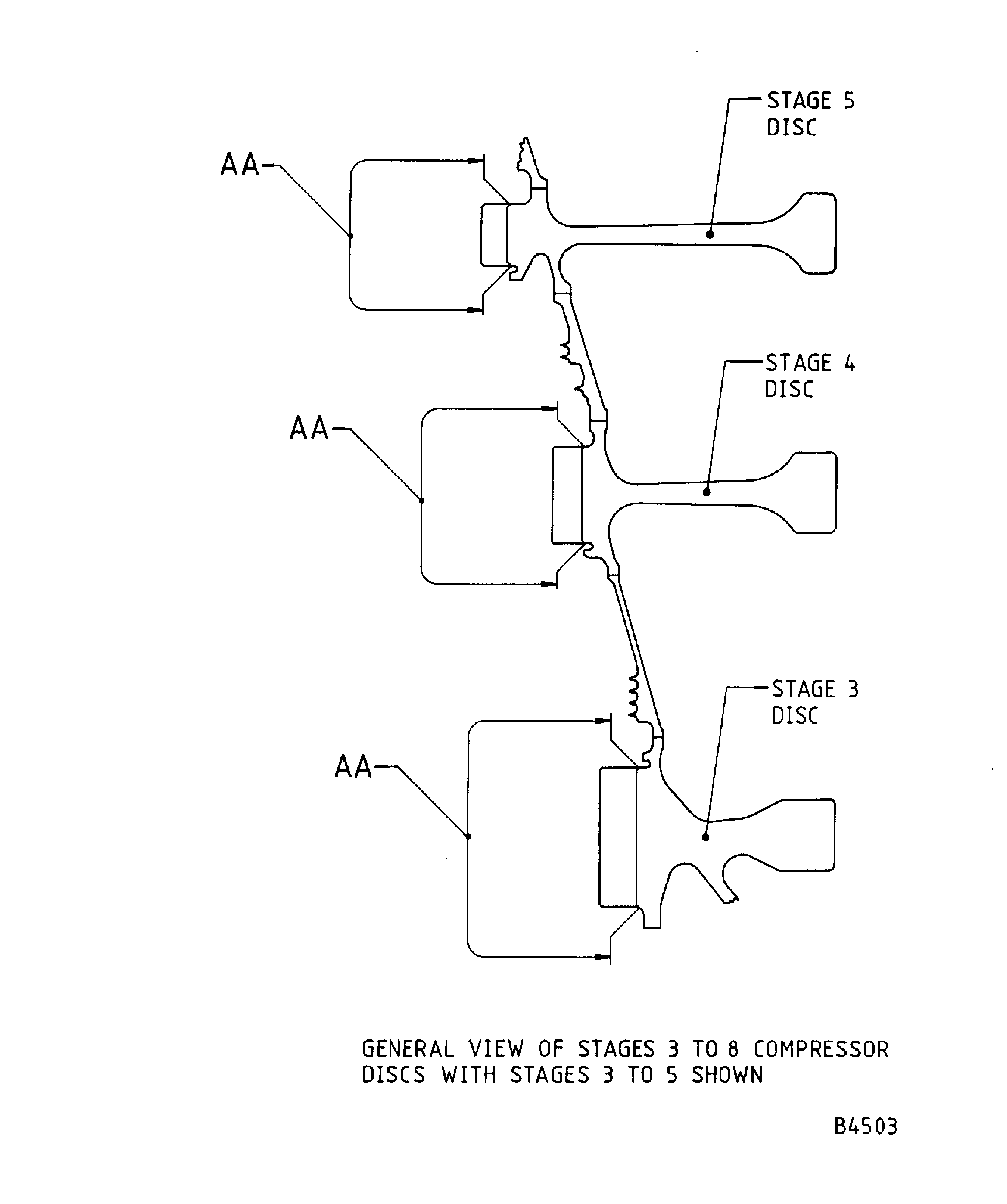
Refer to Figure.
Refer to SPM TASK 70-09-00-400-501, SUBTASK 70-09-00-400-001.
NOTE
If the parts are already identified with the repair scheme number "VRS6487" from a previous repair application, further identification is not necessary.
Vibro-engrave VRS6487 adjacent to the assembly number.
SUBTASK 72-41-11-350-070 Identify the Repair
Figure: Repair Details and Dimensions
Repair Details and Dimensions

Figure: Repair Details and Dimensions
Repair Details and Dimensions

Figure: Repair Details and Dimensions
Repair Details and Dimensions

