Export Control
EAR Export Classification: Not subject to the EAR per 15 C.F.R. Chapter 1, Part 734.3(b)(3), except for the following Service Bulletins which are currently published as EAR Export Classification 9E991: SBE70-0992, SBE72-0483, SBE72-0580, SBE72-0588, SBE72-0640, SBE73-0209, SBE80-0024 and SBE80-0025.Copyright
© IAE International Aero Engines AG (2001, 2014 - 2021) The information contained in this document is the property of © IAE International Aero Engines AG and may not be copied or used for any purpose other than that for which it is supplied without the express written authority of © IAE International Aero Engines AG. (This does not preclude use by engine and aircraft operators for normal instructional, maintenance or overhaul purposes.).Applicability
All
Common Information
TASK 72-41-12-300-004 HPC Stage 9 - 12 Drum Disk - Blend Repair, Repair-004 (VRS3436)
Effectivity
FIG/ITEM | PART NO. |
|---|---|
01-600 | 2A2100-01 |
01-600 | 2A2200-01 |
01-600 | 2A2600-01 |
01-600 | 2A3200-01 |
01-600 | 2A3300-01 |
01-600 | 2A3400-01 |
01-600 | 2A3500-01 |
General
This blend repair uses the rotary or manual type of consumable materials. Use only the consumable materials specific for each type of repair.
The maximum rotary equipment speed is 18,000 rpm.
Use the rotary consumable material only in the sequence given below or damage to the part will result. It is not necessary to use all of the rotary equipment for each repair. When you start with a rotary consumable material you must use all the subsequent materials through (4). For example, if you use the material in (2) you must also use all the materials in (3) and (4):
The practices and processes referred to in the procedure by TASK number are in the SPM.
Price and availability - refer to IAE
Preliminary Requirements
Pre-Conditions
NONESupport Equipment
| Name | Manufacturer | Part Number / Identification | Quantity | Remark |
|---|---|---|---|---|
| Rotary equipment | LOCAL | Rotary equipment | ||
| Workshop inspection equipment | LOCAL | Workshop inspection equipment |
Consumables, Materials and Expendables
| Name | Manufacturer | Part Number / Identification | Quantity | Remark |
|---|---|---|---|---|
| CoMat 05-143 STONE, BROWN INDIA (MEDIUM) | 9K848 | CoMat 05-143 | ||
| CoMat 05-144 WHEEL, BEAR-TEX UNIFIED DEBURRING | 9K848 | CoMat 05-144 | ||
| CoMat 05-145 WHEEL, CLOTH BUFF | IAE65 | CoMat 05-145 | ||
| CoMat 05-146 WHEEL, SILICON CARBIDE ABRASIVE COAT DELETED | 0AM53 | CoMat 05-146 | ||
| CoMat 05-147 WHEEL, RUBBER BONDED GRINDING | LOCAL | CoMat 05-147 | ||
| CoMat 05-148 STONE, WHITE ARKANSAS (HARD) | 06565 | CoMat 05-148 | ||
| CoMat 05-149 COMPOUND, BUFFING AND POLISHING | IAE65 | CoMat 05-149 | ||
| CoMat 05-146 WHEEL, SILICON CARBIDE ABRASIVE COAT DELETED | 0AM53 | CoMat 05-146 |
Spares
NONESafety Requirements
CAUTION
Procedure

WARNING
WEAR EYE PROTECTION WHEN YOU OPERATE THE ROTARY EQUIPMENT. DISCHARGE AIR WILL BLOW LOOSE GRIT AND MATERIALS WHICH CAN CAUSE INJURY TO A PERSON.Refer to Figure.
Make the abrasive coat become soft on the CoMat 05-146 WHEEL, SILICON CARBIDE ABRASIVE COAT DELETED and remove the rough or unwanted grit until the wheel surface is smooth before you do the blend repair.
All blended areas must be smooth and continuous.
The surface finish must be 63AA or smoother.
The minimum blend area to depth ratio is 100 to 1.
Remove all the lifted material.
Remove only the minimum quantity of material that is necessary to do the repair.
If it is necessary to blend the inside of the drum and web area, a flexible borescope with a video monitoring system will make it easier.
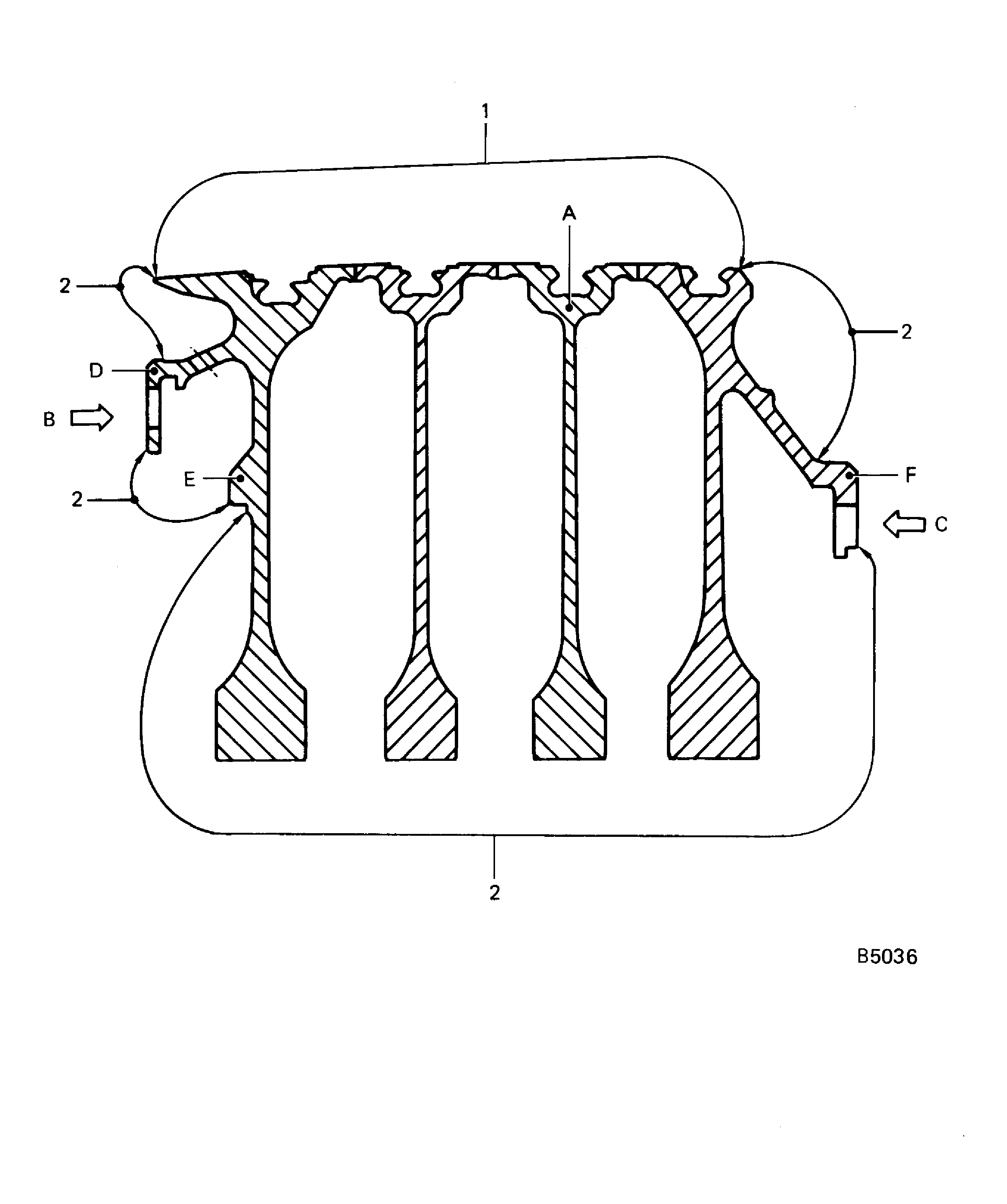
Blend repair scattered surface damage at location 2 to a maximum depth of 0.005in. (0.127 mm). Do not blend both sides of the disk surfaces at the same location. Additional blend repair limits are given at specific locations on the figure.
SUBTASK 72-41-12-350-053-001 Blend the Disk (Rotary Method)
Refer to Figure.
All blended areas must be smooth and continuous.
The surface finish must be 63AA or smoother.
The minimum blend area to depth ratio is 100 to 1.
Remove all lifted material.
Remove only the minimum quantity of material that is necessary to do the repair.
If it is necessary to blend the inside of the drum and web area, a flexible borescope with a video monitoring system will make it easier.
Blend repair scattered surface damage at location 2 to a maximum depth of 0.005in. (0.127 mm). Do not blend both sides of the disk surfaces at the same location. Additional blend repair limits are given at specific locations on the figure.
SUBTASK 72-41-12-350-053-002 Blend the Disk (Manual Method)
Refer to TASK 72-41-12-200-000.
Fluorescent penetrant inspect the blend areas.
SUBTASK 72-41-12-230-056 Examine the Blend Areas
Refer to Figure.
Use the deep electrolytic etch method.
See the figure for the electrical contact area.
No burning, pitting or selective attack from the electrical contact is permitted.
Make a permanent mark by the procedure given in the SPM TASK 70-09-00-400-501.
Mark VRS3436 adjacent to the part number.
SUBTASK 72-41-12-350-054 Identify the Repair
Figure: Rear HPC drum disk blend repair
Rear HPC drum disk blend repair

Figure: Rear HPC drum disk blend repair
Rear HPC drum disk blend repair

Figure: Rear HPC drum disk blend repair
Rear HPC drum disk blend repair

Figure: Rear HPC drum disk blend repair
Rear HPC drum disk blend repair

Figure: Rear HPC drum disk identify the repair
Rear HPC drum disk identify the repair

