DMC:V2500-A0-72-41-1301-00A-659A-CIssue No:001.00Issue Date:2013-11-01
Export Control
EAR Export Classification: Not subject to the EAR per 15 C.F.R. Chapter 1, Part 734.3(b)(3), except for the following Service Bulletins which are currently published as EAR Export Classification 9E991: SBE70-0992, SBE72-0483, SBE72-0580, SBE72-0588, SBE72-0640, SBE73-0209, SBE80-0024 and SBE80-0025.Copyright
© IAE International Aero Engines AG (2001, 2014 - 2021) The information contained in this document is the property of © IAE International Aero Engines AG and may not be copied or used for any purpose other than that for which it is supplied without the express written authority of © IAE International Aero Engines AG. (This does not preclude use by engine and aircraft operators for normal instructional, maintenance or overhaul purposes.).Applicability
All
Common Information
TASK 72-41-13-300-015 HPC Rear Shaft - Repair The HPC Shaft Rear Side Spline By Machining, Repair-015 (VRS3481)
General
The practices and processes referred to in the procedure by TASK number are in the SPM.
Price and availability - none
Preliminary Requirements
Pre-Conditions
NONESupport Equipment
| Name | Manufacturer | Part Number / Identification | Quantity | Remark |
|---|---|---|---|---|
| Machining equipment | LOCAL | Machining equipment | ||
| Workshop inspection equipment | LOCAL | Workshop inspection equipment |
Consumables, Materials and Expendables
NONESpares
NONESafety Requirements
NONEProcedure
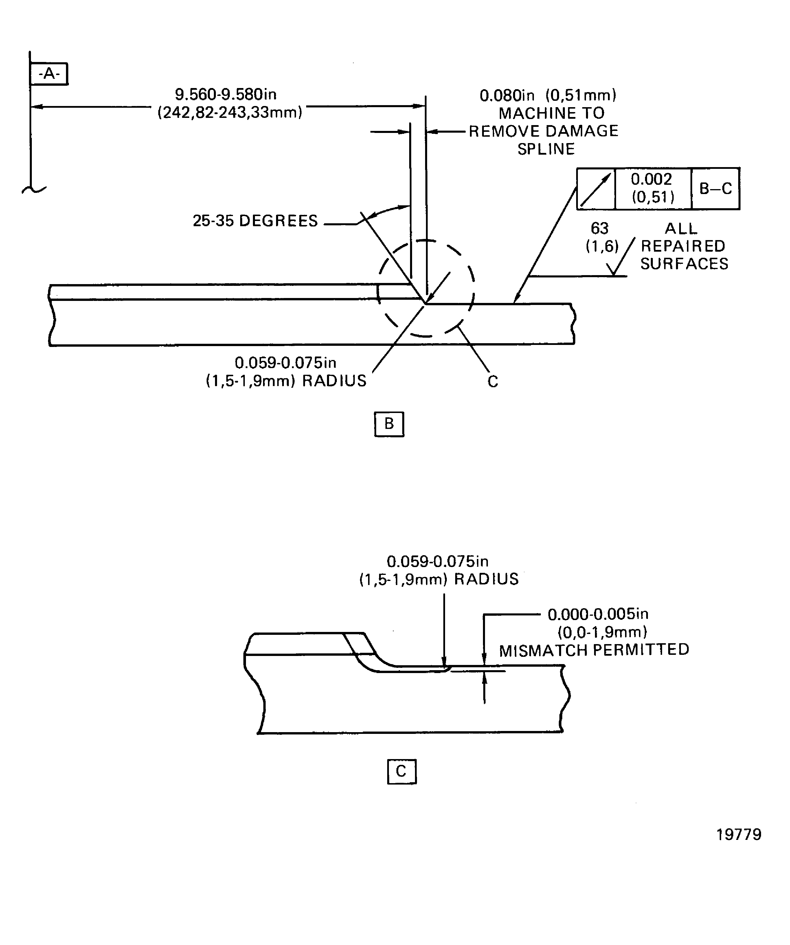
Refer to Figure requirements.
Break all the sharp edges to between 0.003 and 0.015 in. (0.08 to 2.38 mm) after machining.
Set-up and machine 0.080in. (2.032 mm) axially from the rear side of the spline by the requirements given in View B and C.
SUBTASK 72-41-13-320-051 Remove the Damage
No cracks permitted.
Refer to the SPM TASK 70-23-04-230-501 (Dip or Spray).
Do a penetrant crack test.
SUBTASK 72-41-13-230-053 Do a crack test
Refer to Figure requirements.
Do a visual and dimensional inspection.
SUBTASK 72-41-13-220-080 Examine the Repair
Refer to Figure.
Make a permanent mark by the procedures given in the SPM TASK 70-09-00-400-501.
Mark VRS3481 adjacent to the part number. Use the vibration peen method.
SUBTASK 72-41-13-350-051 Identify the Repair
Figure: HPC shaft rear side spline machining
HPC shaft rear side spline machining

Figure: HPC shaft rear sided spline machining
HPC shaft rear sided spline machining

