Export Control
EAR Export Classification: Not subject to the EAR per 15 C.F.R. Chapter 1, Part 734.3(b)(3), except for the following Service Bulletins which are currently published as EAR Export Classification 9E991: SBE70-0992, SBE72-0483, SBE72-0580, SBE72-0588, SBE72-0640, SBE73-0209, SBE80-0024 and SBE80-0025.Copyright
© IAE International Aero Engines AG (2001, 2014 - 2021) The information contained in this document is the property of © IAE International Aero Engines AG and may not be copied or used for any purpose other than that for which it is supplied without the express written authority of © IAE International Aero Engines AG. (This does not preclude use by engine and aircraft operators for normal instructional, maintenance or overhaul purposes.).Applicability
All
Common Information
TASK 72-41-13-300-017 HPC Rear Shaft - Blend Repair On The Threads, Repair-017 (VRS3519)
General
This blend repair uses the rotary or manual type of consumable materials. Use only the consumable materials specified for each type of repair.
The maximum rotary equipment speed is 18,000 RPM.
Use the rotary consumable material only in the sequence given below or damage to the part will result. It is not necessary to use all of the rotary equipment for each repair. When you start with a rotary consumable material, you must use all the subsequent materials through D. For example, if you use the material in B. you must also use all the materials in C. and D.
The practices and processes referred to in the procedure by TASK number are in the SPM.
Price and availability - not applicable
NOTE
Preliminary Requirements
Pre-Conditions
NONESupport Equipment
| Name | Manufacturer | Part Number / Identification | Quantity | Remark |
|---|---|---|---|---|
| Portablegrinding equipment | LOCAL | Portable grinding equipment | ||
| Shot peening equipment | LOCAL | Shot peening equipment | ||
| Fluorescent Penetrant Inspection Equipment | LOCAL | Fluorescent penetrant inspection equipment | ||
| Standard inspection equipment | LOCAL | Standard inspection equipment |
Consumables, Materials and Expendables
| Name | Manufacturer | Part Number / Identification | Quantity | Remark |
|---|---|---|---|---|
| CoMat 05-143 STONE, BROWN INDIA (MEDIUM) | 9K848 | CoMat 05-143 | ||
| CoMat 05-144 WHEEL, BEAR-TEX UNIFIED DEBURRING | 9K848 | CoMat 05-144 | ||
| CoMat 05-145 WHEEL, CLOTH BUFF | IAE65 | CoMat 05-145 | ||
| CoMat 05-146 WHEEL, SILICON CARBIDE ABRASIVE COAT DELETED | 0AM53 | CoMat 05-146 | ||
| CoMat 05-147 WHEEL, RUBBER BONDED GRINDING | LOCAL | CoMat 05-147 | ||
| CoMat 05-148 STONE, WHITE ARKANSAS (HARD) | 06565 | CoMat 05-148 | ||
| CoMat 05-149 COMPOUND, BUFFING AND POLISHING | IAE65 | CoMat 05-149 |
Spares
NONESafety Requirements
CAUTION
Procedure
Use the rotary consumable materials given in the general section.
Make the abrasive coat become soft on the CoMat 05-146 WHEEL, SILICON CARBIDE ABRASIVE COAT DELETED.
The surface texture must be 125 AA (3.2 micro m) or smoother.
Remove the rough and unwanted grit until the wheel surface is smooth before you do the blend repair.
Remove only the minimum quantity of length and depth that is necessary to do the repair.
Eight nicks of 0.040 in. (1.016 mm) maximum circumferential length can be blended to the major diameter of the internal thread.
The maximum removal thread in one location is 2.0 in. (50.8 mm) of circumferential length.
The minimum distance between repairs in one location is 3.5 in. (88.9 mm) of circumferential length.
The maximum total thread removal is 7.0 in. (177.8 mm) of circumferential length.
Remove all the lifted material.
All blended corner radii must be 0.020 in. (0.508 mm) minimum.
Break the edge on all blended area to between 0.003 and 0.015 in. (0.08 and 0.38 mm).
Blend the damage threads.
SUBTASK 72-41-13-350-055-001 Blend the Shaft Assembly Threads (Rotary Method)

WARNING
WEAR EYE PROTECTION WHEN YOU OPERATE THE ROTARY EQUIPMENT. DISCHARGE AIR WILL BLOW LOOSE GRIT AND MATERIAL WHICH CAN CAUSE INJURY TO A PERSON.The surface texture must be 125 AA (3.2 micro m) or smoother.
Remove only the minimum quantity of length and depth that is necessary to do the repair.
Eight nicks of 0.040 in. (1.016 mm) maximum circumferential length can be blended to the major diameter of the internal thread.
The maximum removal thread in one location is 2.0 in. (50.8 mm) of circumferential length.
The minimum distance between repairs in one location is 3.5 in. (88.9 mm) of circumferential length.
The maximum total thread removal is 7.0 in. (177.8 mm) of circumferential length.
Remove all the lifted material.
All blended corner radii must be 0.020 in. (0.508 mm) minimum.
Break the edge on all blended area to between 0.003 and 0.015 in. (0.08 and 0.38 mm).
Blend the damage threads.
SUBTASK 72-41-13-350-055-002 Blend the Shaft Assembly Threads (Manual Method)
No cracks permitted.
Do the procedure given in the SPM TASK 70-23-03-230-501 or SPM TASK 70-23-08-230-501.
Fluorescent penetrant inspect all of the repaired areas for cracks.
SUBTASK 72-41-13-230-056 Fluorescent Penetrant the Repair Area
Refer to Figure requirements.
Make a permanent mark by the procedures given in the SPM TASK 70-09-00-400-501.
See the figure for the electrical contact area.
No burning, pitting or selective attack is permitted from the electrical contact.
Use the deep electrolytic etch method.
Mark VRS3519 adjacent to the part number.
SUBTASK 72-41-13-350-056 Identify the Repair
Figure: HPC shaft assembly thread blend repair areas (Inner diameter threads)
Sheet 1

Figure: HPC shaft assembly thread blend repair areas (Inner diameter threads)
Sheet 2

Figure: HPC shaft assembly thread blend repair areas (Inner diameter threads)
Sheet 3

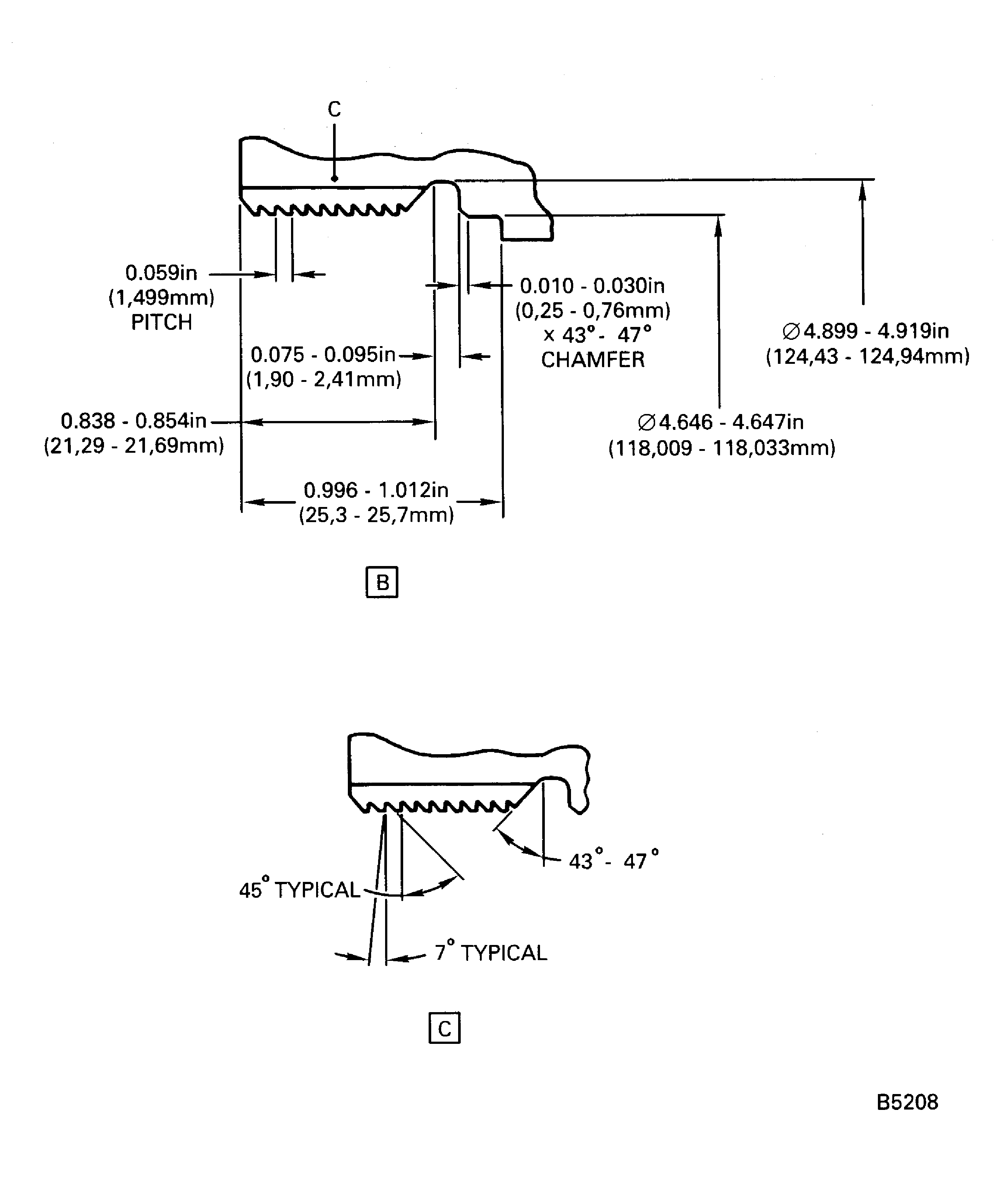
Figure: HPC shaft assembly thread blend repair areas (Outer diameter threads)
Sheet 1

Figure: HPC shaft assembly thread blend repair areas (Outer diameter threads)
Sheet 2

