Export Control
EAR Export Classification: Not subject to the EAR per 15 C.F.R. Chapter 1, Part 734.3(b)(3), except for the following Service Bulletins which are currently published as EAR Export Classification 9E991: SBE70-0992, SBE72-0483, SBE72-0580, SBE72-0588, SBE72-0640, SBE73-0209, SBE80-0024 and SBE80-0025.Copyright
© IAE International Aero Engines AG (2001, 2014 - 2021) The information contained in this document is the property of © IAE International Aero Engines AG and may not be copied or used for any purpose other than that for which it is supplied without the express written authority of © IAE International Aero Engines AG. (This does not preclude use by engine and aircraft operators for normal instructional, maintenance or overhaul purposes.).Applicability
All
Common Information
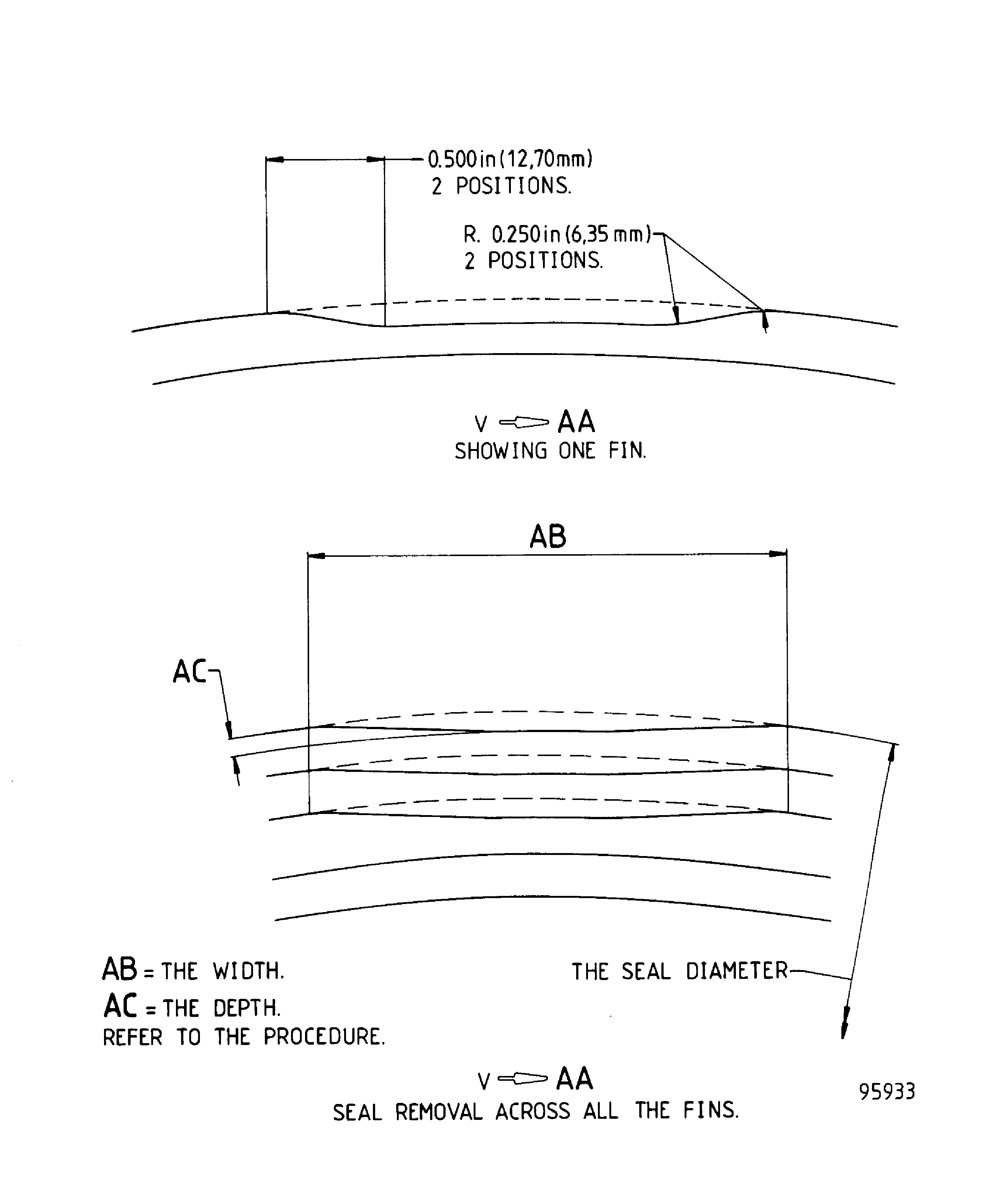
TASK 72-41-14-300-004 HPC Rear Rotating Air Seal - Blend Repair On The Seal Fins, Repair-004 (VRS6147)
General
This TASK gives the procedure to Repair the Seal Fins on the HP Compressor Rear Rotating Air Seal by dressing and scalloping.
This repair must only be done when the instruction to do so is given in the relevant inspection procedures (identified by the applicable part number) located in section 72-41-14.
This repair scheme is for a CRITICAL PART. Critical parts comprise those major rotating parts of an engine the failure of which could, if uncontained, affect the airworthiness of the aircraft. The unauthorised repair of critical parts can have hazardous consequences. Critical parts must be handled with care at all times.
Where reference is made to a SUBTASK within a TASK in the form "TASK, SUBTASK" the operator must read and apply the complete TASK. The SUBTASK is listed only when the TASK gives options for the processing of the component. The specified SUBTASK instructs what option must be used during application of the TASK for the successful completion of the Repair Scheme VRS6147.
TASKS identified by SPM TASK are in the Standard Practices Manual (SPM).
Price and availability
Refer to International Aero Engines
Related repairs - HP Compressor rear rotating seal - repair by re-balancing to TASK 72-41-14-300-006 (VRS6042)
NOTE
Equivalent materials or equipment can be used.
More equipment and materials necessary to do this Repair are in the SPM TASKS given below:
NOTE
NOTE
NOTE
Preliminary Requirements
Pre-Conditions
NONESupport Equipment
| Name | Manufacturer | Part Number / Identification | Quantity | Remark |
|---|---|---|---|---|
| Hand grinder | LOCAL | Hand grinder | ||
| Fluorescent Penetrant Inspection Equipment | LOCAL | Fluorescent penetrant inspection equipment | ||
| Dimensional inspection equipment | LOCAL | Dimensional inspection equipment | ||
| Chemical cleaning equipment | LOCAL | Chemical cleaning equipment | ||
| Vibro-peen equipment | LOCAL | Vibro-peen equipment |
Consumables, Materials and Expendables
| Name | Manufacturer | Part Number / Identification | Quantity | Remark |
|---|---|---|---|---|
| CoMat 05-074 ALUMINIUM OXIDE ABRASIVE PAPER | 06565 | CoMat 05-074 | ||
| CoMat 05-106 ABRASIVE STONE | K6835 | CoMat 05-106 | ||
| CoMat 05-111 EMERY POLISHING PAPER | 06565 | CoMat 05-111 | ||
| CoMat 06-022 FLUORESCENT PENETRANT (POST-EMULSIFIED ULTRA HIGH SENSITIVITY) | LOCAL | CoMat 06-022 |
Spares
NONESafety Requirements
NONEProcedure
Remove sufficient material to remove damage. Refer to the limits given in Step.
Do not grind into the seal fin land.
Use a suitable abrasive paper or stone to remove the damage.
Remove area(s) of damage.
Areas of fin on the multi-fin seal can be removed up to a maximum limit of 30 degrees on any one fin. Only one fin can be dressed to remove material to the maximum limit. Material can be removed from the other fins where necessary when the side ACxAB removed from each fin is not more than 0.015 sq-inch (0.096 sq-cm).
Refer to SPM TASK 70-35-03-300-501.
Make sure marks are fully removed.
Deburr.
Refer to SPM TASK 70-35-03-300-501.
Polish to get a surface finish the same as the adjacent material.
Blend and polish.
SUBTASK 72-41-14-350-058 Remove Damaged Area(s)
Refer to SPM TASK 70-23-01-230-501.
Cracks are not permitted.
Reject.
If cracking is detected.
Continue with the repair.
If no cracking is detected.
Inspect for cracking using fluorescent penetrant inspection.
SUBTASK 72-41-14-230-057 Fluorescent Penetrant Inspect
Refer to SPM TASK 70-09-00-400-501 SUBTASK 70-09-00-400-001.
Use Vibro-peen equipment.
Make a mark VRS6147 adjacent to the assembly number.
Polish to get a surface finish the same as the adjacent material.
Remove raised material and burrs from the vibro-peen process.
SUBTASK 72-41-14-350-059 Identify the Component
Figure: HP Compressor Rear Rotating Air Seal - Repair Details and Dimensions - Assembly A
HP Compressor Rear Rotating Air Seal - Repair Details and Dimensions - Assembly A

Figure: HP Compressor Rear Rotating Air Seal - Repair Details and Dimensions - All Assemblies
HP Compressor Rear Rotating Air Seal - Repair Details and Dimensions - All Assemblies

Figure: HP Compressor Rear Rotating Air Seal - Repair Details and Dimensions - All Assemblies
HP Compressor Rear Rotating Air Seal - Repair Details and Dimensions - All Assemblies

Figure: HP Compressor Rear Rotating Air Seal - Repair Details and Dimensions - Assembly B
HP Compressor Rear Rotating Air Seal - Repair Details and Dimensions - Assembly B

