Export Control
EAR Export Classification: Not subject to the EAR per 15 C.F.R. Chapter 1, Part 734.3(b)(3), except for the following Service Bulletins which are currently published as EAR Export Classification 9E991: SBE70-0992, SBE72-0483, SBE72-0580, SBE72-0588, SBE72-0640, SBE73-0209, SBE80-0024 and SBE80-0025.Copyright
© IAE International Aero Engines AG (2001, 2014 - 2021) The information contained in this document is the property of © IAE International Aero Engines AG and may not be copied or used for any purpose other than that for which it is supplied without the express written authority of © IAE International Aero Engines AG. (This does not preclude use by engine and aircraft operators for normal instructional, maintenance or overhaul purposes.).Applicability
All
Common Information
TASK 72-41-21-300-034 HPC Stage 7 Case - Replace Worn or Damaged Spacer(s) On The Stage 7 Case And Stage 8 Rotor Path Assembly, Repair-034 (VRS6266)
Effectivity
FIG/ITEM | PART NO. | ASSEMBLY |
03-500 | 6A3500 | A |
03-500 | 6A4310 | B |
03-500 | 6A4569 | C |
03-500 | 6A7019 | D |
03-500 | 6A6548 | E |
03-500 | 6A7529 | E |
03-500 | 6A7578 | E |
03-500 | 6A7624 | E |
Material of component
PART IDENT | MATERIAL |
HP compressor stage 7 case and stage 8 rotor path case assembly | Corrosion resistant steel |
Spacer | Corrosion resistant steel |
General
This Repair must only be done when the instruction to do so is given in 72-41-21 Inspection/Check.
The TASK gives the procedure to repair or replace worn or damaged spacer(s) in the HP compressor stage 7 case and stage 8 rotor path case assembly.
TASKS identified by SPM TASK are in the Standard Practices and Processes Manual (SPM).
Price and availability
Refer to International Aero Engines
Related repairs - none
NOTE
NOTE
It is possible that some materials in the Consumable Materials chart cannot be used for some or all of the necessary applications. Before you use the materials, make sure the types, quantities and applications of the materials necessary are legally permitted in your location. All persons must obey all applicable federal, state, local and provincial laws and regulations when it is necessary to work with these materials.
To identify the consumable materials refer to the Overhaul Processes and Consumables Index (PCI).
Other necessary consumable materials are referred to in the SPM TASKS.
Preliminary Requirements
Pre-Conditions
NONESupport Equipment
| Name | Manufacturer | Part Number / Identification | Quantity | Remark |
|---|---|---|---|---|
| Chemical cleaning equipment | LOCAL | Chemical cleaning equipment | ||
| Drift | LOCAL | Drift | ||
| Heat protection gloves | LOCAL | Heat protection gloves | ||
| Penetrant Crack Test Equipment | LOCAL | Penetrant crack test equipment | ||
| Standard workshop equipment | LOCAL | Standard workshop equipment | ||
| Workshop inspection equipment | LOCAL | Workshop inspection equipment |
Consumables, Materials and Expendables
| Name | Manufacturer | Part Number / Identification | Quantity | Remark |
|---|---|---|---|---|
| CoMat 03-026 LIQUID NITROGEN | LOCAL | CoMat 03-026 | ||
| CoMat 06-022 FLUORESCENT PENETRANT (POST-EMULSIFIED ULTRA HIGH SENSITIVITY) | LOCAL | CoMat 06-022 | ||
| CoMat 07-037 CORROSION RESISTANT TOUCH-UP COATING | LOCAL | CoMat 07-037 | ||
| CoMat 07-038 AIR DRYING ENAMEL | K3504 | CoMat 07-038 |
Spares
| Name | Manufacturer | Part Number / Identification | Quantity | Remark |
|---|---|---|---|---|
| Spacer | UP11143 | 10 A/R | (Assembly A and B) | |
| Spacer | UP60548 | 10 A/R | (Assembly C) | |
| Spacer | UP11144 | 10 A/R | (Assembly A) | |
| Spacer | UP60487 | 10 A/R | (Assembly B) | |
| Spacer | UP60477 | 10 A/R | (Assembly C) | |
| Spacer | UP11948 | 10 A/R | (Assembly D and E) |
Safety Requirements
NONEProcedure
Refer to TASK 72-41-21-100-000 (CLEANING-000).
Do the degreasing procedure, refer to the SPM TASK 70-11-01-300-503 and SPM TASK 70-11-03-300-503.
Use chemical cleaning equipment.
SUBTASK 72-41-21-110-235 Chemically Clean
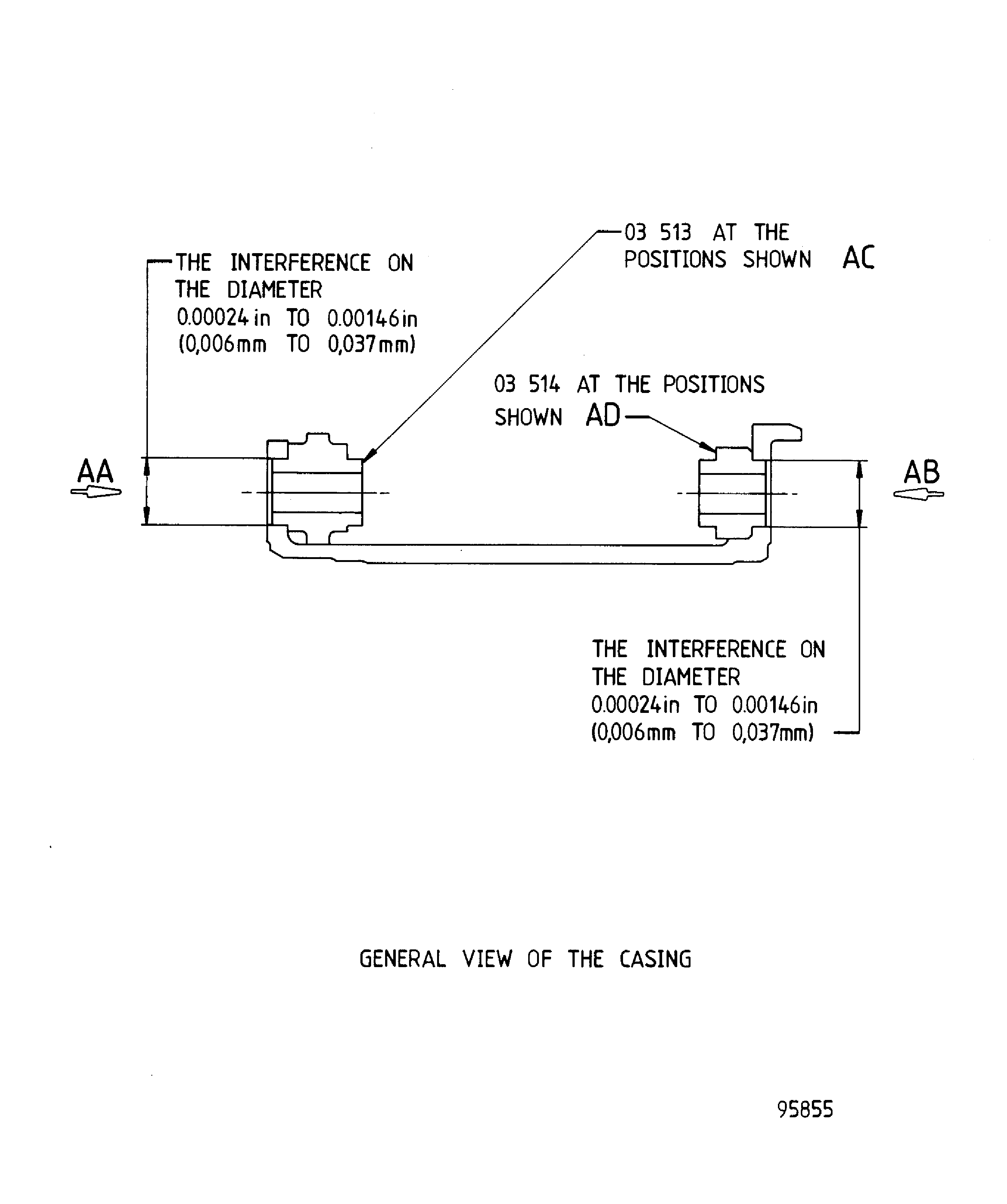
Use spacer HPC Ring Cases And Related Parts (72-41-21,03-513), 10 off or spacer HPC Ring Cases And Related Parts (72-41-21,03-514), 10 off as necessary.
Use locally made freeze plug.
Freeze the spacer(s).
SUBTASK 72-41-21-350-113-A00 Install the Spacer(s) (UP11143 and UP11144), Assembly A
Use spacer HPC Ring Cases And Related Parts (72-41-21,03-513), 10 off or spacer HPC Ring Cases And Related Parts (72-41-21,03-514), 10 off as necessary.
Use locally made freeze plug.
Freeze the spacer(s).
SUBTASK 72-41-21-350-113-B00 Install the Spacer(s) (UP11143 and UP60487), Assembly B
Use spacer HPC Ring Cases And Related Parts (72-41-21,03-513), 10 off or spacer HPC Ring Cases And Related Parts (72-41-21,03-514), 10 off as necessary.
Use locally made freeze plug.
Freeze the spacer(s).
SUBTASK 72-41-21-350-113-C00 Install the Spacer(s) (UP60548 and UP60477), Assembly C
Use spacer HPC Ring Cases And Related Parts (72-41-21,03-814), 10 off as necessary.
Use a locally made freeze plug.
Freeze the spacer(s).
SUBTASK 72-41-21-350-113-D00 Install the Spacer(s) (UP11948), Assembly D and Assembly E
Refer to the SPM TASK 70-38-21-380-501, SUBTASK 70-38-21-380-010.
Apply the surface protection to the HP compressor stage 7 case and stage 8 rotor path case assembly.
SUBTASK 72-41-21-380-082 Apply the Surface Protection
Figure: Repair Details and Dimensions - Assembly A, Assembly B and Assembly C
Sheet 1

Figure: Repair Details and Dimensions - Assembly D
Sheet 2

Figure: Repair Details and Dimensions - Assembly E
Sheet 3

Figure: Repair Details and Dimensions - Assembly A, Assembly B and Assembly C
Repair Details and Dimensions - Assembly A, Assembly B and Assembly C

Figure: Repair Details and Dimensions - Assembly A, Assembly B, Assembly C Assembly D and Assembly E
Repair Details and Dimensions - Assembly A, Assembly B, Assembly C Assembly D and Assembly E

