Export Control
EAR Export Classification: Not subject to the EAR per 15 C.F.R. Chapter 1, Part 734.3(b)(3), except for the following Service Bulletins which are currently published as EAR Export Classification 9E991: SBE70-0992, SBE72-0483, SBE72-0580, SBE72-0588, SBE72-0640, SBE73-0209, SBE80-0024 and SBE80-0025.Copyright
© IAE International Aero Engines AG (2001, 2014 - 2021) The information contained in this document is the property of © IAE International Aero Engines AG and may not be copied or used for any purpose other than that for which it is supplied without the express written authority of © IAE International Aero Engines AG. (This does not preclude use by engine and aircraft operators for normal instructional, maintenance or overhaul purposes.).Applicability
All
Common Information
TASK 72-41-21-300-072 HPC Heatshields - Replace The Surface Protection On The Stage 7 Front Heatshield, Repair-072 (VRS6303)
Material of component
RR | ||
|---|---|---|
DESCRIPTION SYMBOL MATERIAL | ||
HP Compressor Stage 7 Front | EAK | Modified 12 percent Chromium |
Heatshield Assembly | steel | |
General
This repair must only be done when the instruction to do so is given in 72-41-21 Inspection.
The practices and processes referred to in the procedure by the TASK/SUBTASK numbers are given in the SPM.
Price and availability
Refer to International Aero Engines
Related repairs - none
NOTE
Equivalent materials or equipment can be used.
More equipment and materials necessary to do this Repair are in the TASK 70-09-00-400-501,
NOTE
Preliminary Requirements
Pre-Conditions
NONESupport Equipment
| Name | Manufacturer | Part Number / Identification | Quantity | Remark |
|---|---|---|---|---|
| Chemical cleaning equipment | LOCAL | Chemical cleaning equipment | ||
| Penetrant Crack Test Equipment | LOCAL | Penetrant crack test equipment | ||
| Abrasive blast equipment | LOCAL | Abrasive blast equipment | ||
| Dry blast equipment | LOCAL | Dry blast equipment | ||
| Brush | LOCAL | Brush | Vacuum assisted | |
| Paint spray equipment | LOCAL | Paint spray equipment | ||
| Conductivity meter | LOCAL | Conductivity meter |
Consumables, Materials and Expendables
| Name | Manufacturer | Part Number / Identification | Quantity | Remark |
|---|---|---|---|---|
| CoMat 02-001 ADHESIVE TAPE (MASKING) | LOCAL | CoMat 02-001 | ||
| CoMat 02-005 ADHESIVE TAPE (MASKING) | LOCAL | CoMat 02-005 | ||
| CoMat 02-019 TAPE, ADHESIVE PAPER HEAT RESISTING MASKING | 94960 | CoMat 02-019 | ||
| CoMat 05-003 ABRASIVE MEDIUM ALUMINUM OXIDE, 120/220 GRADE | LOCAL | CoMat 05-003 | ||
| CoMat 06-073 INK, METAL MARKING | 88303 | CoMat 06-073 | ||
| CoMat 07-024 AEROLAC METAL PROTECTIVE VARNISH, CLEAR | LOCAL | CoMat 07-024 | ||
| CoMat 07-036 ALUMINIUM HIGH HEAT RESISTANT PAINT | 0AM53 | CoMat 07-036 |
Spares
NONESafety Requirements
NONEProcedure
Refer to the SPM TASK 70-12-02-120-501.
Use CoMat 05-003 ABRASIVE MEDIUM ALUMINUM OXIDE, 120/220 GRADE, with abrasive blast equipment.
Abrasive blast the areas to be repaired.
SUBTASK 72-41-21-120-077-A00 Prepare the Part for Repair, Assembly A
Refer to the SPM TASK 70-12-02-120-501.
Use CoMat 05-003 ABRASIVE MEDIUM ALUMINUM OXIDE, 120/220 GRADE, with abrasive blast equipment.
Abrasive blast the areas to tbe repaired.
SUBTASK 72-41-21-120-077-B00 Prepare the Part for Repair, Assembly B
Refer to the SPM TASK 70-38-21-380-501, SUBTASK 70-38-21-380-008 (type 'A' coating).
Use CoMat 07-036 ALUMINIUM HIGH HEAT RESISTANT PAINT, with paint spray equipment.
Apply the surface protection.
SUBTASK 72-41-21-380-112-A00 Apply the Surface Protection, Assembly A
Refer to the SPM TASK 70-38-21-380-501, SUBTASK 70-38-21-380-008 (type 'A' coating).
Use CoMat 07-036 ALUMINIUM HIGH HEAT RESISTANT PAINT, with paint spray equipment.
Apply the surface protection.
SUBTASK 72-41-21-380-112-B00 Apply the Surface Protection, Assembly B
Refer to the SPM TASK 70-38-21-380-501, SUBTASK 70-38-21-220-001, (type 'A' coating).
Examine the surface protection.
SUBTASK 72-41-21-220-453-A00 Examine the Surface Protection, Assembly A
Refer to the SPM TASK 70-38-21-380-501, SUBTASK 70-38-21-220-001, (Type 'A' coating).
Examine the surface protection.
SUBTASK 72-41-21-220-453-B00 Examine the Surface Protection, Assembly B
Refer to the SPM TASK 70-09-00-400-501, SUBTASK 70-09-00-400-002.
Mark on the part number adjacent to the existing marks which are under the surface protection.
Re-identify the part.
SUBTASK 72-41-21-350-165 Re-identify the Part
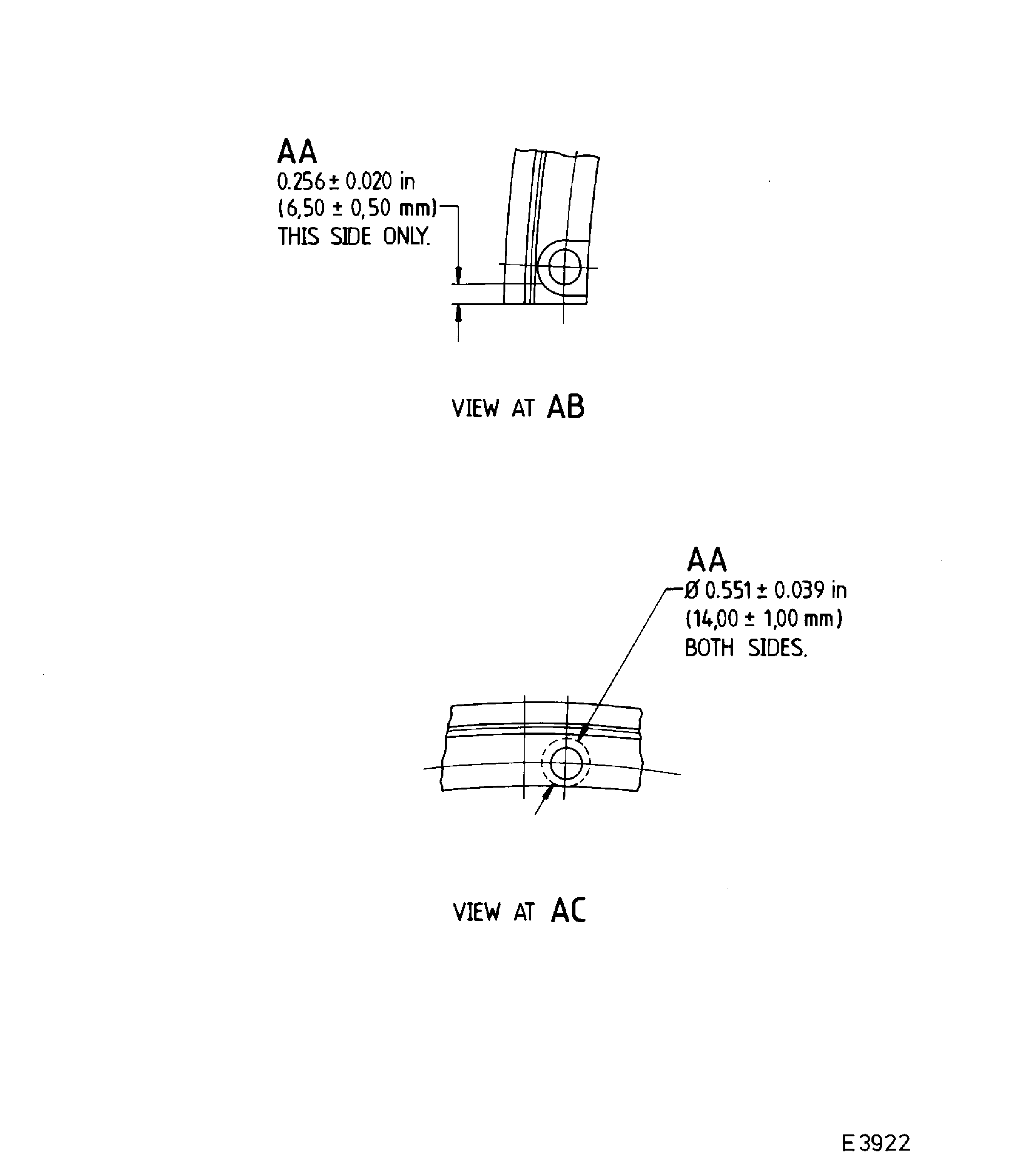
Figure: Repair details and dimensions - Assembly A
Repair details and dimensions - Assembly A

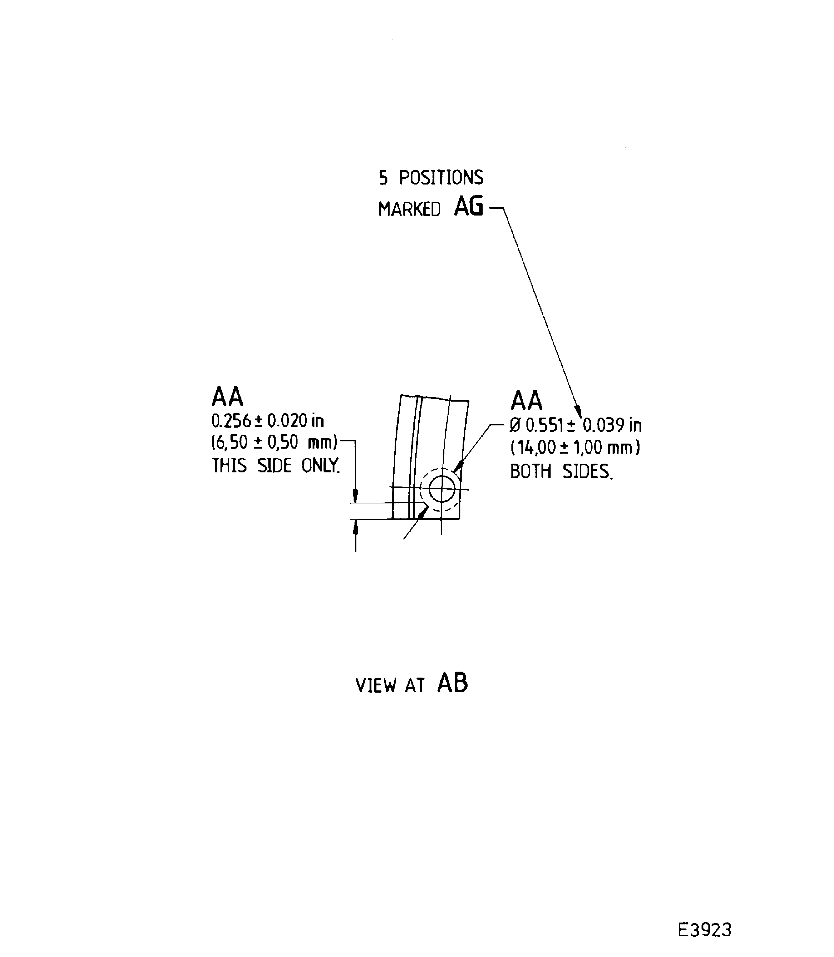
Figure: Repair details and dimensions - Assembly B
Repair details and dimensions - Assembly B

Figure: Repair details and dimensions - Assembly A
Repair details and dimensions - Assembly A

Figure: Repair details and dimensions - Assembly B
Repair details and dimensions - Assembly B

Figure: Repair details and dimensions - Assembly A
Repair details and dimensions - Assembly A

Figure: Repair details and dimensions - Assembly B
Repair details and dimensions - Assembly B

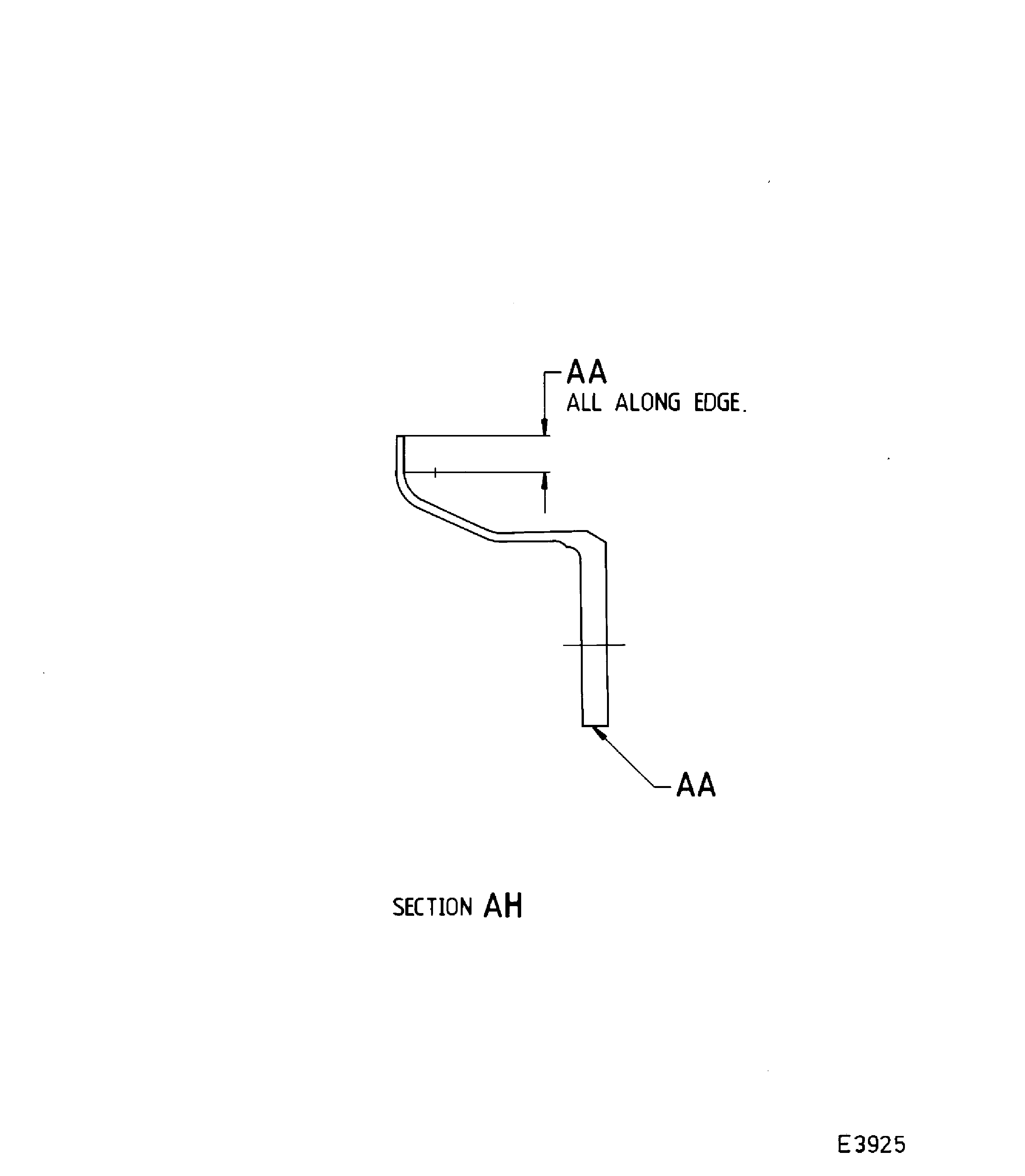
Figure: Repair details and dimensions - Assembly A and Assembly B
Repair details and dimensions - Assembly A and Assembly B

