Export Control
EAR Export Classification: Not subject to the EAR per 15 C.F.R. Chapter 1, Part 734.3(b)(3), except for the following Service Bulletins which are currently published as EAR Export Classification 9E991: SBE70-0992, SBE72-0483, SBE72-0580, SBE72-0588, SBE72-0640, SBE73-0209, SBE80-0024 and SBE80-0025.Copyright
© IAE International Aero Engines AG (2001, 2014 - 2021) The information contained in this document is the property of © IAE International Aero Engines AG and may not be copied or used for any purpose other than that for which it is supplied without the express written authority of © IAE International Aero Engines AG. (This does not preclude use by engine and aircraft operators for normal instructional, maintenance or overhaul purposes.).Applicability
All
Common Information
TASK 72-41-31-300-012 HPC Front Cases - Repair Loose Or Damaged Pin(s), Repair-012 (VRS6321)
Effectivity
FIG/ITEM | PART NO. | |
|---|---|---|
01-400 | 6A3462 | Assembly A |
01-400 | 6A3675 | Assembly A |
DELETED | ||
DELETED | ||
01-400 | 6A5470 | Assembly B |
01-400 | 6A4439 | Assembly C |
Material of component
PART IDENT | SYMBOL | MATERIAL |
|---|---|---|
HP Compressor Front Case Assembly | TEG | 4 per cent Aluminium, 6 percent Vanadium Titanium Alloy |
Pin | QAL or QAK | Nickel chromium heat resisting alloy |
Retaining ring | Nickel chromium steel |
General
This repair must only be done when the instruction to do so is given in 72-41-31 Inspection/Check.
The practices and processes referred to in the procedure by the TASK number are in the SPM.
Price and availability
Refer to International Aero Engines
Related repairs - none
NOTE
NOTE
Preliminary Requirements
Pre-Conditions
NONESupport Equipment
| Name | Manufacturer | Part Number / Identification | Quantity | Remark |
|---|---|---|---|---|
| Chemical cleaning equipment | LOCAL | Chemical cleaning equipment | ||
| Penetrant Crack Test Equipment | LOCAL | Penetrant crack test equipment | ||
| Standard workshop equipment | LOCAL | Standard workshop equipment | ||
| Workshop Inspection equipment | LOCAL | Workshop Inspection equipment | ||
| Jig boring machine | LOCAL | Jig boring machine | ||
| Vibrating marking pencil | LOCAL | Vibrating marking pencil |
Consumables, Materials and Expendables
| Name | Manufacturer | Part Number / Identification | Quantity | Remark |
|---|---|---|---|---|
| CoMat 03-026 LIQUID NITROGEN | LOCAL | CoMat 03-026 | ||
| CoMat 06-022 FLUORESCENT PENETRANT (POST-EMULSIFIED ULTRA HIGH SENSITIVITY) | LOCAL | CoMat 06-022 |
Spares
| Name | Manufacturer | Part Number / Identification | Quantity | Remark |
|---|---|---|---|---|
| Ring, retaining | AS20762 | 3 AR | ||
| Pin, grooved, Headless, | AS20742 | 3 AR | (standard) | |
| Pin, grooved, Headless, 0.005 in. | 6A5954 | 3 AR | (0,127 mm), (oversize) | |
| Pin, grooved, Headless, 0.010 in. | 6A5955 | 3 AR | (0,254 mm), (oversize) | |
| Ring, Retaining | AS20763 | 3 AR | ||
| Pin, grooved, Headless | AS20745 | 2 AR | (standard) | |
| Pin, grooved, Headless 0.005 in. | 6A5956 | 2 AR | (0,127 mm) , (oversize) | |
| Pin, grooved, Headless, 0.010 in. | 6A5957 | 2 AR | (0,254 mm), (oversize) | |
| Pin, grooved, Headless | AS20744 | 1 AR | (standard) | |
| Pin, grooved, Headless 0.005 in. | 6A5958 | 1 AR | (0,127 mm), (oversize) | |
| Pin, grooved, Headless, 0.010 in. | 6A5959 | 1 AR | (0,254 mm), (oversize) |
Safety Requirements
NONEProcedure
Refer to TASK 72-41-31-200-000 (INSPECTION/CHECK-000).
Use penetrant crack test equipment.
Cracks are not permitted.
Do a penetrant crack test.
SUBTASK 72-41-31-230-106 Do a Crack Test
Refer to Figure.
SUBTASK 72-41-31-350-093-A00 Remove Loose or Damaged Pin(s) and Retaining Ring(s), Assembly A
Refer to Figure.
SUBTASK 72-41-31-350-093-B00 Remove Loose or Damaged Pin(s) and Retaining Ring(s) Assembly B
Refer to Figure.
SUBTASK 72-41-31-350-093-C00 Remove Loose or Damaged Pin(s) and Retaining Ring(s), Assembly C
Refer to the SPM TASK 70-23-05-230-501.
Use CoMat 06-022 FLUORESCENT PENETRANT (POST-EMULSIFIED ULTRA HIGH SENSITIVITY) with penetrant crack test equipment.
Cracks not permitted.
Do a penetrant crack test.
SUBTASK 72-41-31-230-107 Do a Crack Test
SUBTASK 72-41-31-322-052-A00 Machine the Pin Hole(s), Assembly A

CAUTION
TITANIUM COMPONENT - YOU MUST USE SILICON CARBIDE TYPE ABRASIVE WHEELS, STONES AND PAPERS TO DRESS, BLEND AND POLISH THIS COMPONENT.
CAUTION
TITANIUM COMPONENT - DO NOT USE FORCE WITH MECHANICAL CUTTERS OR THE MATERIAL WILL BECOME TOO HOT.
CAUTION
TITANIUM COMPONENT - IF THE MATERIAL SHOWS A CHANGE IN COLOR, TO DARKER THAN A LIGHT STRAW COLOR, THE COMPONENT IS TO BE REJECTED.SUBTASK 72-41-31-322-052-B00 Machine the Pin Hole(s), Assembly B

CAUTION
TITANIUM COMPONENT - YOU MUST USE SILICON CARBIDE TYPE ABRASIVE WHEELS, STONES AND PAPERS TO DRESS, BLEND AND POLISH THIS COMPONENT.
CAUTION
TITANIUM COMPONENT - DO NOT USE FORCE WITH MECHANICAL CUTTERS OR THE MATERIAL WILL BECOME TOO HOT.
CAUTION
TITANIUM COMPONENT - IF THE MATERIAL SHOWS A CHANGE IN COLOR, TO DARKER THAN A LIGHT STRAW COLOR, THE COMPONENT IS TO BE REJECTED.SUBTASK 72-41-31-322-052-C00 Machine the Pin Hole(s), Assembly C

CAUTION
TITANIUM COMPONENT - YOU MUST USE SILICON CARBIDE TYPE ABRASIVE WHEELS, STONES AND PAPERS TO DRESS, BLEND AND POLISH THIS COMPONENT.
CAUTION
TITANIUM COMPONENT - DO NOT USE FORCE WITH MECHANICAL CUTTERS OR THE MATERIAL WILL BECOME TOO HOT.
CAUTION
TITANIUM COMPONENT - IF THE MATERIAL SHOWS A CHANGE IN COLOR, TO DARKER THAN A LIGHT STRAW COLOR, THE COMPONENT IS TO BE REJECTED.Refer to the SPM TASK 70-23-05-230-501.
Use Co Mat 06-022 fluorescent penetrant with penetrant crack test equipment.
Cracks are not permitted.
Do a penetrant crack test.
SUBTASK 72-41-31-230-110 Do a Crack Test
Use CoMat 03-026 LIQUID NITROGEN and standard workshop equipment.
Freeze the pin(s).
SUBTASK 72-41-31-350-095-A00 Install the Pin(s) and Retaining ring(s) into the HP Compressor Front Case Assembly, Assembly A
Use CoMat 03-026 LIQUID NITROGEN and standard workshop equipment.
Freeze the pin(s).
SUBTASK 72-41-31-350-095-B00 Install the Pin(s) and Retaining ring(s) into the HP Compressor Front Case Assembly, Assembly B
Use CoMat 03-026 LIQUID NITROGEN and standard workshop equipment.
Freeze the pin(s).
SUBTASK 72-41-31-350-095-C00 Install the Pin(s) and Retaining ring(s) into the HP Compressor Front Case Assembly, Assembly C
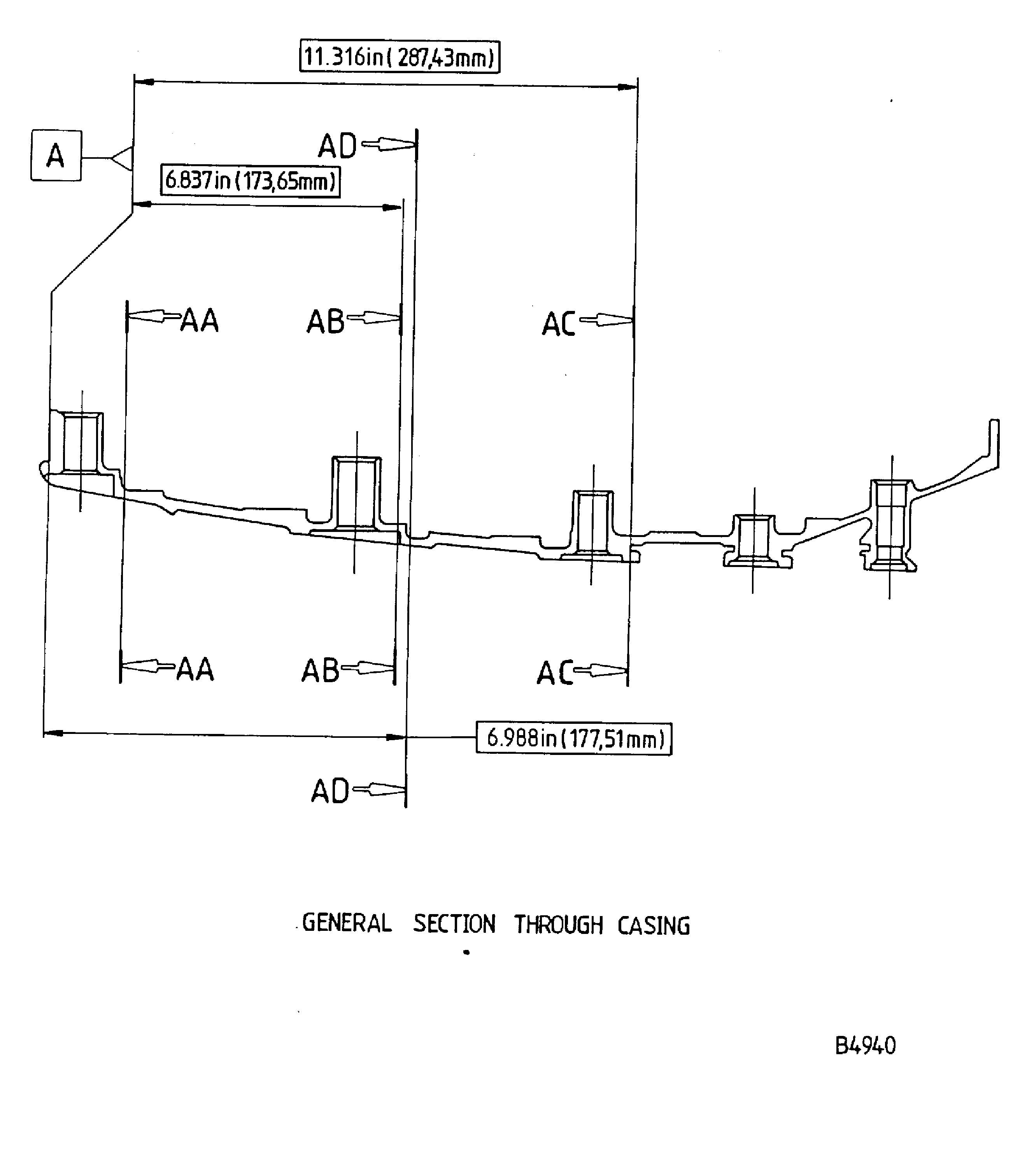
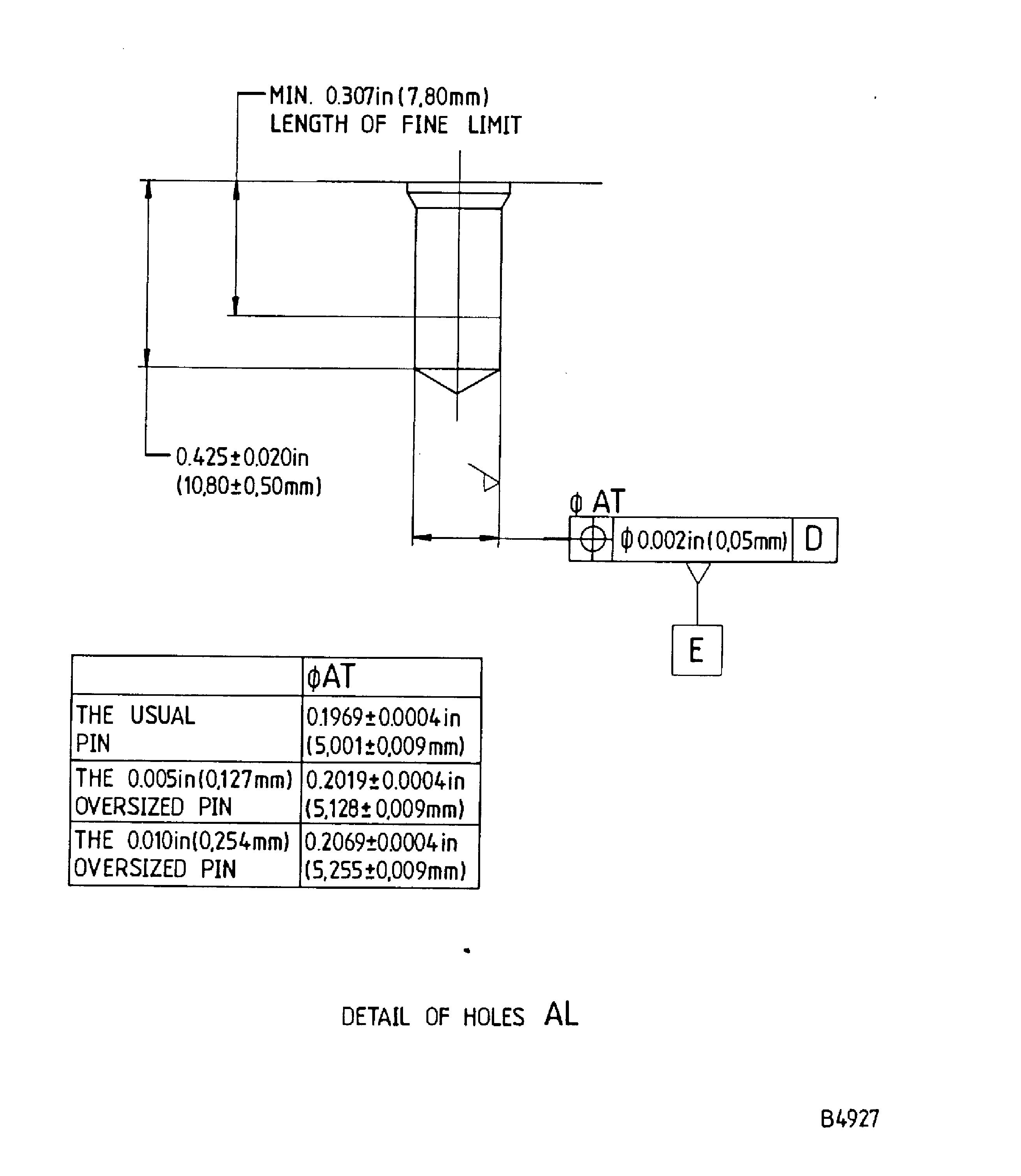
Figure: Repair details and dimensions - Assembly A
Repair details and dimensions - Assembly A

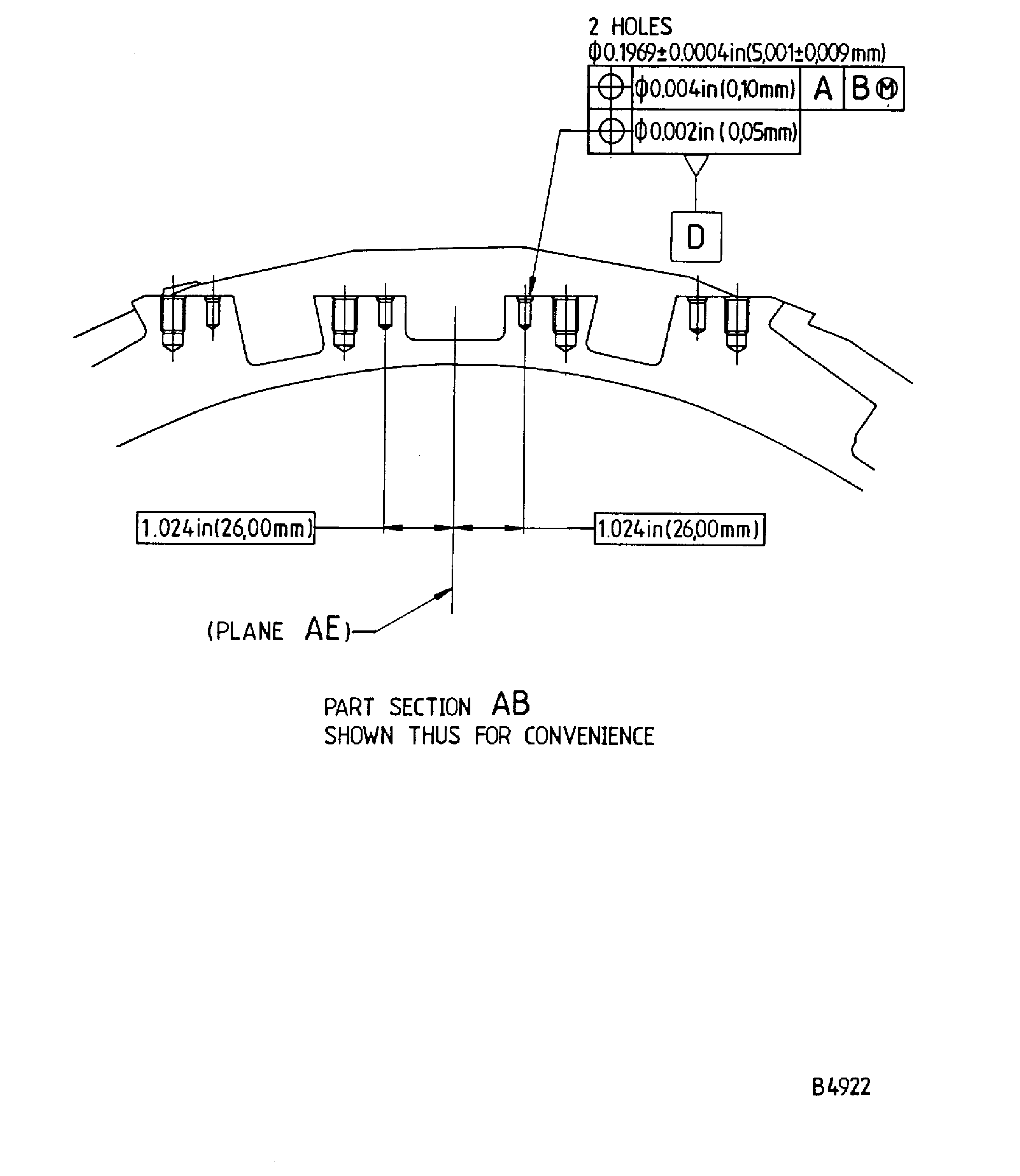
Figure: Repair details and dimensions - Assembly B
Repair details and dimensions - Assembly B

Figure: Repair details and dimensions - Assembly C
Repair details and dimensions - Assembly C

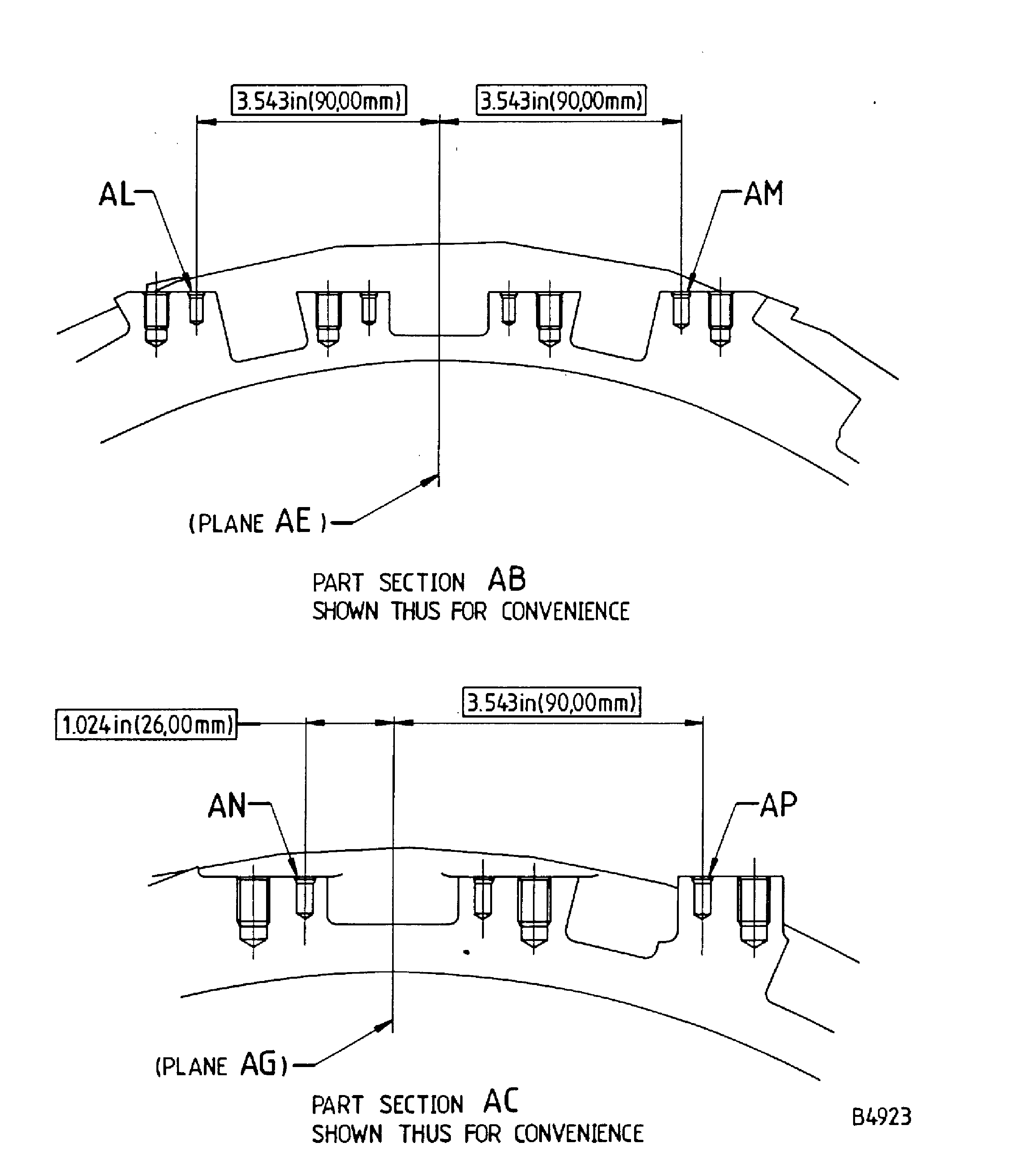
Figure: Repair details and dimensions - Assembly A, Assembly B and Assembly C
Repair details and dimensions - Assembly A, Assembly B and Assembly C

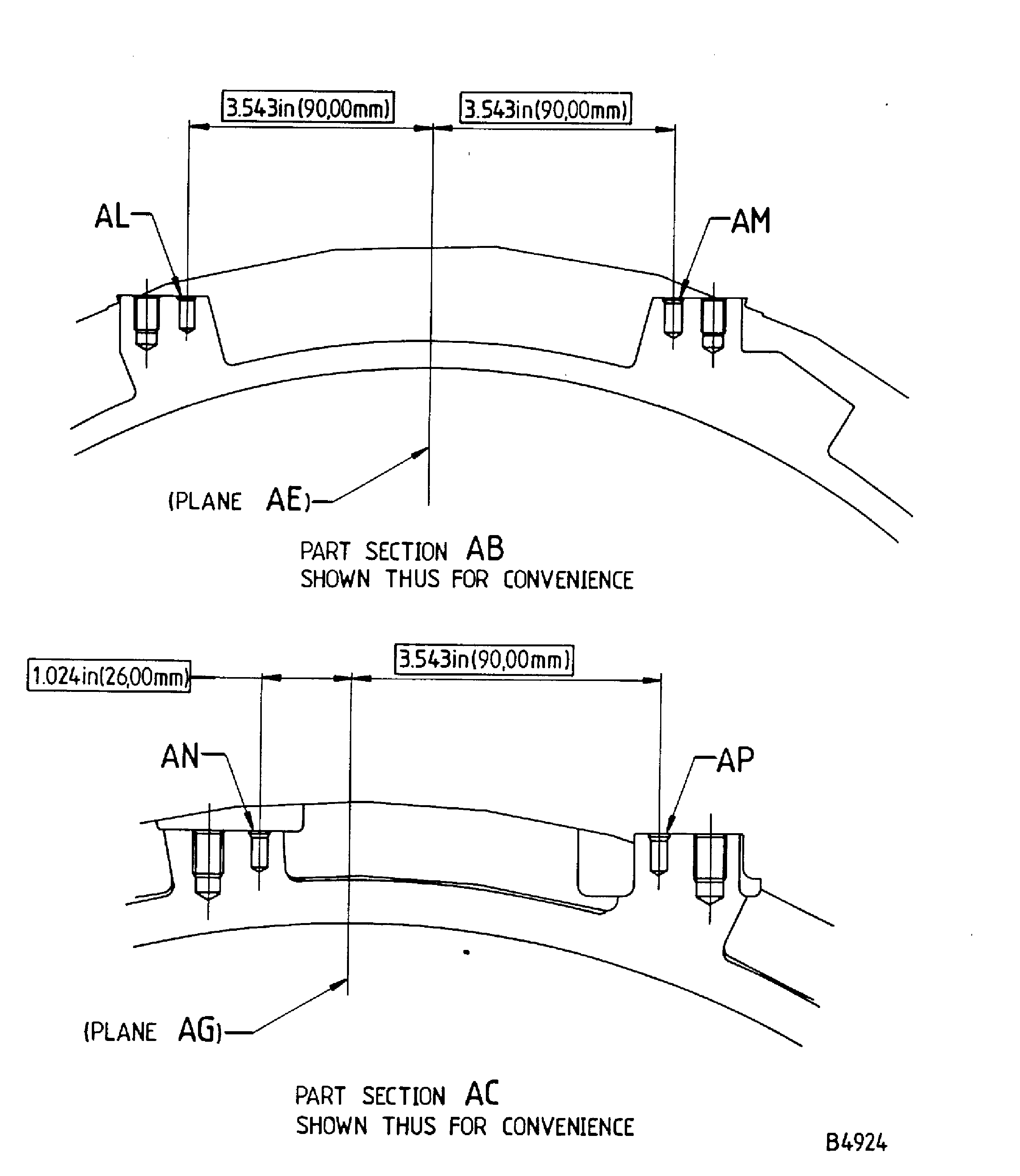
Figure: Repair details and dimensions - Assembly A, Assembly B and Assembly C
Repair details and dimensions - Assembly A, Assembly B and Assembly C

Figure: Repair details and dimensions - Assembly A, Assembly B and Assembly C
Repair details and dimensions - Assembly A, Assembly B and Assembly C

Figure: Repair details and dimensions - Assembly A
Repair details and dimensions - Assembly A

Figure: Repair details and dimensions - Assembly A
Repair details and dimensions - Assembly A

Figure: Repair details and dimensions - Assembly A and Assembly B
Repair details and dimensions - Assembly A and Assembly B

Figure: Repair details and dimensions - Assembly A, Assembly B and Assembly C
Repair details and dimensions - Assembly A, Assembly B and Assembly C

Figure: Repair details and dimensions - Assembly A, Assembly B and Assembly C
Repair details and dimensions - Assembly A, Assembly B and Assembly C

Figure: Repair details and dimensions - Assembly A
Repair details and dimensions - Assembly A

Figure: Repair details and dimensions - Assembly A, Assembly B and Assembly C
Repair details and dimensions - Assembly A, Assembly B and Assembly C

Figure: Repair details and dimensions - Assembly A, Assembly B and Assembly C
Repair details and dimensions - Assembly A, Assembly B and Assembly C

Figure: Repair details and dimensions - Assembly A, Assembly B and Assembly C
Repair details and dimensions - Assembly A, Assembly B and Assembly C

Figure: Repair details and dimensions - Assembly A, Assembly B and Assembly C
Repair details and dimensions - Assembly A, Assembly B and Assembly C

Figure: Repair details and dimensions - Assembly A, Assembly B and Assembly C
Repair details and dimensions - Assembly A, Assembly B and Assembly C

Figure: Repair details and dimensions - Assembly A, Assembly B and Assembly C
Repair details and dimensions - Assembly A, Assembly B and Assembly C

Figure: Repair details and dimensions - Assembly A, Assembly B and Assembly C
Repair details and dimensions - Assembly A, Assembly B and Assembly C

Figure: Repair details and dimensions - Assembly A, Assembly B and Assembly C
Repair details and dimensions - Assembly A, Assembly B and Assembly C

