Export Control
EAR Export Classification: Not subject to the EAR per 15 C.F.R. Chapter 1, Part 734.3(b)(3), except for the following Service Bulletins which are currently published as EAR Export Classification 9E991: SBE70-0992, SBE72-0483, SBE72-0580, SBE72-0588, SBE72-0640, SBE73-0209, SBE80-0024 and SBE80-0025.Copyright
© IAE International Aero Engines AG (2001, 2014 - 2021) The information contained in this document is the property of © IAE International Aero Engines AG and may not be copied or used for any purpose other than that for which it is supplied without the express written authority of © IAE International Aero Engines AG. (This does not preclude use by engine and aircraft operators for normal instructional, maintenance or overhaul purposes.).Applicability
All
Common Information
TASK 72-41-31-300-024 HPC Front Cases - Repair Worn Or Damaged Stage 6 Bush Holes By The Installation Of Steel Liner(s),Repair-024 (VRS6618)
Material of component
PART IDENT | SYMBOL | MATERIAL |
|---|---|---|
HP Compressor Front Case Assembly | TEG | 6 percent, Aluminum 4 percent Vanadium alloy |
Liner | EAF | Chromium - Nickel (18/8) - |
Stabilised Steel |
General
This Repair must only be done when the instruction to do so is given in 72-41-31 Inspection/Check.
This Repair, repairs worn or damaged Stage 6 VSV Bush Locations, in the HP Compressor Front Case Assembly, by the Installation of Steel Liner(s).
The Practises and processes referred to in the procedure by the TASK/SUBTASK numbers are in the SPM.
Price and availability
Refer to International Aero Engines
Related repairs - none
NOTE
NOTE
Preliminary Requirements
Pre-Conditions
NONESupport Equipment
| Name | Manufacturer | Part Number / Identification | Quantity | Remark |
|---|---|---|---|---|
| Chemical cleaning equipment | LOCAL | Chemical cleaning equipment | ||
| Boring machine | LOCAL | Boring machine | ||
| Standard workshop equipment | LOCAL | Standard workshop equipment | ||
| Penetrant Crack Test Equipment | LOCAL | Penetrant crack test equipment | ||
| Workshop inspection equipment | LOCAL | Workshop inspection equipment | ||
| Heat protection gloves | LOCAL | Heat protection gloves | ||
| Drift | LOCAL | Drift | Non-metallic | |
| Vibrating marking pencil | LOCAL | Vibrating marking pencil |
Consumables, Materials and Expendables
| Name | Manufacturer | Part Number / Identification | Quantity | Remark |
|---|---|---|---|---|
| CoMat 03-026 LIQUID NITROGEN | LOCAL | CoMat 03-026 |
Spares
| Name | Manufacturer | Part Number / Identification | Quantity | Remark |
|---|---|---|---|---|
| Liner | 6A6576 | 84 AR. |
Safety Requirements
NONEProcedure
SUBTASK 72-41-31-323-051 Machine the Worn or Damaged HP Compressor Front Case Assembly

CAUTION
TITANIUM COMPONENT - YOU MUST USE SILICON CARBIDE TYPE ABRASIVE WHEELS, STONES AND PAPERS TO DRESS, BLEND AND POLISH THIS COMPONENT.
CAUTION
TITANIUM COMPONENT - DO NOT USE FORCE WITH MECHANICAL CUTTERS OR THE MATERIAL WILL BECOME TOO HOT.
CAUTION
TITANIUM COMPONENT - IF THE MATERIAL SHOWS A CHANGE IN COLOR, TO DARKER THAN A LIGHT STRAW COLOR, THE COMPONENT IS TO BE REJECTED.Use 6A6576 liner, 01-480, 84 off, as necessary.
Freeze the liner to minus 30 degrees F, with CoMat 03-026 LIQUID NITROGEN.
Use standard workshop equipment, with heat protective gloves.
Freeze the liner.
SUBTASK 72-41-31-350-086 Install the Liner(s)
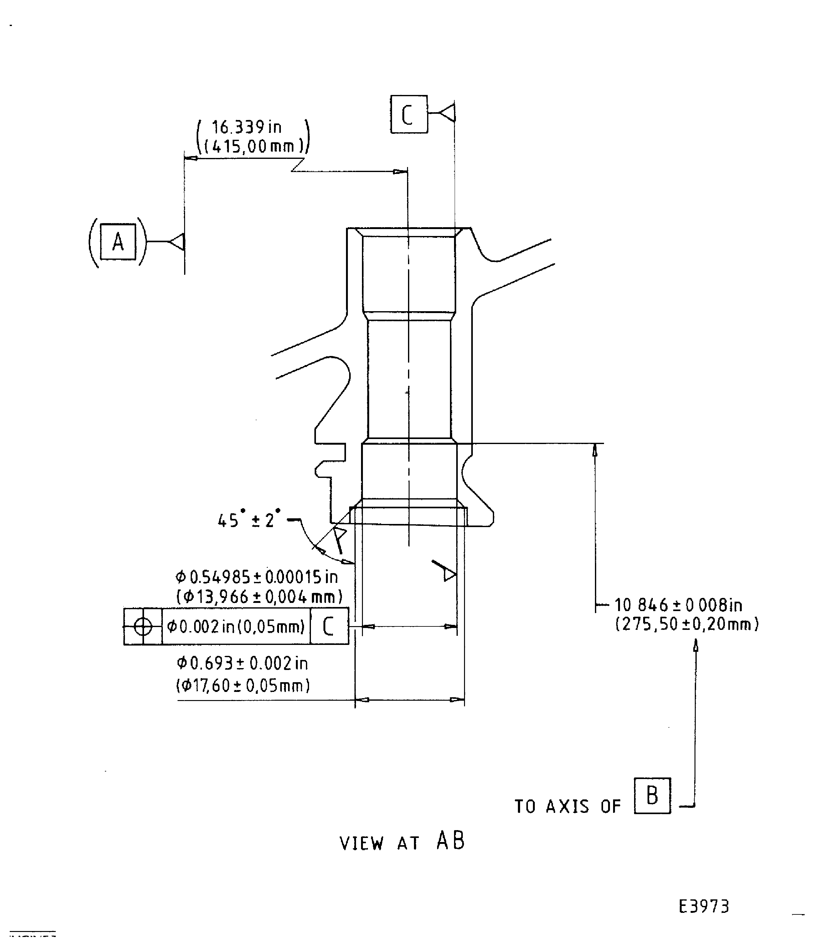
Figure: Repair details and dimensions
Repair details and dimensions

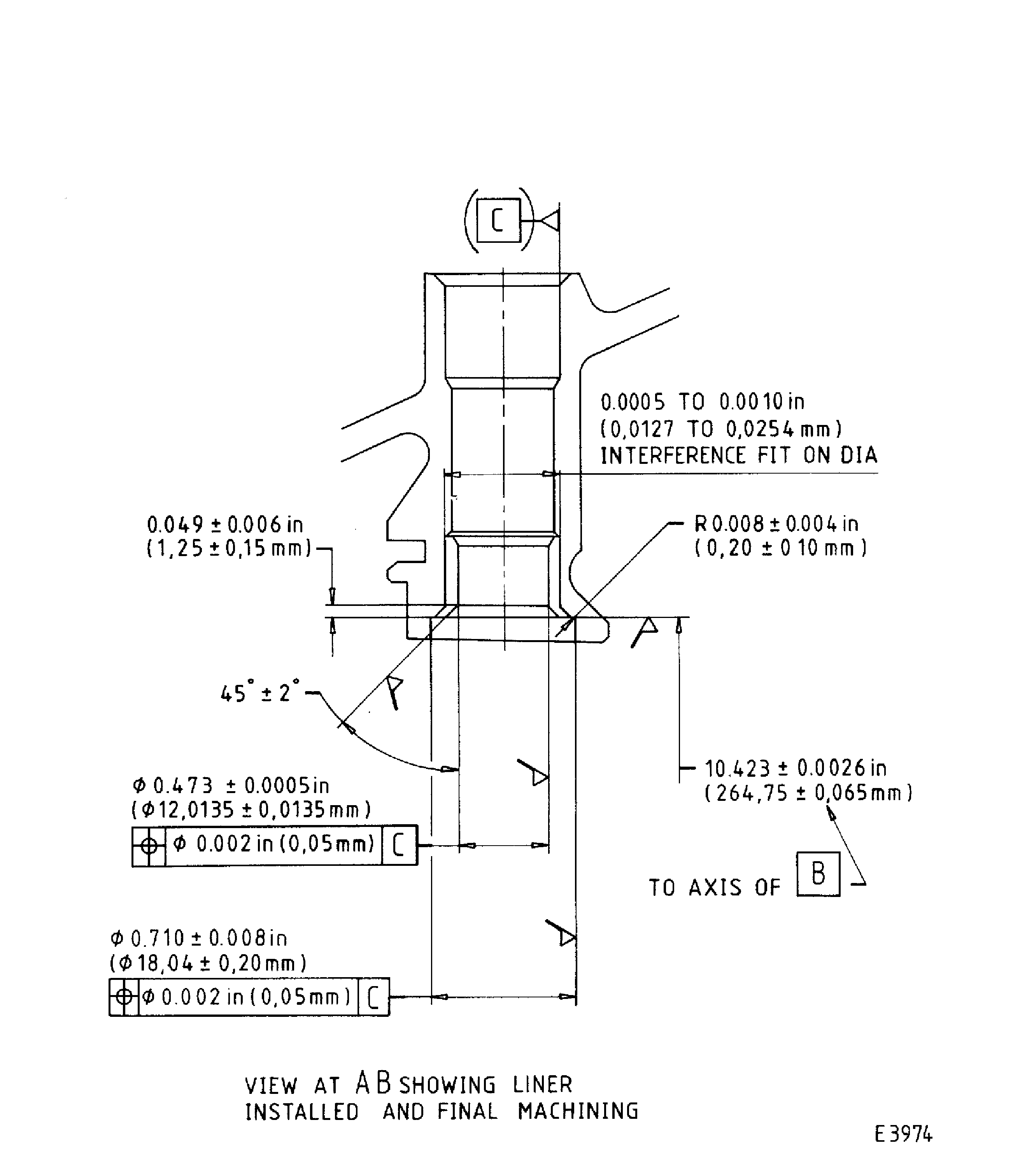
Figure: Repair details and dimensions
Repair details and dimensions

Figure: Repair details and dimensions
Repair details and dimensions

