Export Control
EAR Export Classification: Not subject to the EAR per 15 C.F.R. Chapter 1, Part 734.3(b)(3), except for the following Service Bulletins which are currently published as EAR Export Classification 9E991: SBE70-0992, SBE72-0483, SBE72-0580, SBE72-0588, SBE72-0640, SBE73-0209, SBE80-0024 and SBE80-0025.Copyright
© IAE International Aero Engines AG (2001, 2014 - 2021) The information contained in this document is the property of © IAE International Aero Engines AG and may not be copied or used for any purpose other than that for which it is supplied without the express written authority of © IAE International Aero Engines AG. (This does not preclude use by engine and aircraft operators for normal instructional, maintenance or overhaul purposes.).Applicability
All
Common Information
TASK 72-41-34-300-003 HPC Variable Stator Vane Levers - Replace The Pin (IGV And Stage 3), Repair-003 (VRS6192)
Material of component
RR | ||
|---|---|---|
DESCRIPTION SYMBOL MATERIAL | ||
Lever assembly | TAW and TCA | Titanium alloy |
Shoulder pin | TAB | Titanium alloy |
General
This Repair must only be done when the instruction to do so is given in 72-41-34 Inspection.
This Repair has been raised to replace the pins on the VIGV lever assembly and stage 3 lever assembly.
The practices and processes referred to in the procedure by the TASK number are in the SPM.
Price and availability
Refer to IAE
NOTE
Equivalent materials or equipment can be used.
More equipment and materials necessary to do this Repair are given in the SPM TASKS given below:
Preliminary Requirements
Pre-Conditions
NONESupport Equipment
| Name | Manufacturer | Part Number / Identification | Quantity | Remark |
|---|---|---|---|---|
| Standard workshop tools | LOCAL | Standard workshop tools | ||
| Hand grinder | LOCAL | Hand grinder | ||
| Resistance welding machine | LOCAL | Resistance welding machine | ||
| Penetrant Crack Test Equipment | LOCAL | Penetrant crack test equipment | ||
| IAE 3R18654 Top electrode | 0AM53 | IAE 3R18654 | 1 | |
| IAE 3R18656 Bottom electrode | 0AM53 | IAE 3R18656 | 1 |
Consumables, Materials and Expendables
NONESafety Requirements
NONEProcedure
Refer to the SPM TASK 70-11-01-300-503 SUBTASK 70-11-01-300-002.
Remove the grease from the lever and the new pin.
SUBTASK 72-41-34-110-058 Chemically Clean the Lever and the New Shoulder Pin
Install IAE 3R18654 Top electrode 1 off and IAE 3R18656 Bottom electrode 1 off in the resistance welding machine.
Hot squeeze rivet the pin to the lever.
Refer to the SPM TASK 70-39-02-390-501.
Hot squeeze rivet the pin to the lever.
SUBTASK 72-41-34-390-053 Hot Squeeze Rivet the Shoulder Pin to the Lever

CAUTION
DO NOT LET THE MATERIAL BECOME TOO HOT.NOTE
Make sure of the settings of the welding machine by first using applicable test pieces. Use a low voltage setting and the minimum quantity of heat necessary to make the rivet forge over. If too much heat is used the material will crack and oxidize.
Figure: Details of the VIGV lever assembly
Details of the VIGV lever assembly

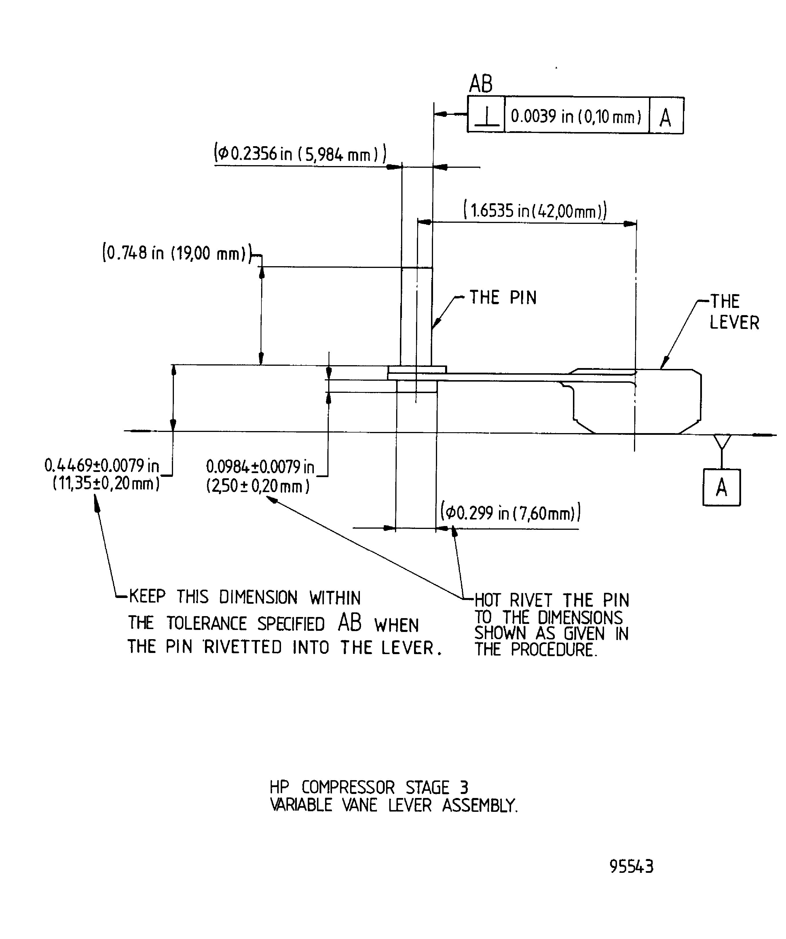
Figure: Details of the stage 3 lever assembly
Details of the stage 3 lever assembly

