Export Control
EAR Export Classification: Not subject to the EAR per 15 C.F.R. Chapter 1, Part 734.3(b)(3), except for the following Service Bulletins which are currently published as EAR Export Classification 9E991: SBE70-0992, SBE72-0483, SBE72-0580, SBE72-0588, SBE72-0640, SBE73-0209, SBE80-0024 and SBE80-0025.Copyright
© IAE International Aero Engines AG (2001, 2014 - 2021) The information contained in this document is the property of © IAE International Aero Engines AG and may not be copied or used for any purpose other than that for which it is supplied without the express written authority of © IAE International Aero Engines AG. (This does not preclude use by engine and aircraft operators for normal instructional, maintenance or overhaul purposes.).Applicability
All
Common Information
TASK 72-41-34-300-020 HPC Unison Ring Control Rod Connectors - Replace The Bushes (Stage 4 Through 6), Repair-020 (VRS6238)
Material of component
RR | ||
|---|---|---|
DESCRIPTION SYMBOL MATERIAL | ||
Variable stator vane | TAB | Titanium copper |
control rod connector | alloy | |
assembly, stage 4, 5 | ||
and 6 | ||
Bush | EAK | Modified 12 percent |
chromium steel | ||
General
This Repair must only be done when the instruction to do so is given in TASK 72-41-34 (INSPECTION).
This Repair instructs the replacement of standard or oversize bushes in the stage 4, 5 and 6 variable stator vane control rod connector assembly, as necessary.
The practices and processes referred to in the procedure by TASK/SUBTASK numbers are in the SPM.
Price and availability
Refer to International Aero Engines
NOTE
NOTE
NOTE
Preliminary Requirements
Pre-Conditions
NONESupport Equipment
| Name | Manufacturer | Part Number / Identification | Quantity | Remark |
|---|---|---|---|---|
| Standard workshop equipment | LOCAL | Standard workshop equipment | ||
| Penetrant Crack Test Equipment | LOCAL | Penetrant crack test equipment | ||
| Boring machine | LOCAL | Boring machine | ||
| Chemical cleaning equipment | LOCAL | Chemical cleaning equipment | ||
| Heat protection gloves | LOCAL | Heat protection gloves | ||
| Milling machine | LOCAL | Milling machine | ||
| Vibro-engraving equipment | LOCAL | Vibro-engraving equipment |
Consumables, Materials and Expendables
| Name | Manufacturer | Part Number / Identification | Quantity | Remark |
|---|---|---|---|---|
| CoMat 03-026 LIQUID NITROGEN | LOCAL | CoMat 03-026 |
Spares
| Name | Manufacturer | Part Number / Identification | Quantity | Remark |
|---|---|---|---|---|
| Bush - Standard - Assy A | 6A4361 | 2 | ||
| Bush - Oversize - Assy A | 6A4362 | 2 | (0.005in (0.127 mm)) | |
| Bush - Oversize - Assy A | 6A4363 | 2 | (0.010in (0.254 mm)) | |
| Bush - Standard - Assy B | 6A4361 | 2 | ||
| Bush - Oversize - Assy B | 6A4362 | 2 | (0.005in (0.127 mm)) | |
| Bush - Oversize - Assy B | 6A4363 | 2 | (0.010in (0.254 mm)) | |
| Bush - Standard - Assy C | 6A4361 | 2 | ||
| Bush - Oversize - Assy C | 6A4362 | 2 | (0.005in (0.127 mm)) | |
| Bush - Oversize - Assy C | 6A4363 | 2 | (0.010in (0.254 mm)) |
Safety Requirements
NONEProcedure
Refer to Step and machine oversize.
Cracked.
SUBTASK 72-41-34-220-233 Examine the Bush Location Bore(s)
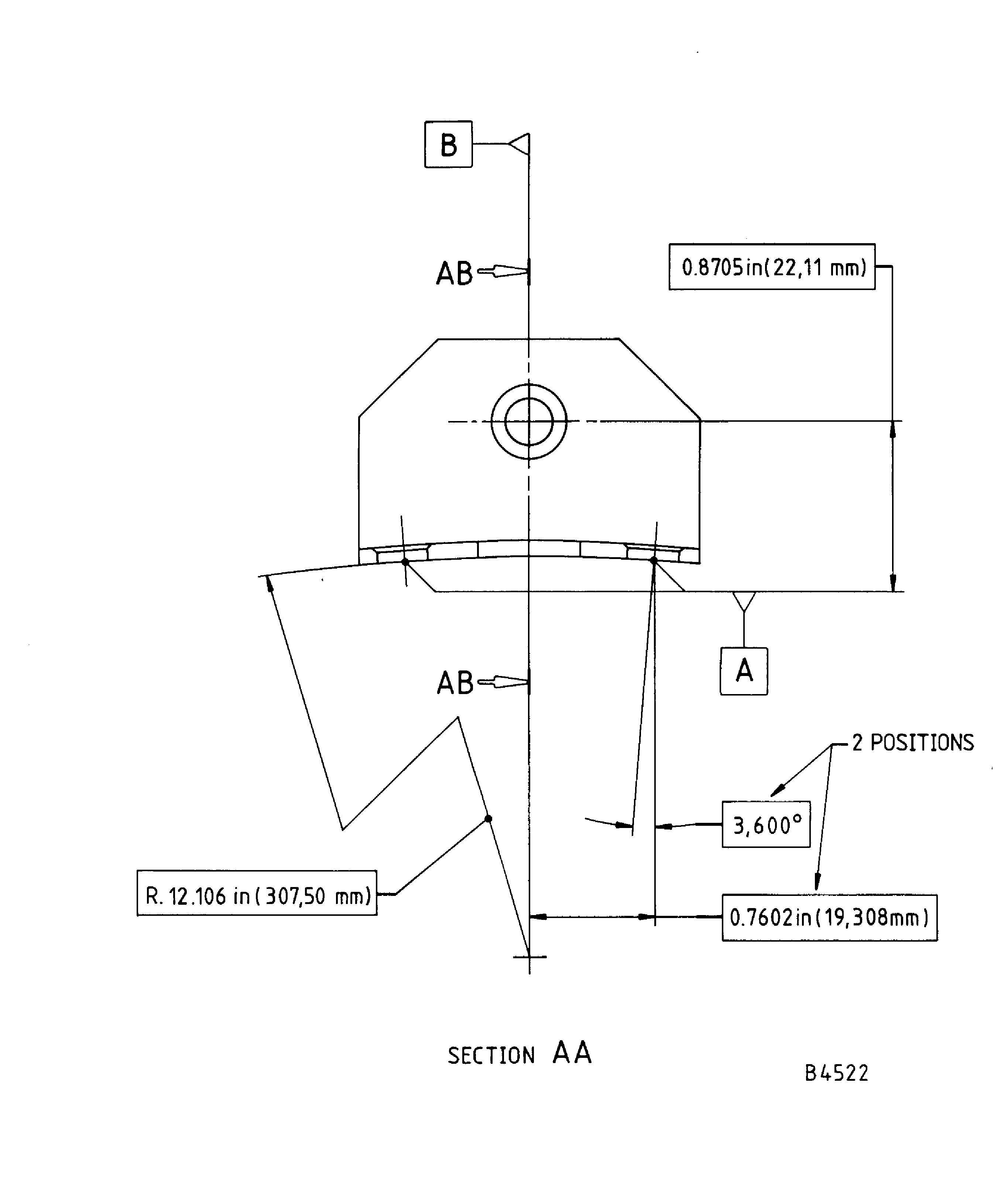
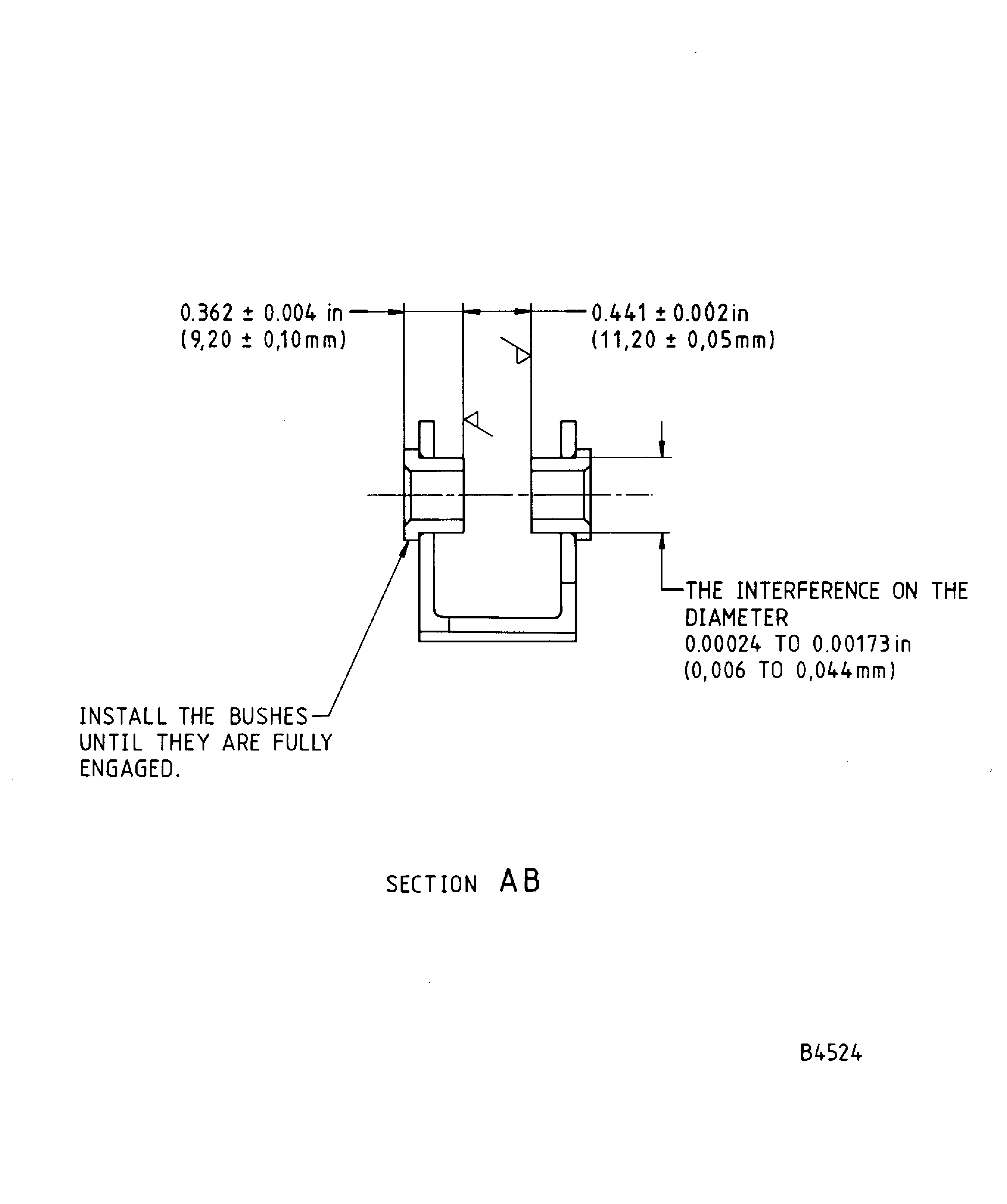
Figure: Repair details and dimensions - Assembly A
Repair details and dimensions - Assembly A

Figure: Repair details and dimensions - Assembly A
Repair details and dimensions - Assembly A

Figure: Repair details and dimensions - Assembly A
Repair details and dimensions - Assembly A

Figure: Repair details and dimensions - Assembly A
Repair details and dimensions - Assembly A

Figure: Repair details and dimensions - Assembly B
Repair details and dimensions - Assembly B

Figure: Repair details and dimensions - Assembly B
Repair details and dimensions - Assembly B

Figure: Repair details and dimensions - Assembly B
Repair details and dimensions - Assembly B

Figure: Repair details and dimensions - Assembly B
Repair details and dimensions - Assembly B

Figure: Repair details and dimensions - Assembly C
Repair details and dimensions - Assembly C

Figure: Repair details and dimensions - Assembly C
Repair details and dimensions - Assembly C

Figure: Repair details and dimensions - Assembly C
Repair details and dimensions - Assembly C

Figure: Repair details and dimensions - Assembly C
Repair details and dimensions - Assembly C

