Export Control
EAR Export Classification: Not subject to the EAR per 15 C.F.R. Chapter 1, Part 734.3(b)(3), except for the following Service Bulletins which are currently published as EAR Export Classification 9E991: SBE70-0992, SBE72-0483, SBE72-0580, SBE72-0588, SBE72-0640, SBE73-0209, SBE80-0024 and SBE80-0025.Copyright
© IAE International Aero Engines AG (2001, 2014 - 2021) The information contained in this document is the property of © IAE International Aero Engines AG and may not be copied or used for any purpose other than that for which it is supplied without the express written authority of © IAE International Aero Engines AG. (This does not preclude use by engine and aircraft operators for normal instructional, maintenance or overhaul purposes.).Applicability
All
Common Information
TASK 72-42-11-300-001 Diffuser Case - Replace The Gangnut Channel Assemblies, Repair-001 (VRS3025)
Effectivity
FIG/ITEM PART NO. | |
|---|---|
01-010 | 2A0051 |
01-010 | 2A3132 |
01-010 | 2A2081-01 |
01-010 | 2A2581-01 |
01-010 | 2A2883-01 |
01-010 | 2A2889-01 |
01-010 | 2A2896-01 |
01-010 | 2A2885-01 |
01-010 | 2A2891-01 |
01-010 | 2A2897-01 |
General
Price and availability - refer to IAE
The practices and processes referred to in the procedure by TASK numbers are in the SPM.
Preliminary Requirements
Pre-Conditions
NONESupport Equipment
NONEConsumables, Materials and Expendables
NONESpares
| Name | Manufacturer | Part Number / Identification | Quantity | Remark |
|---|---|---|---|---|
| Gangnut channel (2A0051, 2A2081-01, | 2A0997-01 | |||
| Gangnut channel (2A2581-01, 2A2885-01, | 2A0997-01 | |||
| Gangnut channel (2A0051, 2A2081-01, | 2A0999-01 | |||
| Gangnut channel (2A2581-01, 2A2885-01, | 2A0999-01 | |||
| Rivet | AN123471 | 10 |
Safety Requirements
NONEProcedure
Refer to: Figure
Drill out up to 10 rivets to remove the damaged gangnut channels.
NOTE
After you remove the rivets, some rivet holes in the diffuser case can be more than 0.100in. (2.54 mm) in diameter. This is the maximum diameter allowed for the Diffuser Case (72-42-11,01-120) rivets.
SUBTASK 72-42-11-350-052 Remove the Damaged Gangnut Channels from the Diffuser Case Rear Flange
Use the rivet holes in the diffuser case rear flange as guides to drill the rivet holes in the gangnut channels. Drill to the correct diameter for the (72-42-11, 01-120) rivets. If any hole in the diffuser case is measured larger than 0.100 inch (2.54 mm) in diameter follow the chart below to determine the correct rivet diameter/length. Refer to the SPM TASK 70-39-03-390-501. If the longer rivet does not fill the hole, use the next diameter rivet. Note max. rivet hole diameter allowed is 0.163 inch (4.14 mm).
Drill rivet holes in the new gangnut channels.
SUBTASK 72-42-11-350-053 Drill Rivet Holes in the New Gangnut Channels

CAUTION
KEEP THE USE OF 0.125IN. (3.125 MM) DIAMETER RIVETS TO A MINIMUM. A WELD REPAIR WILL BE NECESSARY AFTER CONTINUOUS USE OF THE LARGER DIAMETER RIVETS.Refer to: Figure
Refer to the SPM TASK 70-39-03-390-501.
Rivet the gangnut channels to the diffuser case rear flange.
SUBTASK 72-42-11-390-051 Rivet the New Gangnut Channels to the Diffuser Case Rear Flange
Refer to: Figure
SUBTASK 72-42-11-220-059 Examine the Gangnut Channels on the Diffuser Case
Figure: Replace the gangnut channels on the diffuser case (PN 2A0051, 2A2081-01, 2A2883-01, 2A2889-01 and 2A2896-01)
Sheet 1

Figure: Replace the gangnut channels on the diffuser case (PN 2A0051, 2A2081-01, 2A2883-01, 2A2889-01 and 2A2896-01)
Sheet 2

Figure: Replace the gangnut channels on the diffuser case (PN 2A2581-01, 2A2885-01, 2A2891-01 and 2A2897-01)
Sheet 3

Figure: Replace the gangnut channels on the diffuser case (PN 2A2581-01, 2A2885-01, 2A2891-01 and 2A2897-01)
Sheet 4

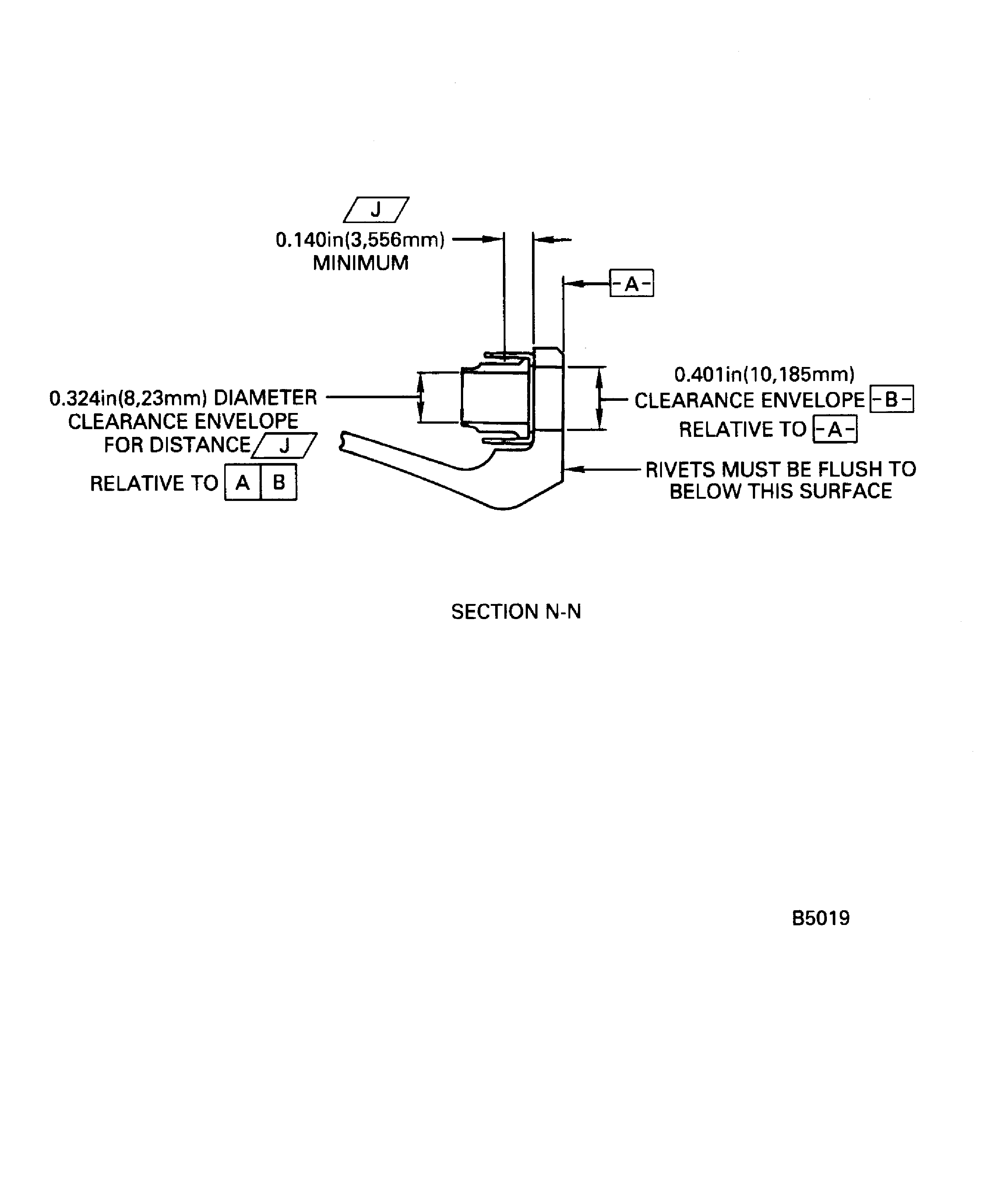
Figure: Examine the gangnut channels
Examine the gangnut channels

Figure: Rivet Options for Gangnut Channel Repair
Rivet Options for Gangnut Channel Repair

