DMC:V2500-A0-72-42-3302-00A-646A-CIssue No:002.00Issue Date:2014-08-01
Export Control
EAR Export Classification: Not subject to the EAR per 15 C.F.R. Chapter 1, Part 734.3(b)(3), except for the following Service Bulletins which are currently published as EAR Export Classification 9E991: SBE70-0992, SBE72-0483, SBE72-0580, SBE72-0588, SBE72-0640, SBE73-0209, SBE80-0024 and SBE80-0025.Copyright
© IAE International Aero Engines AG (2001, 2014 - 2021) The information contained in this document is the property of © IAE International Aero Engines AG and may not be copied or used for any purpose other than that for which it is supplied without the express written authority of © IAE International Aero Engines AG. (This does not preclude use by engine and aircraft operators for normal instructional, maintenance or overhaul purposes.).Applicability
All
Common Information
TASK 72-42-33-300-011 No. 4 Bearing Face Seal - Lap The No. 4 Bearing Face Seal, Repair-011 (VRS3083)
General
Price and availability
Refer to IAE
The practices and processes referred to in the procedure by the TASK numbers are in the SPM.
Preliminary Requirements
Pre-Conditions
NONESupport Equipment
NONEConsumables, Materials and Expendables
NONESpares
NONESafety Requirements
NONEProcedure
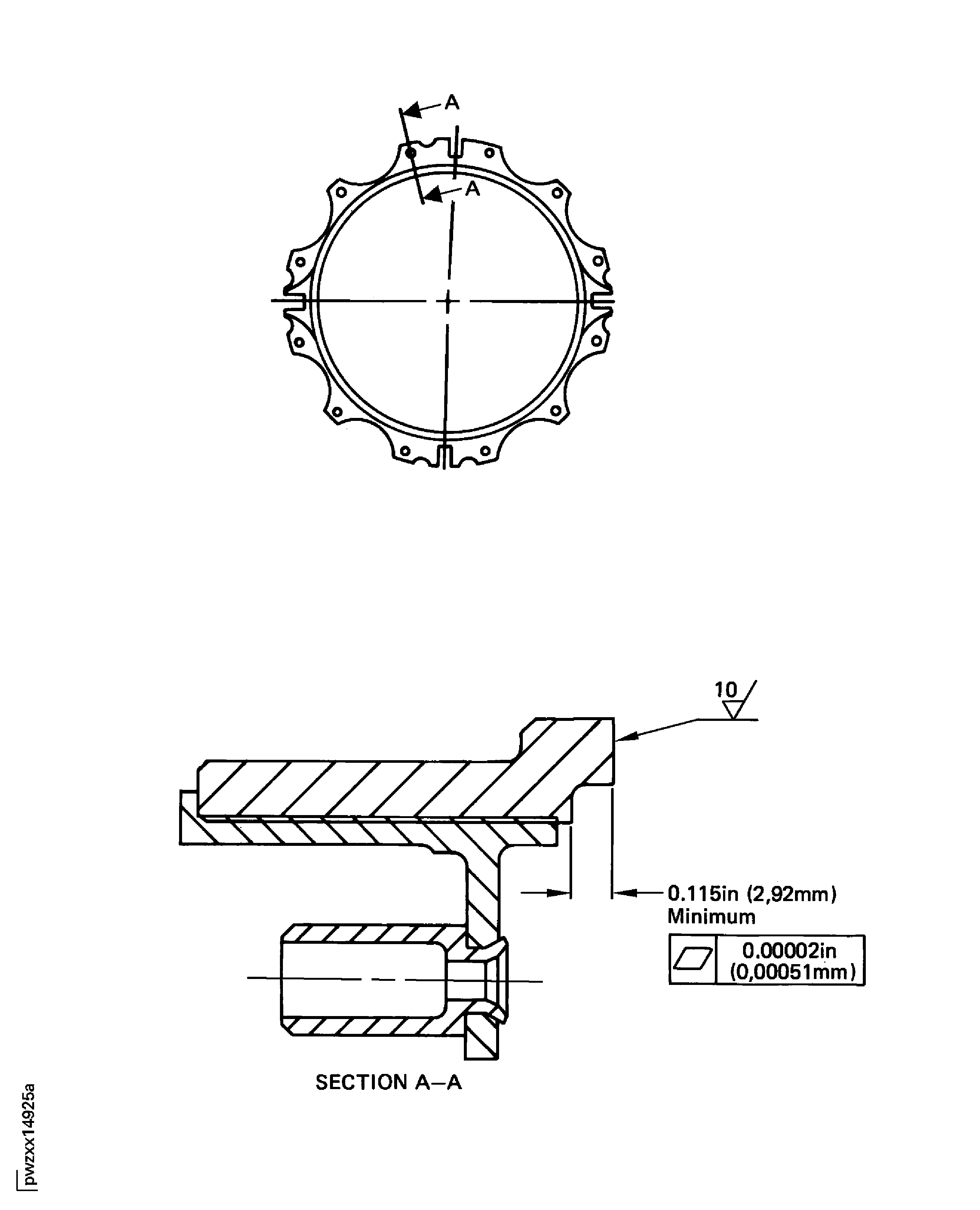
Refer to Figure.
Refer to the SPM TASK 70-11-18-300-503.
Lap the face seal.
SUBTASK 72-42-33-350-051 Lap the No. 4 Bearing Face Seal (01-220)
Refer to Figure.
If the height of the carbon seal lip is less than 0.115 in. (2.92 mm).
Refer to Repair, VRS3676 TASK 72-42-33-300-021 (REPAIR-021).
Examine the face seal for the height of the carbon seal lip.
SUBTASK 72-42-33-220-068 Examine the No. 4 Bearing Face Seal (01-220) after Lap Repair
Figure: Repair Details and Dimensions
Repair Details and Dimensions

