DMC:V2500-A0-72-44-1001-00A-920A-CIssue No:003.00Issue Date:2015-05-01
Export Control
EAR Export Classification: Not subject to the EAR per 15 C.F.R. Chapter 1, Part 734.3(b)(3), except for the following Service Bulletins which are currently published as EAR Export Classification 9E991: SBE70-0992, SBE72-0483, SBE72-0580, SBE72-0588, SBE72-0640, SBE73-0209, SBE80-0024 and SBE80-0025.Copyright
© IAE International Aero Engines AG (2001, 2014 - 2021) The information contained in this document is the property of © IAE International Aero Engines AG and may not be copied or used for any purpose other than that for which it is supplied without the express written authority of © IAE International Aero Engines AG. (This does not preclude use by engine and aircraft operators for normal instructional, maintenance or overhaul purposes.).Applicability
All
Common Information
TASK 72-44-10-300-002 HPT Stage 1 Support Assembly - Replace The Nuts, Repair-002 (VRS3272)
Effectivity
FIG/ITEM | PART NO. |
|---|---|
01-010 | 2A1292 |
01-010 | 2A1358 |
01-010 | 2A1664 |
01-010 | 2A2703 |
01-010 | 2A3360 |
01-010 | 2A4027 |
01-010 | 2A3367 |
01-010 | 2A3896 |
01-010 | 2A4085 |
General
Price and availability - refer to IAE.
The practices and processes referred to in the procedure by the TASK numbers are in the SPM.
Preliminary Requirements
Pre-Conditions
NONESupport Equipment
NONEConsumables, Materials and Expendables
NONESafety Requirements
NONEProcedure
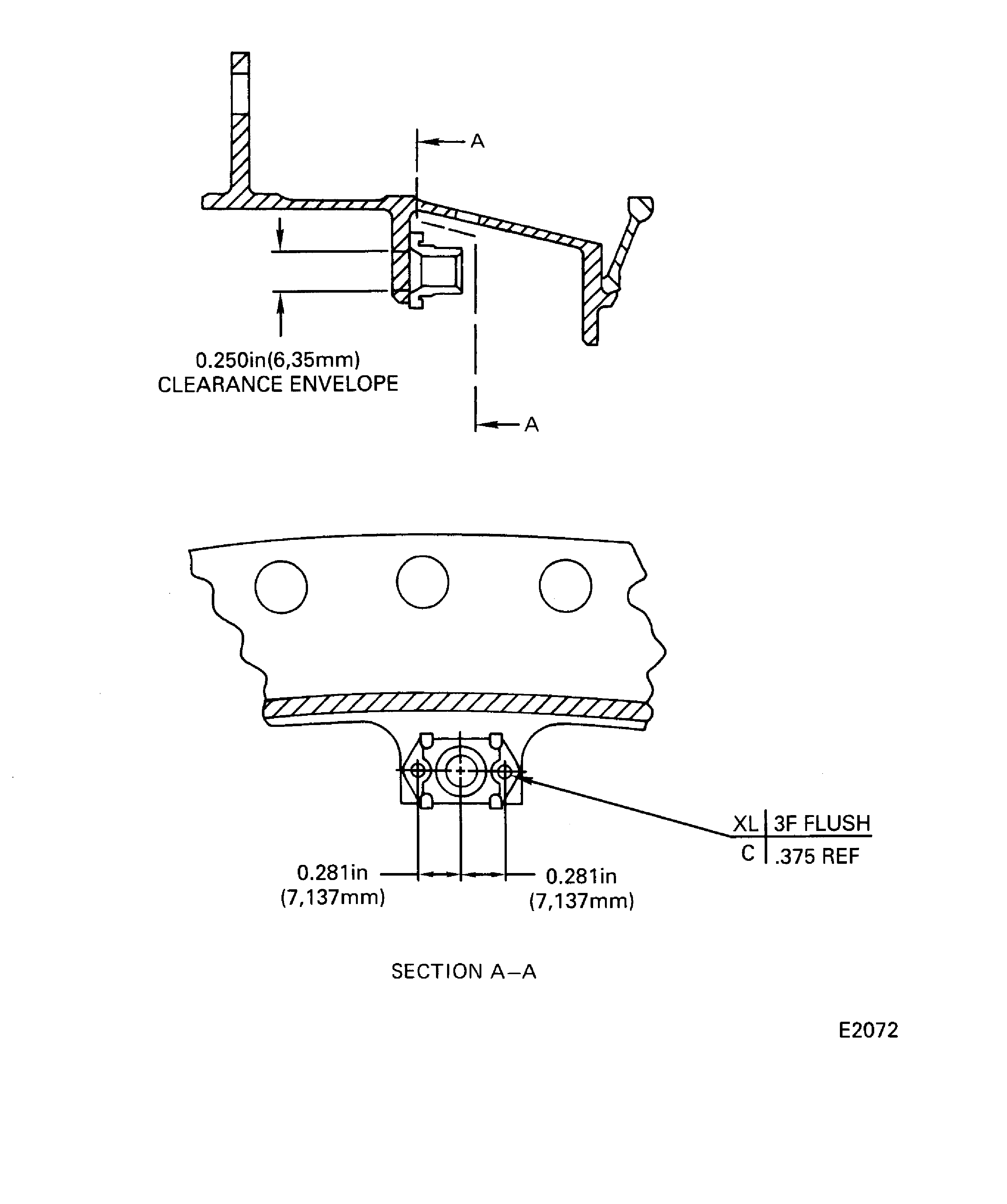
Refer to Figure.
Blend the head of the rivet and then punch out the remaining pieces of the rivets.
SUBTASK 72-44-10-350-056 Remove the Rivets from the Nuts
Refer to Figure and the SPM TASK 70-39-03-390-501.
Install new nuts with rivets.
SUBTASK 72-44-10-390-051 Install the New Nuts with Rivets
Refer to Figure. TASK 72-44-10-200-000 (INSPECTION-000).
Examine the support after you replace the nuts.
SUBTASK 72-44-10-220-097 Examine the Stage 1 HPT Support After Nut Replacement
Figure: Repair Details and Dimensions (PN2A1292, 2A1358 and 2A1664)
Sheet 1

Figure: Repair Details and Dimensions (PN 2A2703, 2A3360, 2A4027, 2A3367 and 2A3896)
Sheet 2

Figure: Repair Details and Dimensions (PN 2A4085)
Sheet 3

