Export Control
EAR Export Classification: Not subject to the EAR per 15 C.F.R. Chapter 1, Part 734.3(b)(3), except for the following Service Bulletins which are currently published as EAR Export Classification 9E991: SBE70-0992, SBE72-0483, SBE72-0580, SBE72-0588, SBE72-0640, SBE73-0209, SBE80-0024 and SBE80-0025.Copyright
© IAE International Aero Engines AG (2001, 2014 - 2021) The information contained in this document is the property of © IAE International Aero Engines AG and may not be copied or used for any purpose other than that for which it is supplied without the express written authority of © IAE International Aero Engines AG. (This does not preclude use by engine and aircraft operators for normal instructional, maintenance or overhaul purposes.).Applicability
All
Common Information
TASK 72-44-20-300-034 HPT Stage 1 Vane - Rear Foot Plasma Spray Repair, Repair-034 (VRS3592)
General
Price and Availability - Refer to IAE.
The practices and processes referred to in the procedure by the TASK number are in the SPM.
Preliminary Requirements
Pre-Conditions
NONESupport Equipment
| Name | Manufacturer | Part Number / Identification | Quantity | Remark |
|---|---|---|---|---|
| Portablegrinding equipment | LOCAL | Portable grinding equipment | ||
| Workshop inspection equipment | LOCAL | Workshop inspection equipment |
Consumables, Materials and Expendables
NONESpares
NONESafety Requirements
NONEProcedure
SUBTASK 72-44-20-320-056 Remove Plasma Spray from the Rear Foot of the Stage 1 HPT Vane Assembly
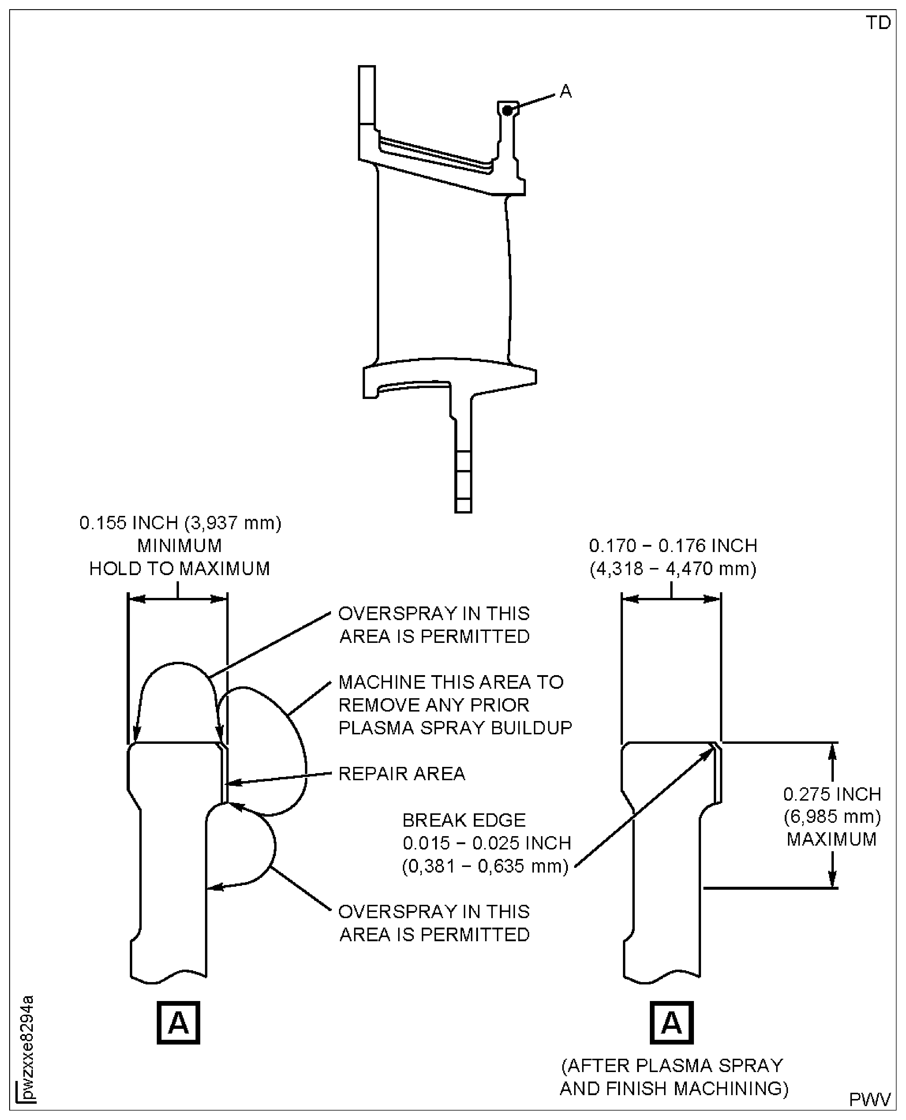
Apply coating to a thickness of 0.020 inch (0.508 mm).
Refer to Figure and the SPM TASK 70-34-03-340-501, IAE 53-18 or IAE 271-47.
Plasma spray the repair area of the rear foot.
SUBTASK 72-44-20-340-055 Plasma Spray the Rear Foot of the Stage 1 HPT Vane Cluster Assembly
For PN 2A2761 and 2A4201, refer to Figure. Machine the foot to a thickness of 0.170 to 0.176 in. (4.32 to 4.47 mm).
For PN 2A4271, refer to Figure. Machine the foot to a thickness of 0.231 to 0.241 in. (5.87 to 6.12 mm) and a finished coating thickness of 0.003 to 0.021 in. (0.08 to 0.53 mm). Use the foot thickness recorded at step 4.B. to calculate the final coating thickness.
Break the edges 0.015 to 0.025 in. (0.38 to 0.64 mm).
Set up and finish machine the rear foot after plasma.
SUBTASK 72-44-20-320-057 Machine the Rear Foot of the Stage 1 HPT Vane Assembly after Plasma Spray
Figure: Repair Details and Dimensions (PN 2A2761 and 2A4201 only)
Sheet 1

Figure: Repair Details and Dimensions (PN 2A4271 only)
Sheet 2

Figure: Repair Details and Dimensions (PN 2A4271 only)
Sheet 3

