Export Control
EAR Export Classification: Not subject to the EAR per 15 C.F.R. Chapter 1, Part 734.3(b)(3), except for the following Service Bulletins which are currently published as EAR Export Classification 9E991: SBE70-0992, SBE72-0483, SBE72-0580, SBE72-0588, SBE72-0640, SBE73-0209, SBE80-0024 and SBE80-0025.Copyright
© IAE International Aero Engines AG (2001, 2014 - 2021) The information contained in this document is the property of © IAE International Aero Engines AG and may not be copied or used for any purpose other than that for which it is supplied without the express written authority of © IAE International Aero Engines AG. (This does not preclude use by engine and aircraft operators for normal instructional, maintenance or overhaul purposes.).Applicability
All
Common Information
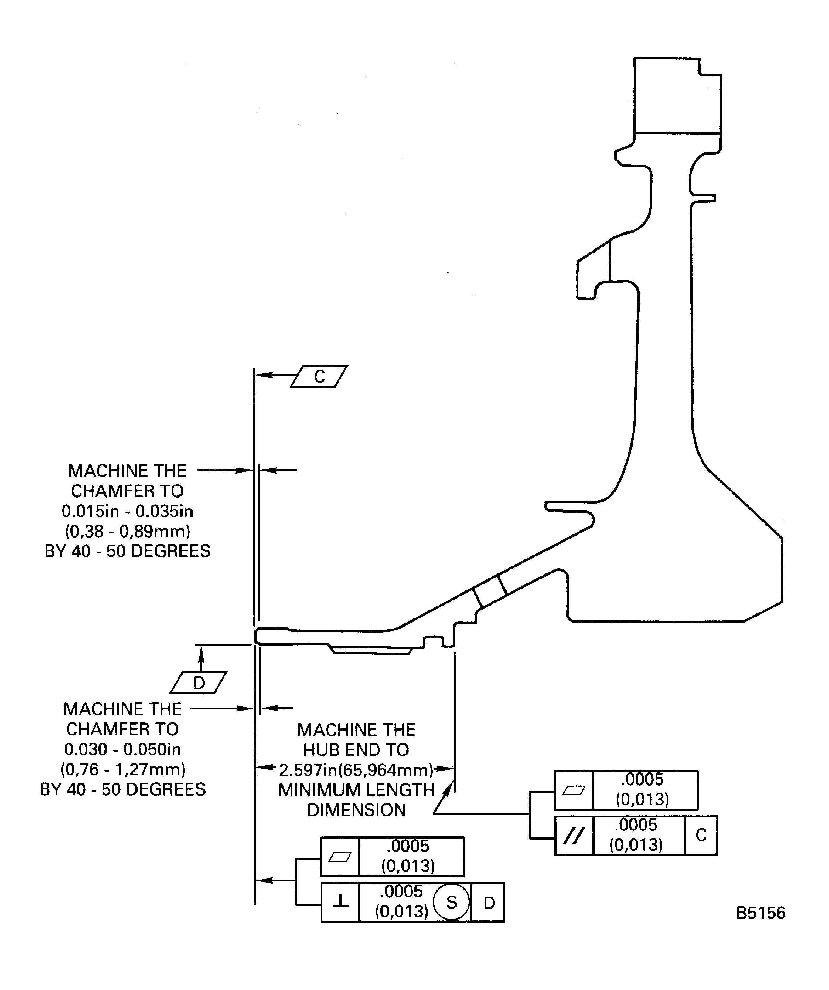
TASK 72-45-11-300-011 HPT Stage 1 Hub - Machine Repair The Hub Axial Length, Repair-011 (VRS3186)
General
The practices and processes referred to in the procedure by TASK number are in the SPM.
Price and availability - not applicable
Repair Facilities
The Source Demonstration requirements of this repair means that any facility not authorized to accomplish this repair either utilize the Authorized Repair Vendors listed below or contact IAE Repair Development Group to determine if a qualification program can be initiated at their facility.
IAE - INTERNATIONAL AERO ENGINES AG
400 Main St
East Hartford
CT 06108 USA
ATTN: Manager Repair Services
Authorized Repair Vendors for Repair VRS3186 are listed below:
Pratt and Whitney Aftermarket Services (PWAS)
East Hartford Engine and Component Center
Rotating Parts
400 Main Street, Well 14
East Hartford, CT 06108-0969
USA
Tel: (860) 565-4579
Fax: (860) 565-0349
Turbine Component Repair
Caval Tool Division
655 New Britain Ave
Newington, CT 06131 USA
MTU Maintenance GmbH
Airport Hanover
Munchner Strasse 31
30855 Langenhagen Germany
Ishikawajima - Harima Heavy Industries Co., Ltd.
Mizuho - Machi
Nishitama - Gun
Tokyo 190 -12
JAPAN
ATTN: Program Manager, V2500
The designation by IAE of an authorized repair vendor indicates that the repair vendor has demonstrated the necessary capability to enable it to carry out the listed repair work. However, IAE makes no warranties or representations concerning the qualifications or quality standards of the repair vendors to carry out the repair work, and accepts no responsibility whatsoever for any work that may be carried out by a repair vendor, other than when IAE is listed as the repair vendor. Authorized repair vendors do not act as agents or representatives of IAE.
Preliminary Requirements
Pre-Conditions
NONESupport Equipment
| Name | Manufacturer | Part Number / Identification | Quantity | Remark |
|---|---|---|---|---|
| Machining equipment | LOCAL | Machining equipment | ||
| Standard inspection equipment | LOCAL | Standard inspection equipment |
Consumables, Materials and Expendables
NONESpares
NONESafety Requirements
CAUTION
Procedure
Refer to Figure.
Set-up and machine the hub end surface to 2.597 in. (65.964 mm) minimum length to remove the damage.
Refer to Figure.
Machine the chamfer to 0.030 to 0.050 in. (0.76 to 1.127 mm) by 40 to 50 degrees.
Refer to Figure.
Machine the chamfer to 0.015 to 0.035 in. (0.38 to 0.89 mm) by 40 to 50 degrees.
SUBTASK 72-45-11-320-052 Machine the Hub Axial Length
Refer to Figure.
Examine the repaired surface.
SUBTASK 72-45-11-220-085 Examine the Repair Area
Make a permanent mark by the procedures given in the SPM TASK 70-09-00-400-501.
Use the vibration peen method.
Mark VRS3186 adjacent to the part number.
SUBTASK 72-45-11-350-054 Identify the Repair
Figure: Stage 1 turbine hub machine repair areas
Stage 1 turbine hub machine repair areas

