Export Control
EAR Export Classification: Not subject to the EAR per 15 C.F.R. Chapter 1, Part 734.3(b)(3), except for the following Service Bulletins which are currently published as EAR Export Classification 9E991: SBE70-0992, SBE72-0483, SBE72-0580, SBE72-0588, SBE72-0640, SBE73-0209, SBE80-0024 and SBE80-0025.Copyright
© IAE International Aero Engines AG (2001, 2014 - 2021) The information contained in this document is the property of © IAE International Aero Engines AG and may not be copied or used for any purpose other than that for which it is supplied without the express written authority of © IAE International Aero Engines AG. (This does not preclude use by engine and aircraft operators for normal instructional, maintenance or overhaul purposes.).Applicability
All
Common Information
TASK 72-50-22-200-001-E00 LPT Stage 7 Vane - Examine The Stage 7 Turbine Vanes
General
This TASK gives the procedure for the inspection of the Stage 7 turbine vanes.
Before you do this inspection refer to TASK 72-50-32-200-010-A00.
Fig/item numbers in parentheses in the procedure agree with those used in the EIPC.
The policy that is necessary for inspection is given in the SPM TASK 70-20-00-200-501.
All parts must be cleaned before any part is examined. Refer to the TASK 72-50-22-100-000.
All parts must be visually examined for damage, corrosion and wear. Any defects that are not identified in the procedure must be referred to IAE.
The procedure for those parts which must have a crack test is given in Step. Do the crack test before the part is visually examined.
Do not discard any part until you are sure there are no repairs available. Refer to the instructions in Repair before a discarded part is used again or oversize parts are installed.
Parts which should be discarded can be held although no repair is available. The repair of a discarded part could be shown to be necessary at a later date.
All parts must be examined to make sure that all the repairs have been completed satisfactorily.
The practices and processes referred to in the procedure by the TASK numbers are in the SPM.
References
Refer to the SPM for data on these items.
Definitions of Damage, SPM TASK 70-02-02-350-501.
Record and Control of the Lives of Parts, SPM TASK 70-05-00-220-501.
Inspection of Parts, SPM TASK 70-20-00-200-501.
Some data on these items is contained in this TASK. For more data on these items refer to the SPM.
Method of testing for crack indications
Chemical processes
Surface protection
Preliminary Requirements
Pre-Conditions
NONESupport Equipment
NONEConsumables, Materials and Expendables
NONESpares
NONESafety Requirements
NONEProcedure
Clean the parts. Refer to TASK 72-50-22-100-000.
Refer to Repair, VRS4434 TASK 72-50-22-300-098 (REPAIR-098).
Not more than 0.010 in. (0.25 mm) maximum depth.
Refer to Repair, VRS4626 TASK 72-50-22-300-156 (REPAIR-156).
More than in Step but not more than 0.010 in. (0.25 mm) maximum width and 0.0787 in. (2.00 mm) length except Area A10
Cracked inner or outer platforms in Area A9
Refer to Repair, VRS4626 TASK 72-50-22-300-156 (REPAIR-156).
Not more than 0.010 in. (0.25 mm) maximum width and 0.0787 in. (2.00 mm) maximum length
Cracked airfoils in Areas A1 to A8 except Areas A2 and A5
Refer to Repair, VRS4626 TASK 72-50-22-300-156 (REPAIR-156).
Not more than 0.010 in. (0.25 mm) maximum width and 0.0787 in. (2.00 mm) maximum length on one airfoil only
Cracked airfoils in Areas A2 and A5
Do the tests for cracks on the part that are given below. Use the applicable penetrant procedure.
PART IDENT TASK/SUBTASK
Stage 7 turbine vanes
SUBTASK 72-50-22-230-001 Examine the Stage 7 Turbine Vanes for Cracks
Refer to Figure.
Refer to Repair, VRS 4434 TASK 72-50-22-300-098 (REPAIR-098) or Repair, VRS4626 TASK 72-50-22-300-156 (REPAIR-156).
Nicked, dented, pitted
Examine the surface in Area A1
Refer to Repair, VRS4626 TASK 72-50-22-300-156 (REPAIR-156).
Nicked, dented, pitted
Examine the surface in Area A2
Refer to Repair, VRS 4434 TASK 72-50-22-300-098 (REPAIR-098) or Repair, VRS4626 TASK 72-50-22-300-156 (REPAIR-156).
More than in Step.
Nicked, dented, pitted in Area A3.1
Refer to Repair, VRS 4434 TASK 72-50-22-300-098 (REPAIR-098) or Repair, VRS4626 TASK 72-50-22-300-156 (REPAIR-156).
Nicked, dented, pitted in Area A3.2
Examine the surface in Area A3
Refer to Repair, VRS 4434 TASK 72-50-22-300-098 (REPAIR-098) or Repair, VRS4626 TASK 72-50-22-300-156 (REPAIR-156).
More than in Step.
Nicked, dented, pitted in Area A4.1
Refer to Repair, VRS 4434 TASK 72-50-22-300-098 (REPAIR-098) or Repair, VRS4626 TASK 72-50-22-300-156 (REPAIR-156).
Nicked, dented, pitted in Area A4.2
Examine the surface in Area A4
Refer to Repair, VRS 4434 TASK 72-50-22-300-098 (REPAIR-098) or Repair, VRS4626 TASK 72-50-22-300-156 (REPAIR-156).
Nicked, dented, pitted
Examine the surface in Area A5
Refer to Repair, VRS 4434 TASK 72-50-22-300-098 (REPAIR-098) or Repair, VRS4626 TASK 72-50-22-300-156 (REPAIR-156).
Nicked, dented, pitted
Examine the surface in Area A6
Refer to Repair, VRS4626 TASK 72-50-22-300-156 (REPAIR-156).
Nicked, dented, pitted
Examine the surface in Area A7
Refer to Repair, VRS 4434 TASK 72-50-22-300-098 (REPAIR-098) or Repair, VRS4626 TASK 72-50-22-300-156 (REPAIR-156).
Nicked, dented, pitted
Examine the surface in Area A8
Refer to Repair, VRS 4434 TASK 72-50-22-300-098 (REPAIR-098) or Repair, VRS4626 TASK 72-50-22-300-156 (REPAIR-156).
More than in Step.
Nicked, dented, pitted
Examine the surface in Area A9
SUBTASK 72-50-22-220-001 Examine the Stage 7 Turbine Vanes in Area A1 to A9 for Surface Damage
Refer to Repair, VRS4583 TASK 72-50-22-300-132 (REPAIR-132).
Any quantity unbonded from the vane
Unbonded
Refer to Repair, VRS4583 TASK 72-50-22-300-132 (REPAIR-132).
More than in Step.
Rub damaged
SUBTASK 72-50-22-220-002 Examine the Stage 7 Turbine Vanes Inner Honeycomb Seal
Refer to Repair, VRS4584 TASK 72-50-22-300-133 (REPAIR-133).
Any quantity unbonded from the vane
Unbonded
Accept
Smooth wear pattern, 0.394 in. (10.00 mm) maximum width and 0.060 in. (1.50 mm) maximum depth
Refer to Repair, VRS4584 TASK 72-50-22-300-133 (REPAIR-133).
More than in Step.
Rub damaged
SUBTASK 72-50-22-220-003 Examine the Stage 7 Turbine Vanes Outer Honeycomb Seal
Reject
More than in Step.
Fretted
SUBTASK 72-50-22-220-004 Examine the Inner and the Outer Platform End Faces of the Stage 7 Turbine Vanes for Wear
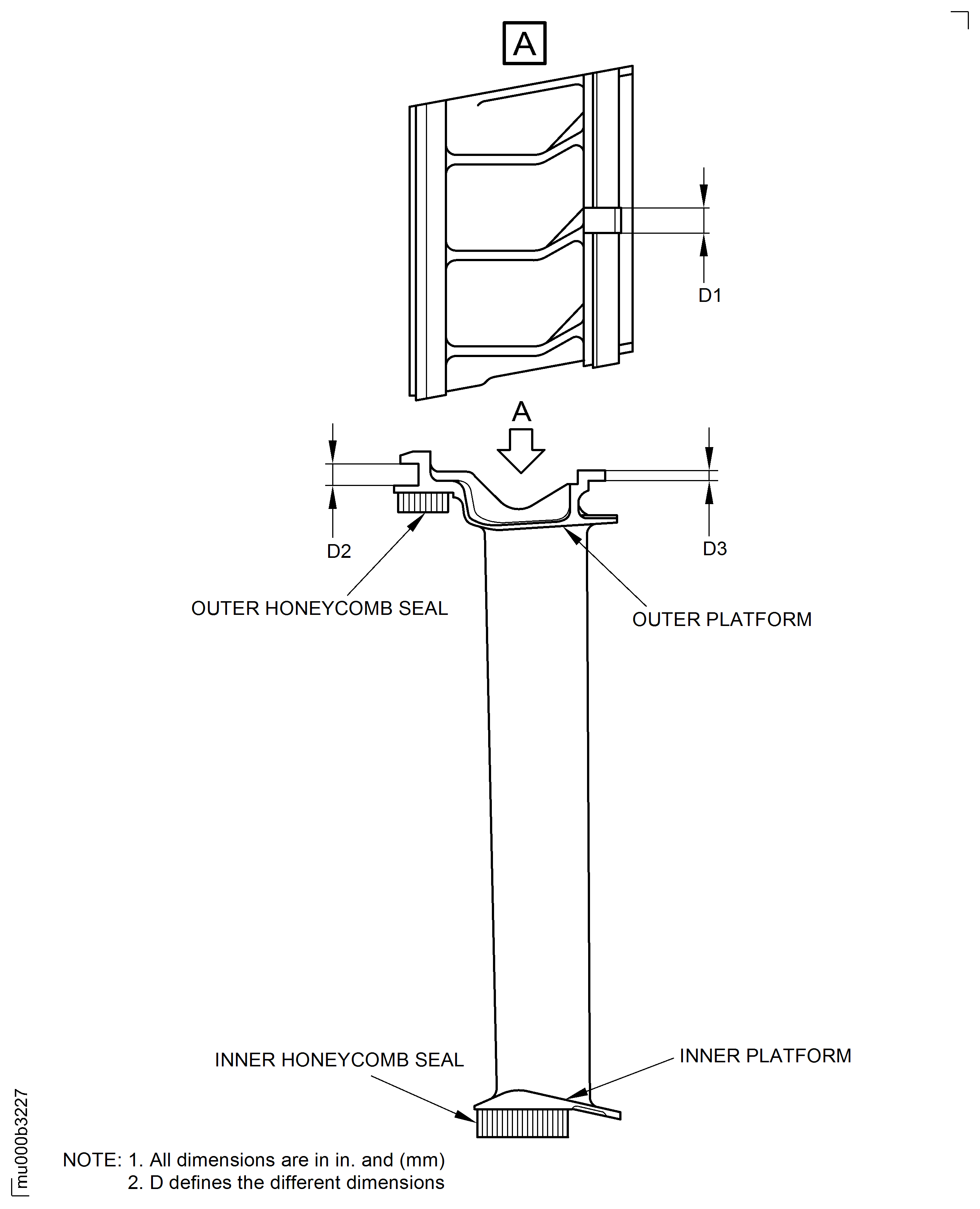
Refer to Figure.
Refer to Repair, VRS4436 TASK 72-50-22-300-100 (REPAIR-100).
Less than in Step.
Worn, measure Dimension D1
SUBTASK 72-50-22-220-005 Examine the Stage 7 Turbine Vanes at Dimension D1 for Wear
Refer to Figure.
Refer to Repair, VRS4626 TASK 72-50-22-300-156 (REPAIR-156).
More than in Step but not more than 0.2567 in. (6.52 mm)
Worn, measure Dimension D2
SUBTASK 72-50-22-220-006 Examine the Stage 7 Turbine Vanes at Dimension D2 for Wear
Refer to Figure.
Refer to Repair, VRS4626 TASK 72-50-22-300-156 (REPAIR-156).
Less than in Step but not less than 0.1094 in. (2.78 mm)
Worn, measure Dimension D3
SUBTASK 72-50-22-220-007 Examine the Stage 7 Turbine Vanes at Dimension D3 for Wear
Figure: Examine The Stage 7 Turbine Vanes
Examine The Stage 7 Turbine Vanes

Figure: Examine The Stage 7 Turbine Vanes
Examine The Stage 7 Turbine Vanes

