Export Control
EAR Export Classification: Not subject to the EAR per 15 C.F.R. Chapter 1, Part 734.3(b)(3), except for the following Service Bulletins which are currently published as EAR Export Classification 9E991: SBE70-0992, SBE72-0483, SBE72-0580, SBE72-0588, SBE72-0640, SBE73-0209, SBE80-0024 and SBE80-0025.Copyright
© IAE International Aero Engines AG (2001, 2014 - 2021) The information contained in this document is the property of © IAE International Aero Engines AG and may not be copied or used for any purpose other than that for which it is supplied without the express written authority of © IAE International Aero Engines AG. (This does not preclude use by engine and aircraft operators for normal instructional, maintenance or overhaul purposes.).Applicability
All
Common Information
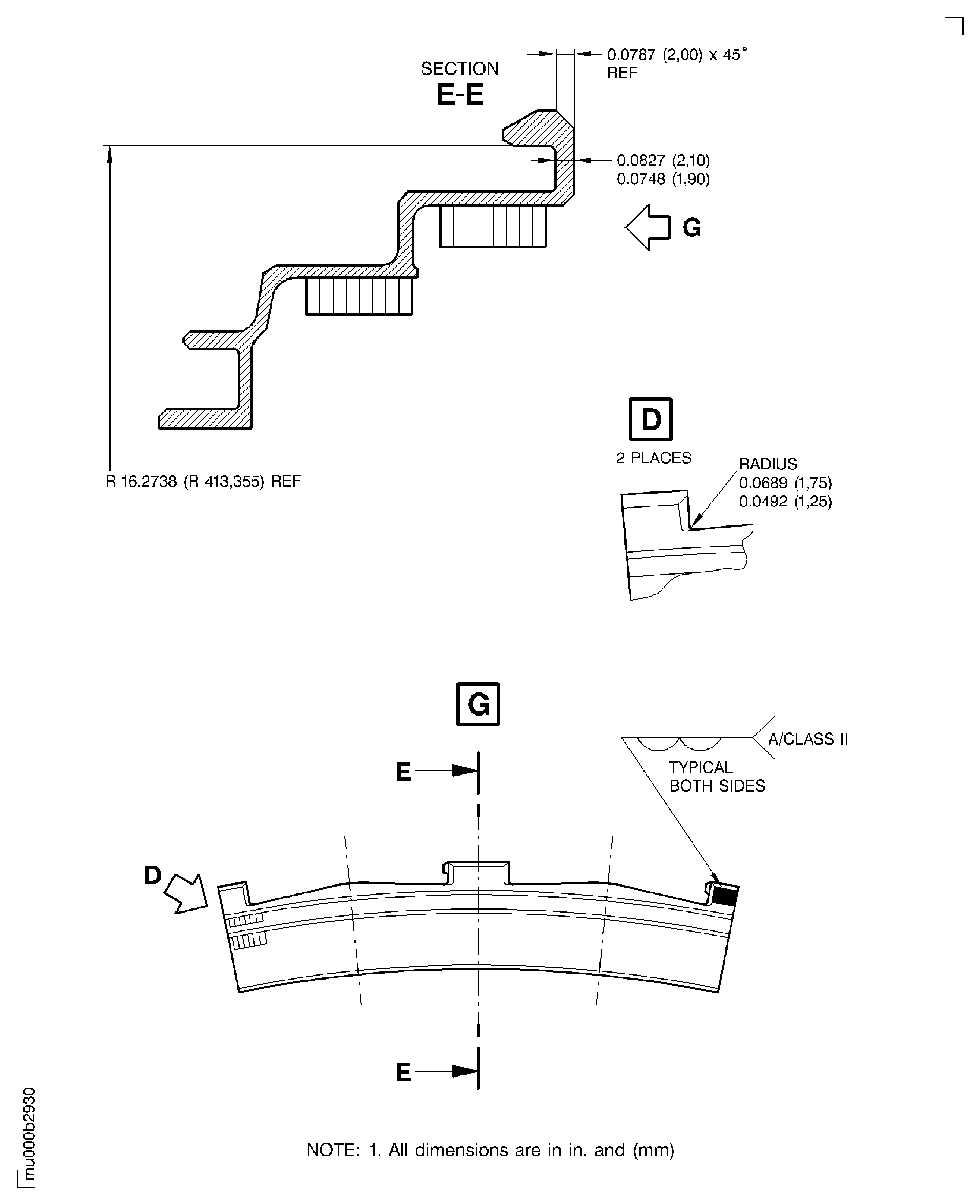
TASK 72-50-23-300-062 Weld Repair the Rear Faces of the Stage 3 Shroud Seal Segment, Repair 062 (VRS4559)
General
Price and availability - none
The practices and processes referred to in the procedure by the TASK numbers are in the SPM.
NOTE
NOTE
NOTE
Preliminary Requirements
Pre-Conditions
NONESupport Equipment
| Name | Manufacturer | Part Number / Identification | Quantity | Remark |
|---|---|---|---|---|
| Hand held grinder | LOCAL | Hand held grinder | ||
| IAE 3M14421 Grinding/turningfixture | 0AM53 | IAE 3M14421 | 1 |
Consumables, Materials and Expendables
| Name | Manufacturer | Part Number / Identification | Quantity | Remark |
|---|---|---|---|---|
| CoMat 03-287 WELDING FILLER WIRE | LOCAL | CoMat 03-287 |
Spares
NONESafety Requirements
NONEProcedure
Refer to the SPM TASK 70-11-03-300-503.
Aqueous cleaning.
SUBTASK 72-50-23-110-169 Clean the Stage 3 Shroud Seal Segment
Refer to Figure.
Refer to the SPM TASK 70-31-13-310-501. Make sure that there is sufficient material to do last machining.
Use CoMat 03-287 WELDING FILLER WIRE. To prevent honeycomb braze damage, several weld passes should be made. Prevent too much temperature build-up.
Gas tungsten arc weld the worn surfaces.
SUBTASK 72-50-23-310-099 Weld Repair the Worn Surfaces
Refer to Figure.
Use cold work.
Make sure that the shroud seal segment aligns with the IAE 3M14421 Grinding/turningfixture 1 off.
Bend the shroud seal segment back to shape if required.
SUBTASK 72-50-23-320-093 Dress the Welded Areas

CAUTION
DO NOT OVERHEAT THE AREAS WHICH ARE DRESSED.Refer to Figure.
Examine dimensionally.
SUBTASK 72-50-23-220-179 Examine the Machined Areas
Refer to the SPM TASK 70-11-03-300-503.
Aqueous cleaning.
SUBTASK 72-50-23-110-170 Clean the Stage 3 Shroud Seal Segment
Figure: Repair Details and Dimensions
Repair Details and Dimensions

