Export Control
EAR Export Classification: Not subject to the EAR per 15 C.F.R. Chapter 1, Part 734.3(b)(3), except for the following Service Bulletins which are currently published as EAR Export Classification 9E991: SBE70-0992, SBE72-0483, SBE72-0580, SBE72-0588, SBE72-0640, SBE73-0209, SBE80-0024 and SBE80-0025.Copyright
© IAE International Aero Engines AG (2001, 2014 - 2021) The information contained in this document is the property of © IAE International Aero Engines AG and may not be copied or used for any purpose other than that for which it is supplied without the express written authority of © IAE International Aero Engines AG. (This does not preclude use by engine and aircraft operators for normal instructional, maintenance or overhaul purposes.).Applicability
All
Common Information
TASK 72-50-30-040-001 LPT Stage 7 Rotor Assembly - Disassemble, Disassembly-001
General
Fig/item numbers in parentheses in the procedure agree with those used in the IPC. Only the primary Fig/item numbers are used. For the service bulletin alpha variants refer to the IPC.
Apply the approved penetrating oil before the removal of threaded parts. Let the parts soak before removal. For the approved oils and procedures, refer to the SPM TASK 70-64-00-640-501.
Remove and discard the lockwire before parts are disconnected or removed.
Discard all rubber seal rings, cotter pins and keywashers removed in this procedure.
Refer to TASK 72-50-00-990-501 (72-50-00 DESCRIPTION AND OPERATION) for a sectional view of the LP turbine disk and blades.
NOTE
Preliminary Requirements
Pre-Conditions
NONESupport Equipment
| Name | Manufacturer | Part Number / Identification | Quantity | Remark |
|---|---|---|---|---|
| Mallet | LOCAL | Mallet | Soft head | |
| IAE 1F10026 Hydraulic hand pump | 0AM53 | IAE 1F10026 | 1 | |
| IAE 1M14043 Hydraulic basic fixture | 0AM53 | IAE 1M14043 | ||
| IAE 1M14079 Plastic wedge | 0AM53 | IAE 1M14079 | 1 | |
| IAE 1M14090 Clamping jaw | 0AM53 | IAE 1M14090 | 6 | |
| IAE 1M14153 Assy/disassy stand | 0AM53 | IAE 1M14153 | 1 | |
| IAE 1M14154 Assy/disassy stand | 0AM53 | IAE 1M14154 | 1 | |
| IAE 1M14155 Clamping ring | 0AM53 | IAE 1M14155 | 1 | |
| IAE 1M14156 Lifting fixture | 0AM53 | IAE 1M14156 | 1 | |
| IAE 1M14464 Hydraulic basic fixture | 0AM53 | IAE 1M14464 | 1 | |
| IAE 1M14364 Clamping jaw | 0AM53 | IAE 1M14364 | 6 |
Consumables, Materials and Expendables
NONESpares
NONESafety Requirements
NONEProcedure
Refer to Figure.
Put the IAE 1M14043 Hydraulic basic fixture 1 off on to a work bench. The IAE 1M14043 Hydraulic basic fixture must only be used for stage 7 turbine disks with P/N 3A0717 and 3A1987.
Remove the support, part of the IAE 1M14043 Hydraulic basic fixture, from the IAE 1M14043 Hydraulic basic fixture.
Loosen fully the six nuts which attach the six clamps of the IAE 1M14043 Hydraulic basic fixture.
SUBTASK 72-50-30-040-051-001 Prepare the Hydraulic Basic Fixture to Install the Stage 7 Disk
Refer to Figure.
Put the IAE 1M14464 Hydraulic basic fixture 1 off on to a work bench. The IAE 1M14464 Hydraulic basic fixture must only be used for the stage 7 turbine disks with P/N 3A2424, 3A2512, and 3A2514.
Remove the support, part of the IAE 1M14464 Hydraulic basic fixture, from the IAE 1M14464 Hydraulic basic fixture.
Loosen fully the six nuts which attach the six clamps of the IAE 1M14464 Hydraulic basic fixture.
SUBTASK 72-50-30-040-051-002 Prepare the Hydraulic Basic Fixture to Install the Stage 7 Disk
Refer to Figure.
Install the two halves of the IAE 1M14155 Clamping ring 1 off to the stage 7 disk.
Attach the IAE 1M14155 Clamping ring with the hand knob.
SUBTASK 72-50-30-040-052 Install the Clamping Ring on to the Stage 7 Disk
Install the IAE 1M14156 Lifting fixture 1 off to hoist equipment.
Install the IAE 1M14156 Lifting fixture to the IAE 1M14155 Clamping ring and lift the stage 7 disk. Turn the stage 7 disk, air seal in upper position.
Move the stage 7 disk in position above the IAE 1M14043 Hydraulic basic fixture or IAE 1M14464 Hydraulic basic fixture.
Lower the stage 7 disk carefully in to the IAE 1M14043 Hydraulic basic fixture or IAE 1M14464 Hydraulic basic fixture. Lower until the rear face of the disk aligns on to the centering rod.
Remove the IAE 1M14156 Lifting fixture and the hoist equipment from the IAE 1M14155 Clamping ring.
Tighten the six nuts to attach the stage 7 disk in to the IAE 1M14043 Hydraulic basic fixture or IAE 1M14464 Hydraulic basic fixture.
SUBTASK 72-50-30-040-053 Install the Stage 7 Disk in to the Hydraulic Basic Fixture
Install the connector of the IAE 1F10026 Hydraulic hand pump 1 off to the coupler, part of the hydraulic cylinder.
Open the hydraulic valve at the IAE 1M14043 Hydraulic basic fixture or IAE 1M14464 Hydraulic basic fixture.
Operate the IAE 1F10026 Hydraulic hand pump to get the pivot in the upper position.
Close the hydraulic valve at the IAE 1M14043 Hydraulic basic fixture or IAE 1M14464 Hydraulic basic fixture and disconnect the IAE 1F10026 Hydraulic hand pump.
SUBTASK 72-50-30-040-054 Prepare the Hydraulic Basic Fixture for the Installation of the Support
Refer to Figure.
Align the center hole of the support, part of IAE 1M14043 Hydraulic basic fixture 1 off with the pivot. Install the support.
SUBTASK 72-50-30-040-055-001 Install the Support on to the Hydraulic Basic Fixture
Refer to Figure.
Align the center hole of the support, part of the IAE 1M14464 Hydraulic basic fixture 1 off with the pivot. Install the support.
SUBTASK 72-50-30-040-055-002 Install the Support on to the Hydraulic Basic Fixture
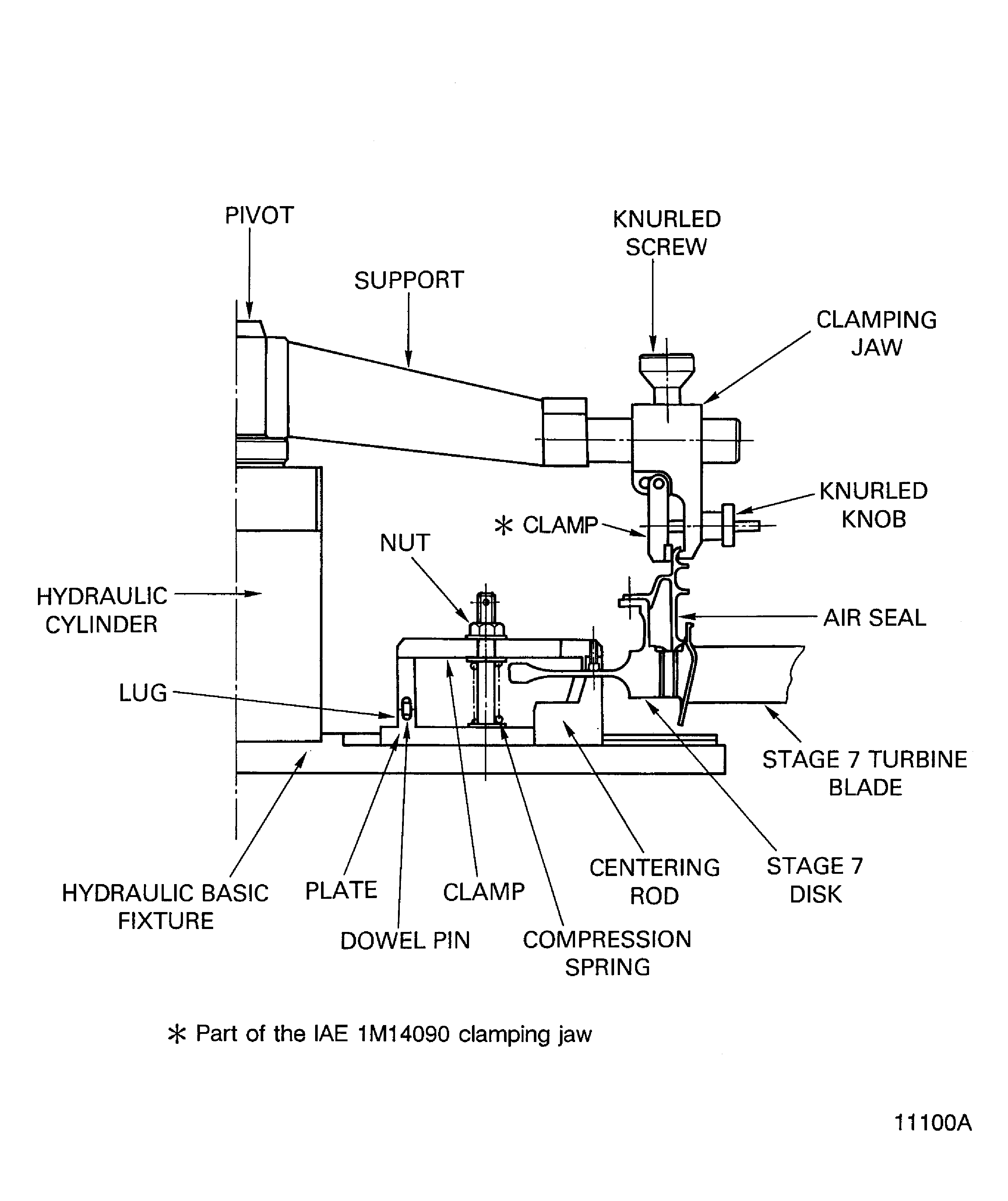
Refer to Figure.
Turn the knurled screws of the IAE 1M14090 Clamping jaw 6 off fully outwards. Install the IAE 1M14090 Clamping jaw to the support.
Engage the IAE 1M14090 Clamping jaw carefully to the support.
Open the hydraulic valve at the IAE 1M14043 Hydraulic basic fixture and let the support move downwards. Lower the jaws until they are in correct alignment with the stage 7 air seal upper lip.
Move the six IAE 1M14090 Clamping jaw inwards until they are in correct contact with the stage 7 air seal outer diameter.
Tighten the knurled knobs of the IAE 1M14090 Clamping jaw until the spring-loaded clamps are fully closed.
Tighten the knurled screws to secure the IAE 1M14090 Clamping jaw at the support.
Install the connector of the IAE 1F10026 Hydraulic hand pump 1 off to the coupler, part of the hydraulic cylinder.
SUBTASK 72-50-30-040-056-A00 V2500-A1 Install the Clamping Ring on to the Support (Pre SBE 72-0003)
Refer to Figure.
SBE 72-0003: LP turbine stage 7 air seal weight reduced
Turn the knurled screws of the IAE 1M14364 Clamping jaw 6 off fully outwards. Install the IAE 1M14364 Clamping jaw to the support.
Engage the IAE 1M14364 Clamping jaw carefully to the support.
Open the hydraulic valve at the IAE 1M14043 Hydraulic basic fixture and let the support move downwards. Lower the jaws until they are in correct alignment with the stage 7 air seal upper lip.
Move the six IAE 1M14364 Clamping jaw inwards until they are in correct contact with the stage 7 air seal outer diameter.
Tighten the knurled knobs of the IAE 1M14364 Clamping jaw until the spring-loaded clamps are fully closed.
Tighten the knurled screws to secure the IAE 1M14364 Clamping jaw at the support.
Install the connector of the IAE 1F10026 Hydraulic hand pump 1 off to the coupler, part of the hydraulic cylinder.
SUBTASK 72-50-30-040-056-B00 V2500-A1 Install the Clamping Jaws on to the Support (SBE 72-0003)
Refer to Figure.
Turn the knurled screws of the IAE 1M14364 Clamping jaw 6 off fully outwards. Install the IAE 1M14364 Clamping jaw to the support.
Engage the IAE 1M14364 Clamping jaw carefully to the support.
Open the hydraulic valve at the IAE 1M14464 Hydraulic basic fixture and let the support move downwards. Lower the jaws until they are in correct alignment with the stage 7 air seal upper lip.
Move the six IAE 1M14364 Clamping jaw inwards until they are in correct contact with the stage 7 air seal outer diameter.
Tighten the knurled knobs of the IAE 1M14364 Clamping jaw until the spring-loaded clamps are fully closed.
Tighten the knurled screws to secure the IAE 1M14364 Clamping jaw at the support.
Install the connector of the IAE 1F10026 Hydraulic hand pump to the coupler, part of the hydraulic cylinder.
SUBTASK 72-50-30-040-056-C00 V2500-A5 Install the Clamping Jaws on to the Support
Refer to Figure.
Operate the IAE 1F10026 Hydraulic hand pump carefully until the air seal is free from the stage 7 disk abutment face.
Open the hydraulic valve at the IAE 1M14043 Hydraulic basic fixture. Lower the support with the stage 7 air seal carefully until the air seal is in contact with the stage 7 disk.
Close the hydraulic valve and disconnect the IAE 1F10026 Hydraulic hand pump from the IAE 1M14043 Hydraulic basic fixture 1 off.
SUBTASK 72-50-30-040-057-A00 V2500-A1 Remove the Air Seal from the Stage 7 Disk
Refer to Figure.
Operate the IAE 1F10026 Hydraulic hand pump carefully until the air seal is free from the stage 7 disk abutment face.
Open the hydraulic valve at the IAE 1M14464 Hydraulic basic fixture. Lower the support with the stage 7 air seal carefully until the air seal is in contact with the stage 7 disk.
Close the hydraulic valve and disconnect the IAE 1F10026 Hydraulic hand pump from the IAE 1M14464 Hydraulic basic fixture 1 off.
SUBTASK 72-50-30-040-057-B00 V2500-A5 Remove the Air Seal from the Stage 7 Disk
Refer to Figure.
Loosen the knurled knobs of the IAE 1M14090 Clamping jaw until the spring-loaded clamps are fully opened.
Loosen the six knurled screws of the IAE 1M14090 Clamping jaw. Move the IAE 1M14090 Clamping jaw outwards and remove them from the support.
Remove the support from the IAE 1M14043 Hydraulic basic fixture 1 off.
Remove the stage 7 air seal from the IAE 1M14043 Hydraulic basic fixture. Put it down on the work bench or in a storage box.
SUBTASK 72-50-30-040-058-A00 V2500-A1 Remove the Jaws from the Stage 7 Air Seal (Pre SBE 72-0003)
Refer to Figure.
SBE 72-0003: LP turbine stage 7 air seal weight reduced
Loosen the knurled knobs of the IAE 1M14364 Clamping jaw until the spring-loaded clamps are fully opened.
Loosen the six knurled screws of the IAE 1M14364 Clamping jaw. Move the IAE 1M14364 Clamping jaw outwards and remove them from the support.
Remove the support from the IAE 1M14043 Hydraulic basic fixture 1 off.
Remove the stage 7 air seal from the IAE 1M14043 Hydraulic basic fixture. Put it down on the work bench or in a storage box.
SUBTASK 72-50-30-040-058-B00 V2500-A1 Remove the Jaws from the Stage 7 Air Seal (SBE 72-0003)
Refer to Figure.
Loosen the knurled knobs of the IAE 1M14364 Clamping jaw 6 off until the spring-loaded clamps are fully opened.
Loosen the six knurled screws of the IAE 1M14364 Clamping jaw. Move the IAE 1M14364 Clamping jaw outwards and remove them from the support.
Remove the support from the IAE 1M14464 Hydraulic basic fixture 1 off.
Remove the stage 7 air seal from the IAE 1M14464 Hydraulic basic fixture. Put it down on the work bench or in a storage box.
SUBTASK 72-50-30-040-058-C00 V2500-A5 Remove the Jaws from the Stage 7 Air Seal
Refer to Figure.
Install the IAE 1M14156 Lifting fixture 1 off to hoist equipment.
NOTE
The IAE 1M14153 Assy/disassy stand 1 off must only be used for stage 7 disks with P/N 3A0717 and 3A1987.
The IAE 1M14154 Assy/disassy stand 1 off must only be used for stage 7 disks with P/N 3A2424, 3A2512 and 3A2514.
Install the IAE 1M14156 Lifting fixture to the IAE 1M14155 Clamping ring and lift the stage 7 disk.
Make sure that you use the correct locating ring of the IAE 1M14153 Assy/disassy stand or IAE 1M14154 Assy/disassy stand for the stage 7 disks.
Lower the stage 7 disk on to the IAE 1M14153 Assy/disassy stand or IAE 1M14154 Assy/disassy stand, rear flange upwards.
Remove the IAE 1M14156 Lifting fixture and the hoist equipment.
SUBTASK 72-50-30-040-059 Remove the Stage 7 Disk from the Hydraulic Basic Fixture
Refer to Figure.
Loosen the hand knobs and disconnect the single acting ball lock pins at the IAE 1M14155 Clamping ring 1 off.
Remove the two halves of the IAE 1M14155 Clamping ring from the stage 7 disk.
SUBTASK 72-50-30-040-060 Remove the Clamping Ring from the Stage 7 Disk
Lightly hit the blades at the blade roots. Operate stepwise and in clockwise direction to disengage the blades. Use the IAE 1M14079 Plastic wedge 1 off and soft headed Mallet.
SUBTASK 72-50-30-040-061 Remove the Stage 7 Turbine Blades from the Disk
Figure: Turn the Stage 7 Disk with the Clamping Ring
Turn the Stage 7 Disk with the Clamping Ring

Figure: V2500-A1 Pre SBE72-0003 Install the Stage 7 Turbine Disk in to the Hydraulic Basic Fixture
V2500-A1 Pre SBE72-0003 Install the Stage 7 Turbine Disk in to the Hydraulic Basic Fixture

Figure: V2500-A1 SBE 72-0003 and V2500-A5 Install the Stage 7 Turbine Disk in to the Hydraulic Basic Fixture
V2500-A1 SBE 72-0003 and V2500-A5 Install the Stage 7 Turbine Disk in to the Hydraulic Basic Fixture

Figure: Remove the Stage 7 Turbine Blades from the Stage 7 Turbine Disk with P/N 3A0717 and P/N 3A1987
Remove the Stage 7 Turbine Blades from the Stage 7 Turbine Disk with P/N 3A0717 and P/N 3A1987

Figure: Remove the Stage 7 Turbine Blades from the Stage 7 Turbine Disk with P/N 3A2424, 3A2512, and 3A2514
Remove the Stage 7 Turbine Blades from the Stage 7 Turbine Disk with P/N 3A2424, 3A2512, and 3A2514

