Export Control
EAR Export Classification: Not subject to the EAR per 15 C.F.R. Chapter 1, Part 734.3(b)(3), except for the following Service Bulletins which are currently published as EAR Export Classification 9E991: SBE70-0992, SBE72-0483, SBE72-0580, SBE72-0588, SBE72-0640, SBE73-0209, SBE80-0024 and SBE80-0025.Copyright
© IAE International Aero Engines AG (2001, 2014 - 2021) The information contained in this document is the property of © IAE International Aero Engines AG and may not be copied or used for any purpose other than that for which it is supplied without the express written authority of © IAE International Aero Engines AG. (This does not preclude use by engine and aircraft operators for normal instructional, maintenance or overhaul purposes.).Applicability
All
Common Information
TASK 72-50-31-200-006 LPT Stage 3, 4, 5, 6, 7 Disks - Examine, Inspection-006
Effectivity
All Stage 3 to 7 Turbine Disks
FIG/ITEM | PART NO. |
|---|---|
01-200 | 3A0713 |
01-200 | 3A2151 |
01-200 | 3A2428 |
01-200 | 3A2508 |
01-200 | 3A2513 |
01-150 | 3A0794 |
01-150 | 3A1984 |
01-100 | 3A0795 |
01-100 | 3A1665 |
01-100 | 3A2153 |
01-100 | 3A2430 |
01-050 | 3A0066 |
01-050 | 3A1986 |
01-050 | 3A2996 |
01-010 | 3A0717 |
01-010 | 3A1987 |
01-010 | 3A2424 |
01-010 | 3A2512 |
01-010 | 3A2514 |
General
This TASK gives the procedure for the inspection of the stage 3 to 7 turbine disks.
Fig/item numbers in parentheses in the procedure agree with those used in the IPC.
The policy that is necessary for inspection is given in the SPM TASK 70-20-00-200-501.
All parts must be cleaned before any part is examined. Refer to the TASK 72-50-31-100-000 (CLEANING-000).
The practices and processes referred to in the procedure by the TASK numbers are in the SPM.
References
Refer to SPM for data on these items
Definition of Damage, SPM TASK 70-02-02-350-501
Record and Control of the Lives of Parts, SPM TASK 70-05-00-220-501
Inspection of Parts, SPM TASK 70-20-00-200-501
Some data on these items are contained in this TASK. For more data on these items refer to the SPM.
Method of Testing for Crack indications
Chemical Processes
Surface Protection
Preliminary Requirements
Pre-Conditions
NONESupport Equipment
NONEConsumables, Materials and Expendables
NONESpares
NONESafety Requirements
NONEProcedure
Clean the parts. Refer to TASK 72-50-31-100-000 (CLEANING-000).
NOTE
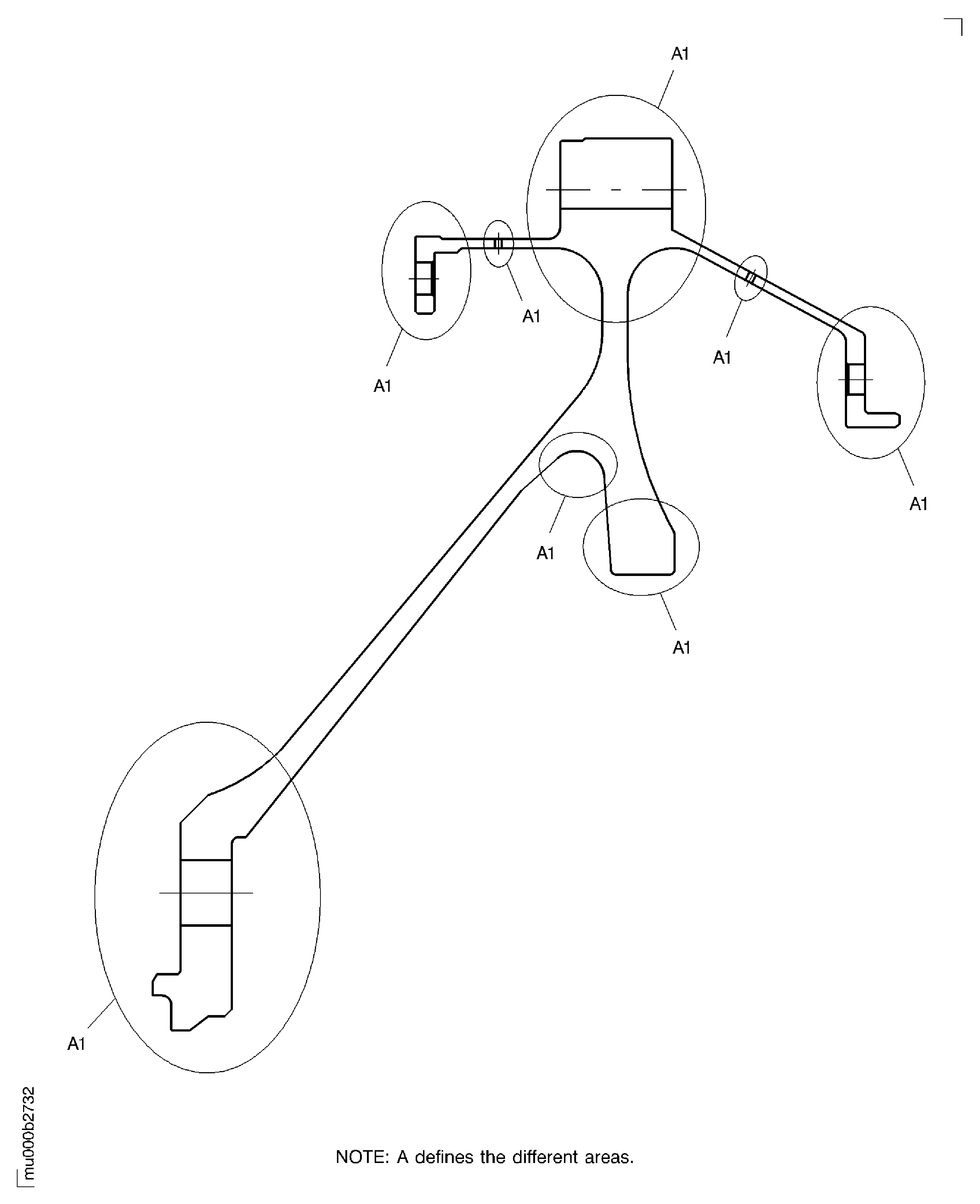
Make a careful inspection, specially A1 areas, they are the areas for the crack test.
SUBTASK 72-50-31-230-097 Do a Crack Test on the Stage 3 to Stage 7 Turbine Disks (Fluorescent Penetrant)
Figure: Important Crack Inspection Areas Typical Figure for all Stage 3 Turbine Disks
Important Crack Inspection Areas Typical Figure for all Stage 3 Turbine Disks

Figure: Important Crack Inspection Areas Typical Figure for all Stage 4 Turbine Disks
Important Crack Inspection Areas Typical Figure for all Stage 4 Turbine Disks

Figure: Important Crack Inspection Areas Typical Figure for all Stage 5 Turbine Disks
Important Crack Inspection Areas Typical Figure for all Stage 5 Turbine Disks

Figure: Important Crack Inspection Areas Typical Figure for all Stage 6 Turbine Disks
Important Crack Inspection Areas Typical Figure for all Stage 6 Turbine Disks

Figure: Important Crack Inspection Areas Typical Figure for all Stage 7 Turbine Disks
Important Crack Inspection Areas Typical Figure for all Stage 7 Turbine Disks

