Export Control
EAR Export Classification: Not subject to the EAR per 15 C.F.R. Chapter 1, Part 734.3(b)(3), except for the following Service Bulletins which are currently published as EAR Export Classification 9E991: SBE70-0992, SBE72-0483, SBE72-0580, SBE72-0588, SBE72-0640, SBE73-0209, SBE80-0024 and SBE80-0025.Copyright
© IAE International Aero Engines AG (2001, 2014 - 2021) The information contained in this document is the property of © IAE International Aero Engines AG and may not be copied or used for any purpose other than that for which it is supplied without the express written authority of © IAE International Aero Engines AG. (This does not preclude use by engine and aircraft operators for normal instructional, maintenance or overhaul purposes.).Applicability
All
Common Information
TASK 72-50-32-300-043 LPT Stage 4 Blade - Strip And Recoat The Aluminide Coating, Repair-043 (VRS4296)
General
Price and availability - none
Only one strip and recoat repair is permitted per part. A plus marking adjacent to the part number shows that the part was repaired before.
Repair Facilities
The proprietary nature of this repair requires that any facility not authorized to accomplish this repair either utilize the Authorized Repair Vendors listed below or contact the IAE Repair Development Group to determine if a qualification program can be initiated at their facility.
IAE International Aero Engines AG
c/o Rolls-Royce Deutschland Ltd und Co KG
Eschenweg 11
Dahlewitz
15827 Blankenfelde-Mahlow
Germany
ATTN: Manager Technical Services
Authorized repair vendors for VRS4296 TASK 72-50-32-300-043 (REPAIR-043) are listed below:
MTU AERO ENGINES GMBH
Dachauer Strasse 665
80995 Muenchen
Germany
TURBINE OVERHAUL SERVICES PTE LTD
No.5 Tuas Drive 2
SINGAPORE 638639
IHI Corporation
229 Tonogaya Mizuho-Machi
Nishitama-Gun
Tokyo 190-1297
Japan
Tel: 81-42-568-7362
Fax: 81-42-568-7566
ATTN: CUSTOMER SUPPORT MANAGER, MAINTENANCE DEPARTMENT, CIVIL AERO-ENGINE DIVISION, AERO-ENGINE AND SPACE OPERATIONS
ASSB Airfoil Services Sdn Bhd
508 Jalan Teluk Pulai 27/88
4000 Shah Alam
Selangor Darul Ehsan
Malaysia
The designation by IAE of an authorized vendor indicates that the repair vendor has demonstrated the necessary capability to enable him to carry out the listed repair work. However, IAE make no warranties or representations concerning the qualifications or quality standards of the repair vendors to carry out the repair work and accepts no responsibility whatsoever for any work that may be carried out by a repair vendor, other than when IAE is listed as the repair vendor. Authorized repair vendors do not act as agents or representatives of IAE.
Preliminary Requirements
Pre-Conditions
NONESupport Equipment
NONEConsumables, Materials and Expendables
NONESpares
NONESafety Requirements
NONEProcedure
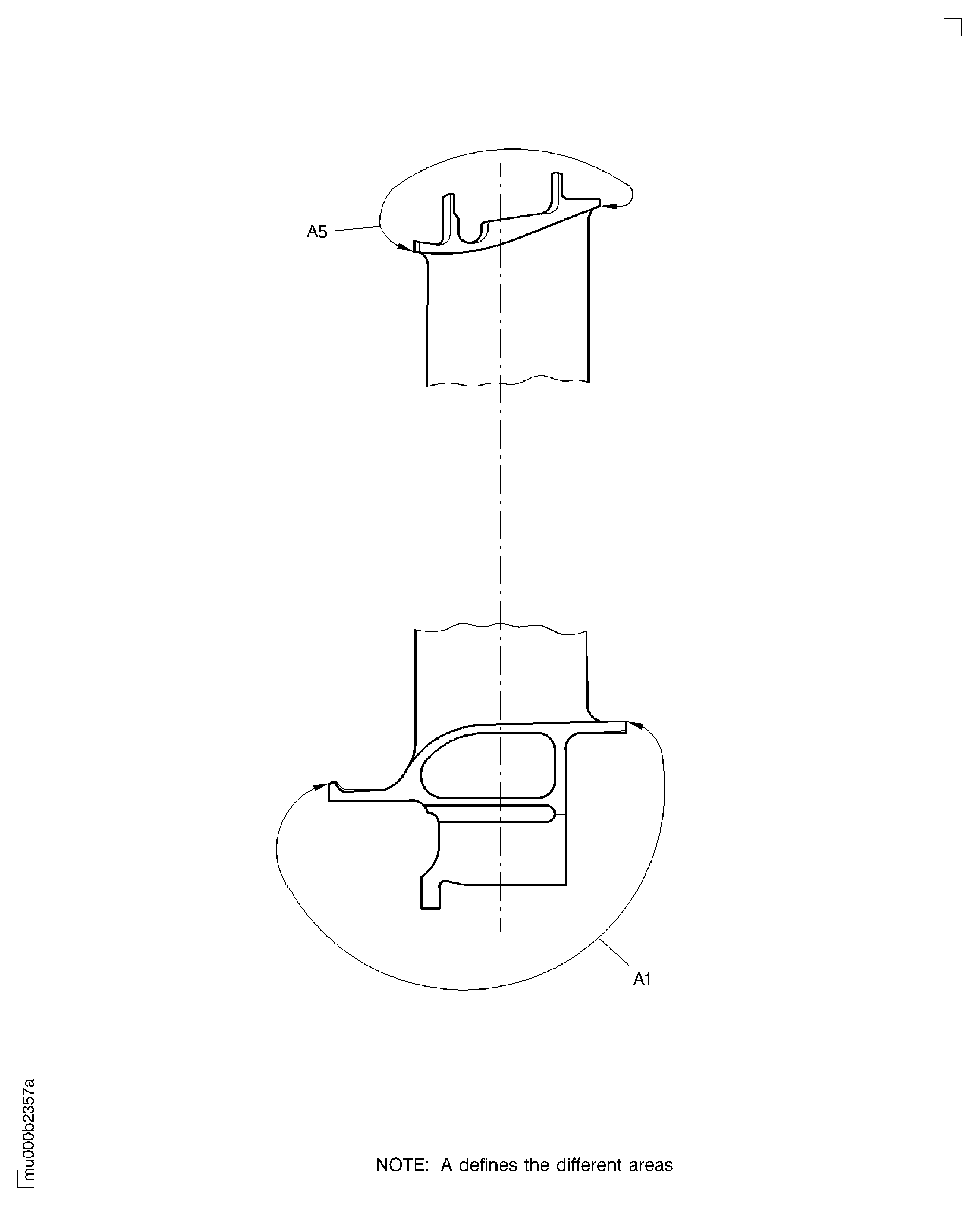
Figure: Repair Details and Dimensions
Repair Details and Dimensions

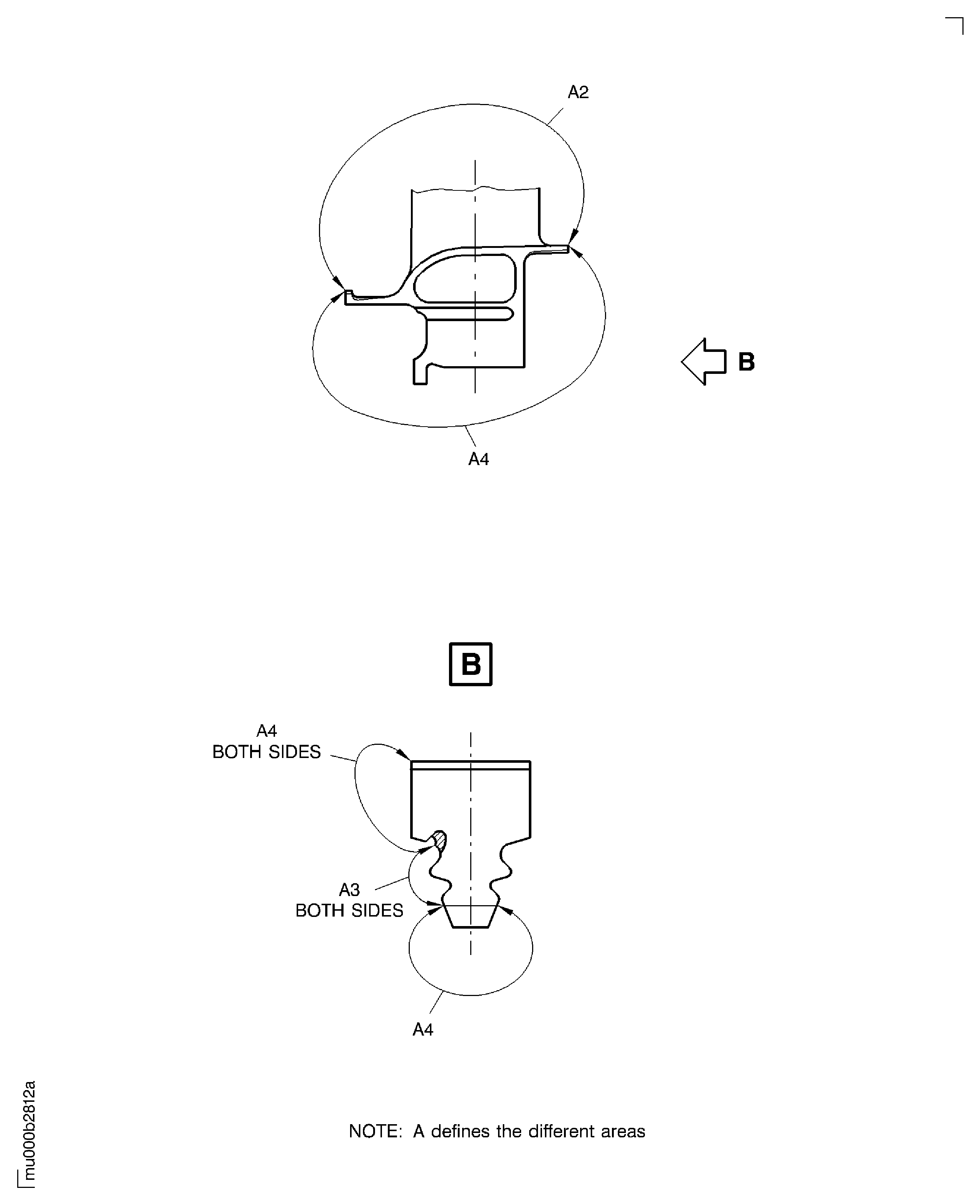
Figure: Repair Details and Dimensions
Repair Details and Dimensions

