DMC:V2500-A0-72-50-4101-00A-609A-CIssue No:003.00Issue Date:2020-05-01
Export Control
EAR Export Classification: Not subject to the EAR per 15 C.F.R. Chapter 1, Part 734.3(b)(3), except for the following Service Bulletins which are currently published as EAR Export Classification 9E991: SBE70-0992, SBE72-0483, SBE72-0580, SBE72-0588, SBE72-0640, SBE73-0209, SBE80-0024 and SBE80-0025.Copyright
© IAE International Aero Engines AG (2001, 2014 - 2021) The information contained in this document is the property of © IAE International Aero Engines AG and may not be copied or used for any purpose other than that for which it is supplied without the express written authority of © IAE International Aero Engines AG. (This does not preclude use by engine and aircraft operators for normal instructional, maintenance or overhaul purposes.).Applicability
All
Common Information
TASK 72-50-41-300-011 LPT Shaft - Replace The Corrosion Resistant Coating, Repair-011 (VRS1495)
General
Price and availability - not applicable
The practices and processes referred to in the procedure by the TASK numbers are in the SPM.
NOTE
To identify the consumable materials refer to the PCI.
Preliminary Requirements
Pre-Conditions
NONESupport Equipment
| Name | Manufacturer | Part Number / Identification | Quantity | Remark |
|---|---|---|---|---|
| Spray equipment | LOCAL | Spray equipment | ||
| Batch oven | LOCAL | Batch oven | ||
| Vibrating Marking Pencil | LOCAL | Vibrating Marking Pencil | ||
| Glass bead blasting equipment | LOCAL | Glass bead blasting equipment |
Consumables, Materials and Expendables
| Name | Manufacturer | Part Number / Identification | Quantity | Remark |
|---|---|---|---|---|
| CoMat 02-001 ADHESIVE TAPE (MASKING) | LOCAL | CoMat 02-001 | ||
| CoMat 02-019 TAPE, ADHESIVE PAPER HEAT RESISTING MASKING | 76381 | CoMat 02-019 | ||
| CoMat 05-003 ABRASIVE MEDIUM ALUMINUM OXIDE, 120/220 GRADE | X222X | CoMat 05-003 | ||
| CoMat 05-009 GLASS BEADS | LOCAL | CoMat 05-009 | ||
| CoMat 05-127 ABRASIVE PAD | LOCAL | CoMat 05-127 | ||
| CoMat 07-035 CORROSION RESISTANT COATING | LOCAL | CoMat 07-035 |
Spares
NONESafety Requirements
NONEProcedure
Refer to the SPM TASK 70-11-03-300-503.
Remove the grease.
Clean the LP turbine shaft.
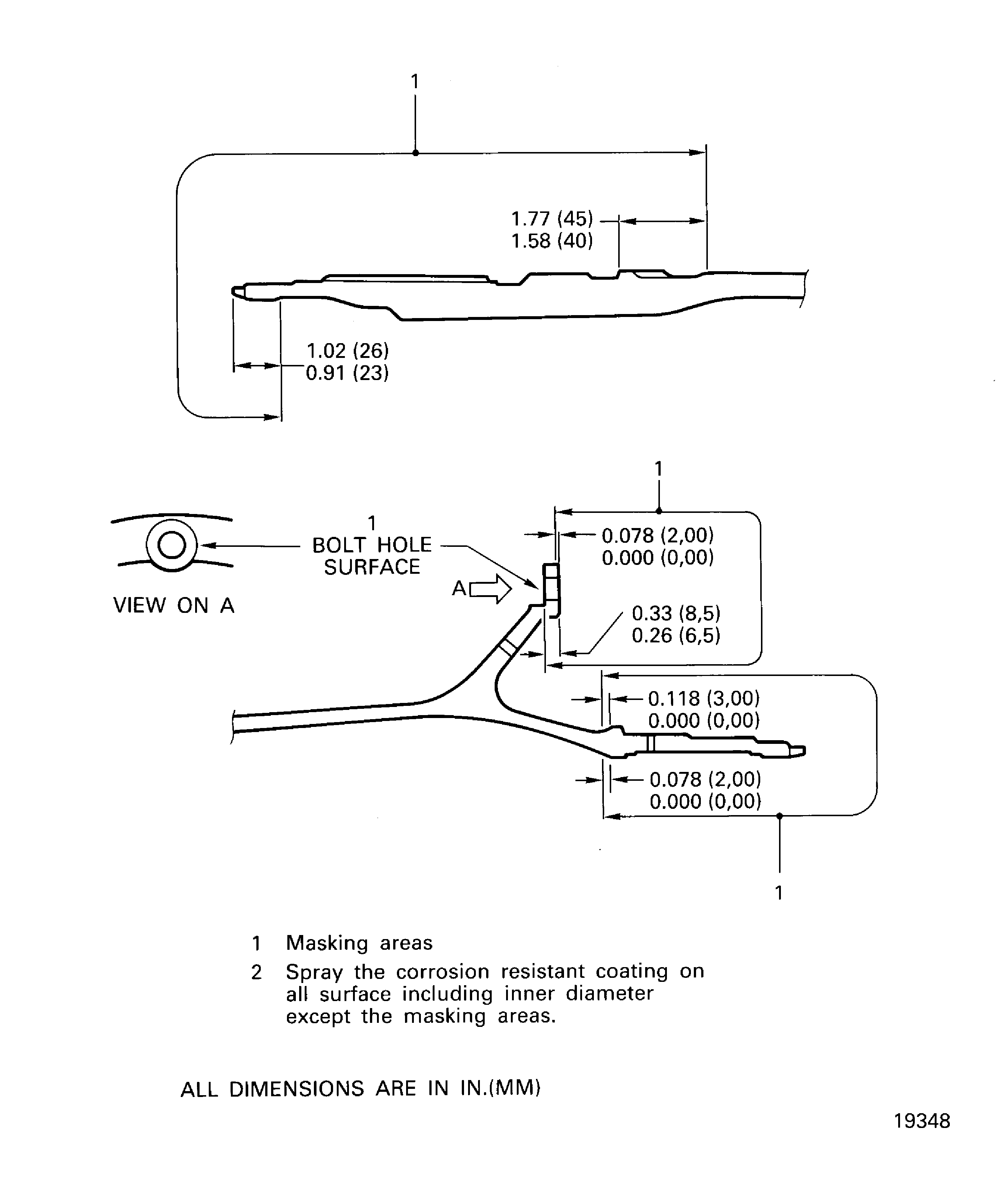
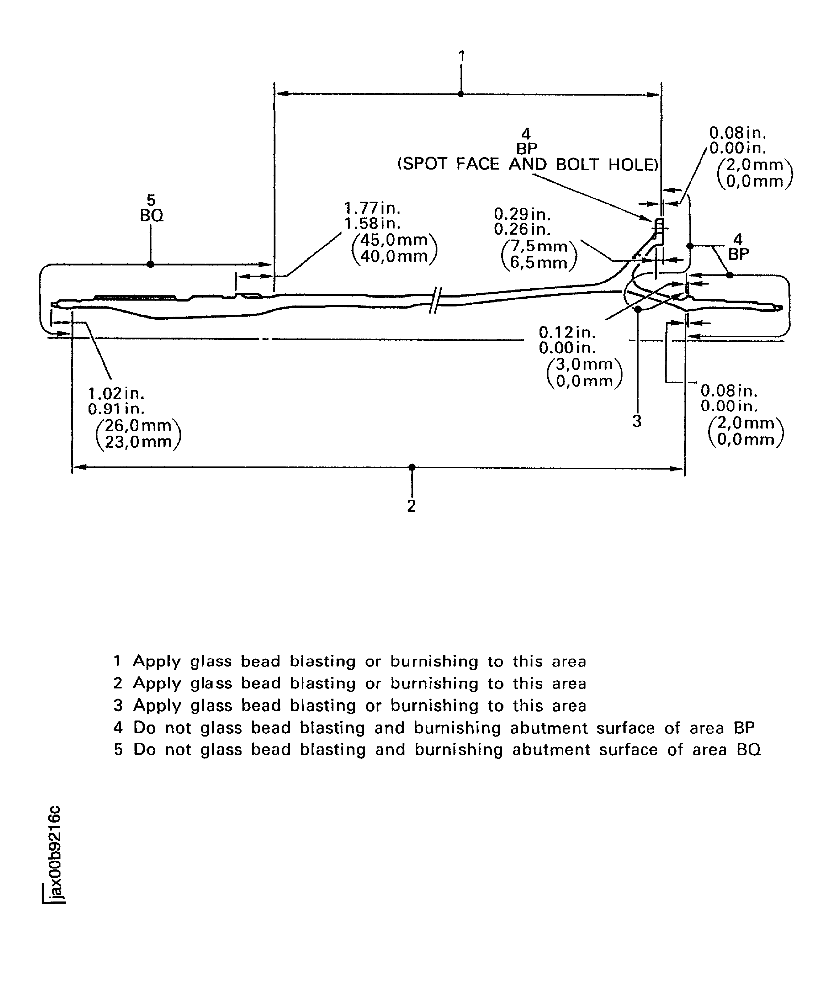
SUBTASK 72-50-41-110-059 Replace the Corrosion Resistant Coating of the LP Turbine Shaft
Refer to the SPM TASK 70-12-02-120-501.
Apply dry abrasive blast to the coating area.
Refer to the SPM TASK 70-12-03-120-501.
NOTE
Step can be used as an alternative to glass bead blast for burnishing of the corrosion resistant coating.
Glass bead blast the inside and outside diameter coated areas of the shaft.
SUBTASK 72-50-41-380-063 Recoat the Corrosion Resistant Coating (Type B). Refer to SPM TASK 70-38-21-380-501
Figure: LP Turbine Shaft - Coating Area
LP Turbine Shaft - Coating Area

Figure: LP turbine shaft - glass bead blasting and burnishing
LP turbine shaft - glass bead blasting and burnishing

