Export Control
EAR Export Classification: Not subject to the EAR per 15 C.F.R. Chapter 1, Part 734.3(b)(3), except for the following Service Bulletins which are currently published as EAR Export Classification 9E991: SBE70-0992, SBE72-0483, SBE72-0580, SBE72-0588, SBE72-0640, SBE73-0209, SBE80-0024 and SBE80-0025.Copyright
© IAE International Aero Engines AG (2001, 2014 - 2021) The information contained in this document is the property of © IAE International Aero Engines AG and may not be copied or used for any purpose other than that for which it is supplied without the express written authority of © IAE International Aero Engines AG. (This does not preclude use by engine and aircraft operators for normal instructional, maintenance or overhaul purposes.).Applicability
All
Common Information
TASK 72-50-53-840-001 Turbine Exhaust Case (TEC) - Remove The Turbine Exhaust Case Fairing - Rework-001 - SBE 72-0192
General
The practices and processes referred to in the procedure by the TASK number are in the SPM.
Refer to the indicated Service Bulletin for specific application requirements.
Preliminary Requirements
Pre-Conditions
NONESupport Equipment
| Name | Manufacturer | Part Number / Identification | Quantity | Remark |
|---|---|---|---|---|
| JT-8715 High Speed Grinder Or Equivalent | LOCAL | JT-8715 High Speed Grinder Or Equivalent |
Consumables, Materials and Expendables
| Name | Manufacturer | Part Number / Identification | Quantity | Remark |
|---|---|---|---|---|
| CoMat 02-062 MASKING TAPE | 0AM53 | CoMat 02-062 | ||
| CoMat 02-261 PLASTIC SHEETS, FLEXIBLE | LOCAL | CoMat 02-261 | ||
| CoMat 02-262 CARDBOARD | LOCAL | CoMat 02-262 | ||
| CoMat 02-263 GRINDING WHEEL | LOCAL | CoMat 02-263 | ||
| CoMat 02-264 SHEET, METAL | LOCAL | CoMat 02-264 | ||
| CoMat 02-063 MASKING TAPE | 0AM53 | CoMat 02-063 |
Spares
NONESafety Requirements
NONEProcedure
Refer to Figure.
Make a low pressure turbine (LPT) protective cover from CoMat 02-261 PLASTIC SHEETS, FLEXIBLE.
Refer to Figure.
Attach the LPT protective cover as follows:
NOTE
If the cover is made in two halves, install the cover as shown in Figure . Form a complete ring and tape both splits in the cover.Apply CoMat 02-062 MASKING TAPE to protect the instrumented strut leading edges.
Install covers made from CoMat 02-262 CARDBOARD for protection on all strut leading edges.
Make the guard so that the contour is the same as the surface it will touch on the turbine exhaust case. Refer to Figure.
Make a turbine exhaust case protective guard with CoMat 02-264 SHEET, METAL.
SUBTASK 72-50-53-350-116 Make and Install Protective Covers
Refer to Figure.
Install the turbine exhaust case guard next to the rivet that you will grind.

CAUTION
KEEP THE GRINDING WHEEL AWAY FROM THE STRUTS.USE A GRINDING WHEEL AS SHOWN IN Figure TO MINIMIZE THE RISK OF DAMAGE TO THE LOW PRESSURE TURBINE AND THE TURBINE EXHAUST CASE.Use a guard for protection and to prevent damage to the wall of the turbine exhaust case.
SUBTASK 72-50-53-320-110 Grind the Rivets that Attach the Fairing to the Turbine Exhaust Case
Figure: Mark the low pressure turbine (LPT) cover
Mark the low pressure turbine (LPT) cover

Figure: Install the low pressure turbine (LPT) cover and thestrut leading edge protection
Sheet 1

Figure: Install the low pressure turbine (LPT) cover and thestrut leading edge protection
Install the low pressure turbine (LPT) cover and thestrut leading edge protection

Figure: Install the low pressure turbine (LPT) cover and thestrut leading edge protection
Sheet 3

Figure: Make the turbine exhaust case guard
Make the turbine exhaust case guard

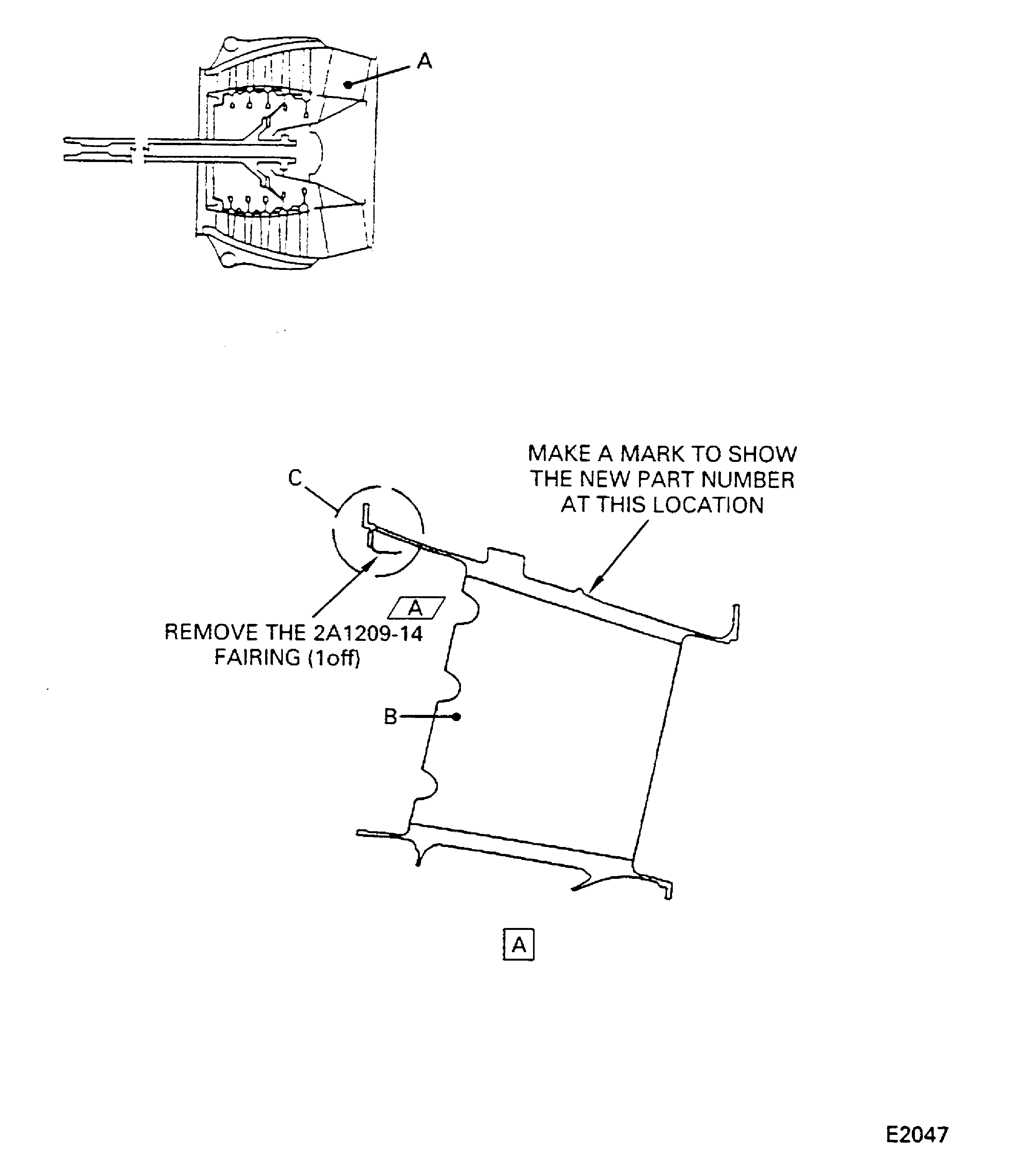
Figure: Location of the turbine exhaust case fairing
Location of the turbine exhaust case fairing

Figure: Grind to remove the turbine exhaust case fairing
Sheet 1

Figure: Grind to remove the turbine exhaust case fairing
Grind to remove the turbine exhaust case fairing

