DMC:V2500-A0-72-60-2101-06A-664A-CIssue No:004.00Issue Date:2021-05-01
Export Control
EAR Export Classification: Not subject to the EAR per 15 C.F.R. Chapter 1, Part 734.3(b)(3), except for the following Service Bulletins which are currently published as EAR Export Classification 9E991: SBE70-0992, SBE72-0483, SBE72-0580, SBE72-0588, SBE72-0640, SBE73-0209, SBE80-0024 and SBE80-0025.Copyright
© IAE International Aero Engines AG (2001, 2014 - 2021) The information contained in this document is the property of © IAE International Aero Engines AG and may not be copied or used for any purpose other than that for which it is supplied without the express written authority of © IAE International Aero Engines AG. (This does not preclude use by engine and aircraft operators for normal instructional, maintenance or overhaul purposes.).Applicability
All
Common Information
TASK 72-60-21-300-015 Main Gearbox Casing - Repair The Oil Nozzle Bore By Bushing, Repair-015 (VRS5296)
Effectivity
FIG/ITEM | PART NO. |
|---|---|
02-050 | 4B0055 |
02-050 | 4B0053 |
02-050 | 4B0054 |
02-050 | 4B0057 |
02-050 | 4B0400 |
02-050 | 4B0402 |
02-050 | 4B0423 |
Material of component
PART IDENT | SYMBOL | MATERIAL |
|---|---|---|
Casing | - | Aluminum alloy |
Bushing | - | Wrought aluminum base alloy |
General
NOTE
Consumable materials are given in the PCI.
Preliminary Requirements
Pre-Conditions
NONESupport Equipment
| Name | Manufacturer | Part Number / Identification | Quantity | Remark |
|---|---|---|---|---|
| Workshop inspection equipment | LOCAL | Workshop inspection equipment | ||
| Magnifying Glass | LOCAL | Magnifying Glass | ||
| Oven | LOCAL | Oven | ||
| Freezer | LOCAL | Freezer | ||
| Arbor Press | LOCAL | Arbor press |
Consumables, Materials and Expendables
NONESafety Requirements
NONEProcedure
Refer to the SPM TASK 70-38-02-300-503.
Apply the chromate conversion coating to the machined surfaces.
SUBTASK 72-60-21-330-121 Apply the Chromate Conversion Coating
Refer to Figure.

WARNING
DO NOT TOUCH THE HOT PARTS WITHOUT PROTECTIVE GLOVES. HOT PARTS CAN CAUSE REDDENING AND BLISTERING OF THE SKIN IF THE HANDS ARE NOT PROTECTED. IMMERSE THE CONTACTED AREA IN COLD WATER FOR 10 MINUTES IF THE SKIN IS BURNED. IMMEDIATELY GET MEDICAL ATTENTION IF PAIN OR BLISTERING PERSIST.Increase the temperature of the casing and/or decrease the bushing.
SUBTASK 72-60-21-350-161Install the Bushing
Refer to Figure.
SUBTASK 72-60-21-320-137 Machine the Inner Diameter of the Bushing
Refer to the SPM TASK 70-38-02-300-503.
Apply the chromate conversion coating to the machined surfaces of the bushing.
SUBTASK 72-60-21-330-122 Apply the Chromate Conversion Coating
Refer to Figure.
Refer to the SPM TASK 70-09-00-400-501, SUBTASK 70-09-400-001.
Make a mark VRS5296 adjacent to the part number.
SUBTASK 72-60-21-350-162 Identify the Repair
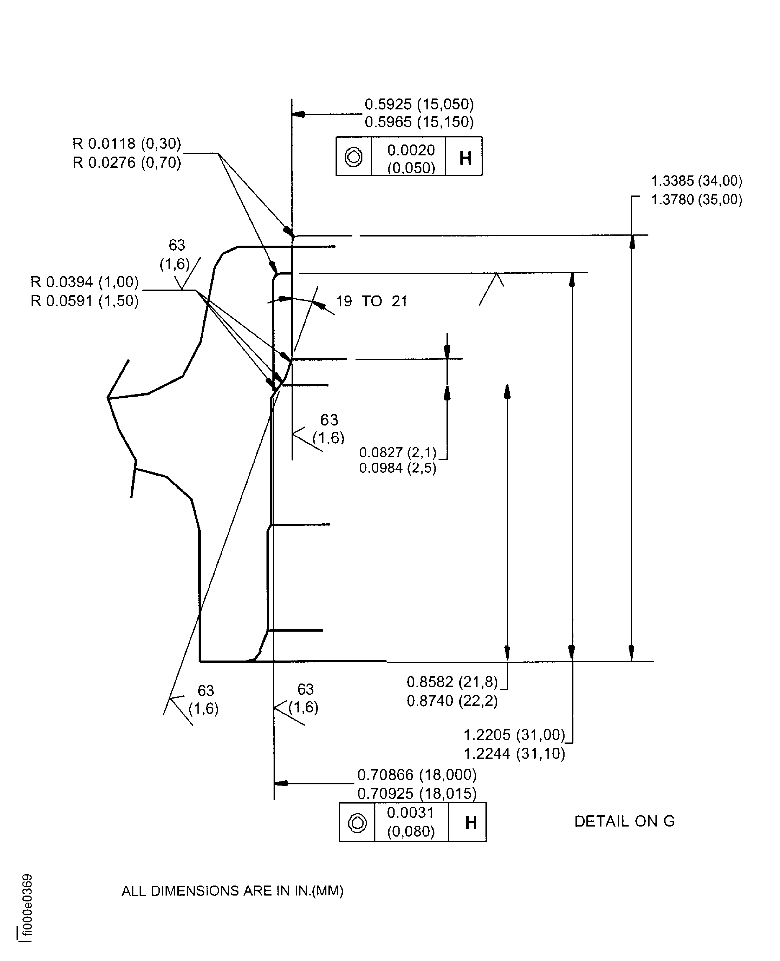
Figure: Repair Details And Dimensions
Repair Details And Dimensions

Figure: Repair Details And Dimensions
Repair Details And Dimensions

