Export Control
EAR Export Classification: Not subject to the EAR per 15 C.F.R. Chapter 1, Part 734.3(b)(3), except for the following Service Bulletins which are currently published as EAR Export Classification 9E991: SBE70-0992, SBE72-0483, SBE72-0580, SBE72-0588, SBE72-0640, SBE73-0209, SBE80-0024 and SBE80-0025.Copyright
© IAE International Aero Engines AG (2001, 2014 - 2021) The information contained in this document is the property of © IAE International Aero Engines AG and may not be copied or used for any purpose other than that for which it is supplied without the express written authority of © IAE International Aero Engines AG. (This does not preclude use by engine and aircraft operators for normal instructional, maintenance or overhaul purposes.).Applicability
All
Common Information
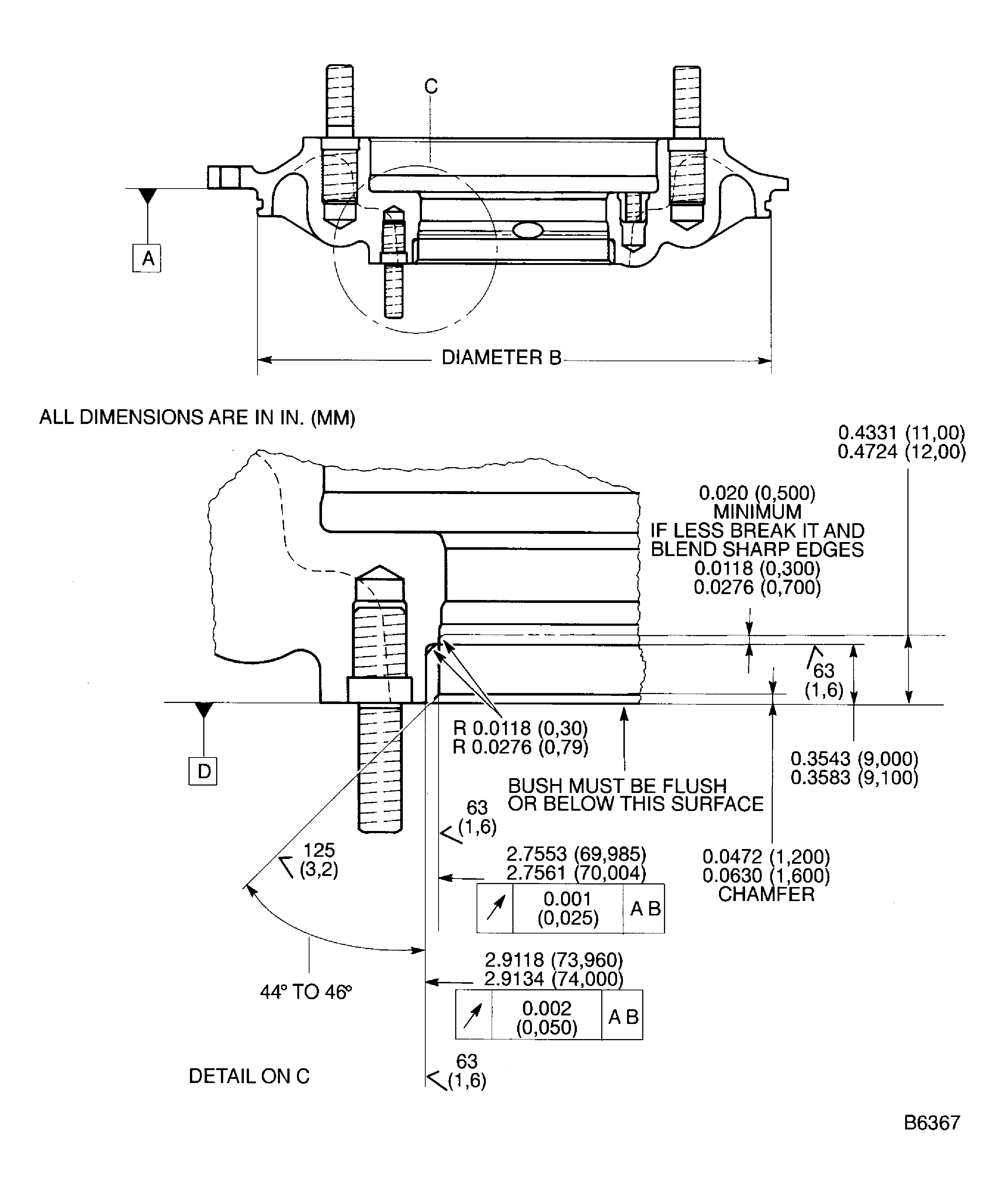
TASK 72-60-22-300-009 Starter Drive Gear Housing - Repair The Roller Bearing Bore By Bushing,Repair 009 (VRS5029)
Material of component
RR | ||
|---|---|---|
DESCRIPTION | SYMBOL | MATERIAL |
Casing | - | Aluminum alloy |
Bushing | - | Wrought aluminum base alloy |
General
NOTE
Preliminary Requirements
Pre-Conditions
NONESupport Equipment
| Name | Manufacturer | Part Number / Identification | Quantity | Remark |
|---|---|---|---|---|
| Arbor Press | LOCAL | Arbor press | ||
| Freezer | LOCAL | Freezer | ||
| IAE 3F10336 Drift, bushing (dia 67) | 0AM53 | IAE 3F10336 | 1 | |
| Magnifying Glass | LOCAL | Magnifying Glass | ||
| Oven | LOCAL | Oven | ||
| Workshop inspection equipment | LOCAL | Workshop inspection equipment |
Consumables, Materials and Expendables
NONESafety Requirements
NONEProcedure
Refer to Figure.
SUBTASK 72-60-22-320-089 Machine the Roller Bearing Bore in the Starter Drive Housing
Refer to the SPM TASK 70-38-02-300-503.
Apply the chromate conversion coating to the machined surfaces.
SUBTASK 72-60-22-330-073 Apply the Chromate Conversion Coating
Refer to Figure.

CAUTION
MAKE SURE THAT THE LEAD IN CHAMFER OF THE BUSHING POINTS AWAY FROM THE DRIFT.Install the bushing on the IAE IAE 3F10336 Drift, bushing (dia 67) 1 off.
Do not increase the temperature of the housing above 284 deg F (140 deg C).
Do not decrease the temperature of the assembled drift and bushing below -58 deg F (-50 deg C).

WARNING
DO NOT TOUCH THE HOT PARTS WITHOUT PROTECTIVE GLOVES.HOT PARTS CAN CAUSE REDDENING AND BLISTERING OF THE SKIN IF THE HANDS ARE NOT PROTECTED.IMMERSE THE CONTACTED AREA IN COLD WATER FOR 10 MINUTES IF THE SKIN IS BURNED. IMMEDIATELY GET THE MEDICAL ATTENTION IF PAIN OR BLISTERING PERSIST.Increase the temperature of the housing and/or decrease the temperature of the assembled drift and bushing.
Use IAE 3F10336 Drift, bushing (dia 67) 1 off and an arbor press.
Give sufficient back-up support at bushing bore area, to prevent housing distortion when you install the bushing.

CAUTION
INSTALL BUSING IN MACHINED BORE IMMEDIATELY AFTER REMOVAL FROM FREEZER, OTHERWISE BUSHING CANNOT BE CORRECTLY INSTALLED.Install the bushing into machined bore.
SUBTASK 72-60-22-350-092 Install the Bushing
Refer to Figure.
SUBTASK 72-60-22-320-090 Machine the Inner Diameter of the Bushing
Refer to TASK 70-38-02-300-503.
Apply the chromate conversion coating to the machined surface of the bushing.
SUBTASK 72-60-22-330-074 Apply the Chromate Conversion Coating
Refer to Figure.
Refer to TASK 70-09-00-400-501 SUBTASK 70-09-00-400-001 .
Make a mark VRS5029 adjacent to the part number.
SUBTASK 72-60-22-350-093 Identify the Repair
Figure: Repair Details And Dimensions
Repair Details And Dimensions

