Export Control
EAR Export Classification: Not subject to the EAR per 15 C.F.R. Chapter 1, Part 734.3(b)(3), except for the following Service Bulletins which are currently published as EAR Export Classification 9E991: SBE70-0992, SBE72-0483, SBE72-0580, SBE72-0588, SBE72-0640, SBE73-0209, SBE80-0024 and SBE80-0025.Copyright
© IAE International Aero Engines AG (2001, 2014 - 2021) The information contained in this document is the property of © IAE International Aero Engines AG and may not be copied or used for any purpose other than that for which it is supplied without the express written authority of © IAE International Aero Engines AG. (This does not preclude use by engine and aircraft operators for normal instructional, maintenance or overhaul purposes.).Applicability
All
Common Information
TASK 72-60-24-300-003 PMA Drive Housing - Repair The PMA Support Mating Surface And Flanged Bushing, Repair-003 (VRS5072)
General
NOTE
NOTE
Preliminary Requirements
Pre-Conditions
NONESupport Equipment
| Name | Manufacturer | Part Number / Identification | Quantity | Remark |
|---|---|---|---|---|
| FPI Inspection station | LOCAL | FPI Inspection station | ||
| Freezer | LOCAL | Freezer | ||
| IAE 3F10338 Drift | 0AM53 | IAE 3F10338 | 1 | |
| IAE 3F10436 Guide pin | 0AM53 | IAE 3F10436 | 1 | |
| Oven | LOCAL | Oven | ||
| Standard equipment | LOCAL | Standard equipment | ||
| Vibroengraving equipment | LOCAL | Vibroengraving equipment |
Consumables, Materials and Expendables
| Name | Manufacturer | Part Number / Identification | Quantity | Remark |
|---|---|---|---|---|
| CoMat 01-001 SOLVENT, DELETED | X111X | CoMat 01-001 | ||
| CoMat 06-063 FLUORESCENT PENETRANT (POST-EMULSIFIED MEDIUM SENSITIVITY) | X222X | CoMat 06-063 |
Safety Requirements
NONEProcedure
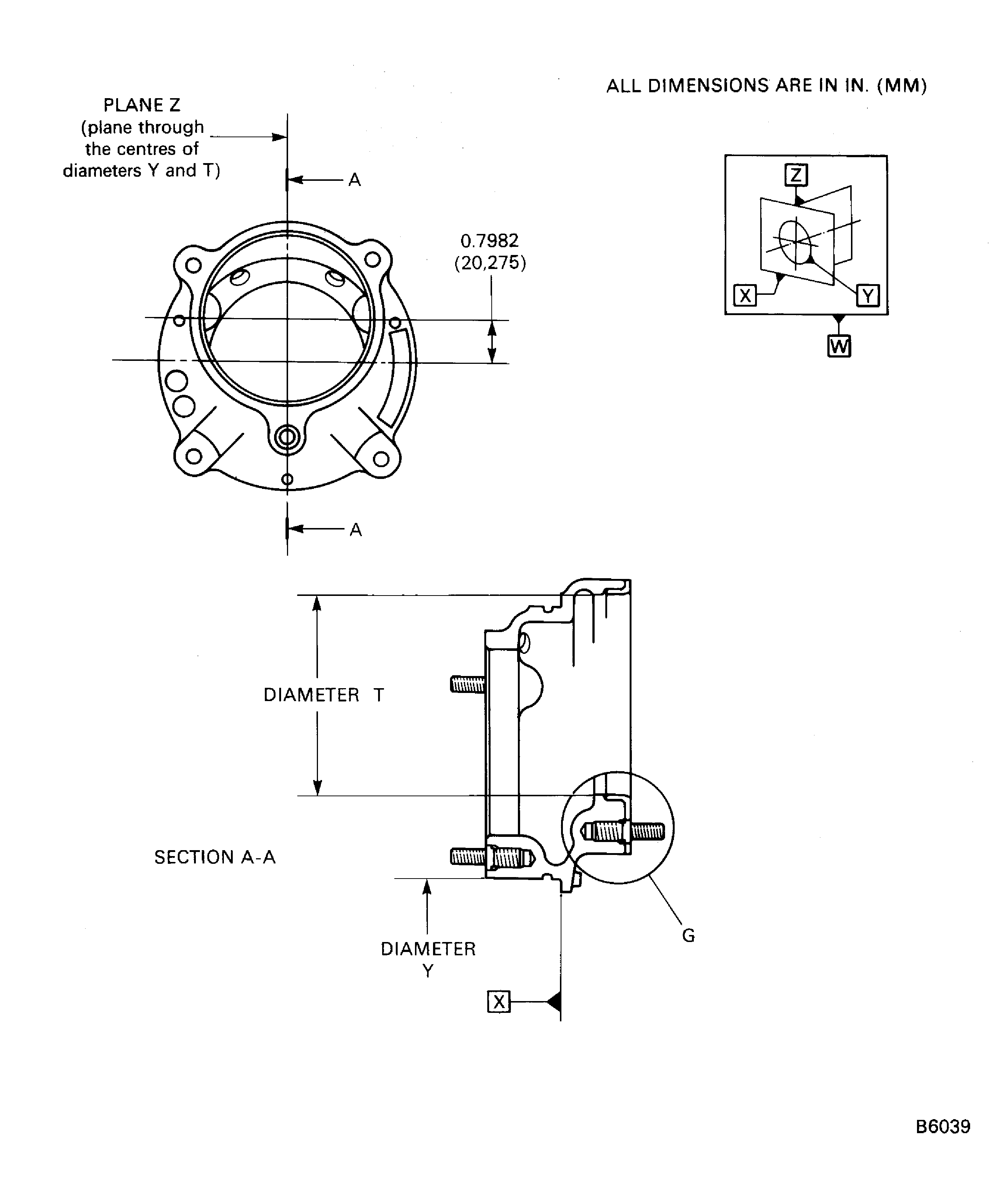
Refer to Figure.
Refer to Repair, VRS5071 TASK 72-60-24-300-002.
Remove the stud and the lock ring.
SUBTASK 72-60-24-350-064 Remove the Stud and the Lock Ring
Refer to Figure.
SUBTASK 72-60-24-320-066 Machine the PMA Support Bore of the PMA Drive Housing
Refer to Figure.
SUBTASK 72-60-24-320-067 Machine the PMA Support Mating Surface of the PMA Drive Housing
Refer to SPM TASK 70-38-02-300-503.
Apply the chromate conversion coating to the machined surfaces.
SUBTASK 72-60-24-330-059 Apply the Chromate Conversion Coating
Refer to Figure.
Put IAE 3F10436 Guide pin 1 off in threaded hole in PMA support mating surface adjacent to machined bore.
Install guide pin.
Install the bushing on the IAE 3F10338 Drift 1 off.
Use an Oven and/or a freezer.
Do not increase the temperature of the housing above 284 deg F (140 deg C).
Do not decrease the temperature of the assembled drift and bushing below -58 deg F (-50 deg C).
Use protective gloves.

WARNING
DO NOT TOUCH THE HOT PARTS WITHOUT PROTECTIVE GLOVES.
WARNING
HOT PARTS CAN CAUSE REDDENING AND BLISTERING OF THE SKIN IF THE HANDS ARE NOT PROTECTED.
WARNING
IMMERSE THE CONTACTED AREA IN COLD WATER FOR 10 MINUTES IF THE SKIN IS BURNED. IMMEDIATELY GET MEDICAL ATTENTION IF PAIN OR BLISTERING PERSISTS.Increase the temperature of the housing and/or decrease the temperature of the assembled drift and bushing.
Use IAE 3F10338 Drift 1 off and an arbor press.
Give sufficient back-up support at bushing bore area to prevent housing distortion when you install the bushing.

CAUTION
INSTALL BUSHING IN MACHINED BORE IMMEDIATELY AFTER REMOVAL FROM FREEZER, OTHERWISE BUSHING CANNOT BE CORRECTLY INSTALLED.Install the bushing into machined bore.
SUBTASK 72-60-24-350-065 Install the Bushing
Refer to Figure.
SUBTASK 72-60-24-320-068 Machine the Inner Diameter of the Bushing
Refer to Figure.
SUBTASK 72-60-24-320-069 Machine the Flange Surface of the Bushing
Refer to SPM TASK 70-38-02-300-503.
Apply the chromate conversion coating to the machined surfaces.
SUBTASK 72-60-24-330-060 Apply the Chromate Conversion Coating
Refer to Figure.
Refer to Repair, VRS5071 TASK 72-60-24-300-002.
Install the new stud and the new lock ring.
SUBTASK 72-60-24-350-066 Install the New Stud
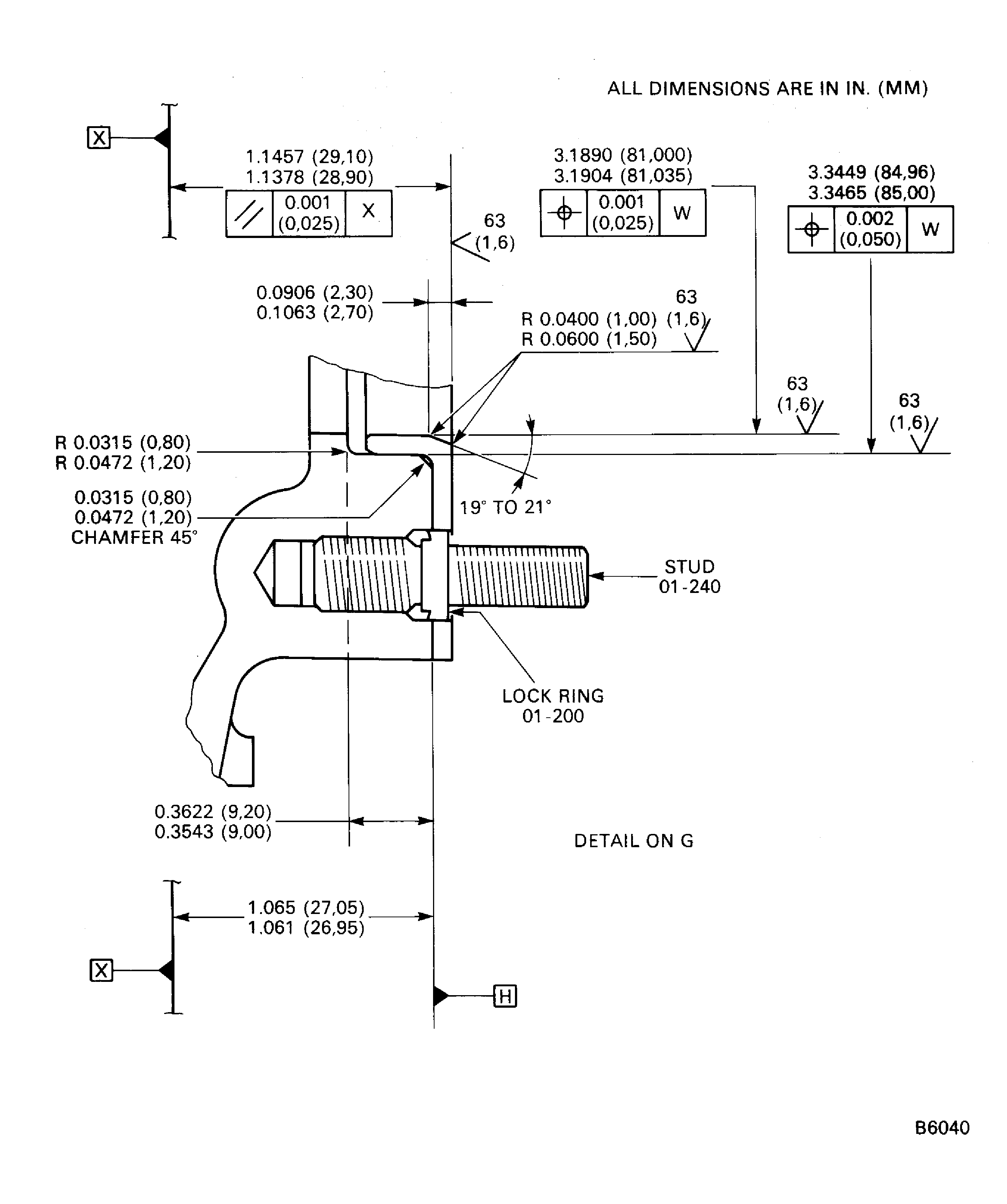
Figure: Repair the PMA Support Mating Surface and Flanged Bushing in PMA Drive Housing
Repair the PMA Support Mating Surface and Flanged Bushing in PMA Drive Housing

Figure: Repair the PMA Support Mating Surface and Flanged Bushing in PMA Drive Housing
Repair the PMA Support Mating Surface and Flanged Bushing in PMA Drive Housing

