Export Control
EAR Export Classification: Not subject to the EAR per 15 C.F.R. Chapter 1, Part 734.3(b)(3), except for the following Service Bulletins which are currently published as EAR Export Classification 9E991: SBE70-0992, SBE72-0483, SBE72-0580, SBE72-0588, SBE72-0640, SBE73-0209, SBE80-0024 and SBE80-0025.Copyright
© IAE International Aero Engines AG (2001, 2014 - 2021) The information contained in this document is the property of © IAE International Aero Engines AG and may not be copied or used for any purpose other than that for which it is supplied without the express written authority of © IAE International Aero Engines AG. (This does not preclude use by engine and aircraft operators for normal instructional, maintenance or overhaul purposes.).Applicability
All
Common Information
TASK 72-60-29-300-040 Deoiler Impeller - Repair The Rear Hub Inner Diameter, Repair-040 (VRS5657)
General
Price and availability - none
The practices and processes referred to in the procedure by the TASK number are in the SPM.
NOTE
Preliminary Requirements
Pre-Conditions
NONESupport Equipment
| Name | Manufacturer | Part Number / Identification | Quantity | Remark |
|---|---|---|---|---|
| Workshop inspection equipment | LOCAL | Workshop inspection equipment | ||
| Grinding machine | LOCAL | Grinding machine | ||
| Hot oil tank | LOCAL | Hot oil tank | ||
| Pressure shotpeen system | LOCAL | Pressure shotpeen system | ||
| Basket | LOCAL | Basket | ||
| Vapor degreaser | LOCAL | Vapor degreaser | ||
| Process Plating Tanks | LOCAL | Process plating tanks | ||
| Oven | LOCAL | Oven | ||
| Magnifying glass | LOCAL | Magnifying glass | ||
| Vibrating marking pencil | LOCAL | Vibrating marking pencil |
Consumables, Materials and Expendables
| Name | Manufacturer | Part Number / Identification | Quantity | Remark |
|---|---|---|---|---|
| CoMat 05-030 CAST STEEL SHOT DELETED | 0AM53 | CoMat 05-030 | ||
| CoMat 02-034 METALLIC MASKING TAPE(LEAD FOIL) | 76381 | CoMat 02-034 | ||
| CoMat 02-017 WAX | LOCAL | CoMat 02-017 |
Spares
NONESafety Requirements
NONEProcedure
Refer to Figure.
SUBTASK 72-60-29-320-084 Machine the Deoiler Impellor
Refer to the SPM TASK 70-21-02-210-501.
Machine the deoiler impellor if there is signs of burnt metal.
Keep the removal of material to the minimum necessary to remove the damage.
Do the Nital etch to find sign of burned metal.
SUBTASK 72-60-29-210-057 Nital Etch the Rear Hub Inner Diameter of the Deoiler Impellor
Refer to Figure.
Refer to the SPM TASK 70-38-04-300-503.
Shot-peen diameter must be plated to an intensity 0.008 to 0.012A.
SUBTASK 72-60-29-380-057 Shot-peen the part
Refer to Figure.
Use CoMat 02-017 WAX.
Mask properly the areas not to be plated.
Refer to the SPM TASK 70-33-02-330-501.
Plate to a sufficient thickness to permit the machining to the last dimension.
The plating outside of the enclosed area is permissible but must be removed.
Do the chromium plating.
SUBTASK 72-60-29-330-069 Chromium Plate the Rear Hub Inner Diameter of the Deoiler Impellor,.nd 72-60-29-990-055-002
Refer to Figure.
SUBTASK 72-60-29-440-063 Balance the Deoiler Impellor
Use the Vibrating marking pencil.
Remove the metal lifted marking the number.
Vibro-engrave VRS5657 adjacent to the part number.
SUBTASK 72-60-29-350-085 Record the Repair
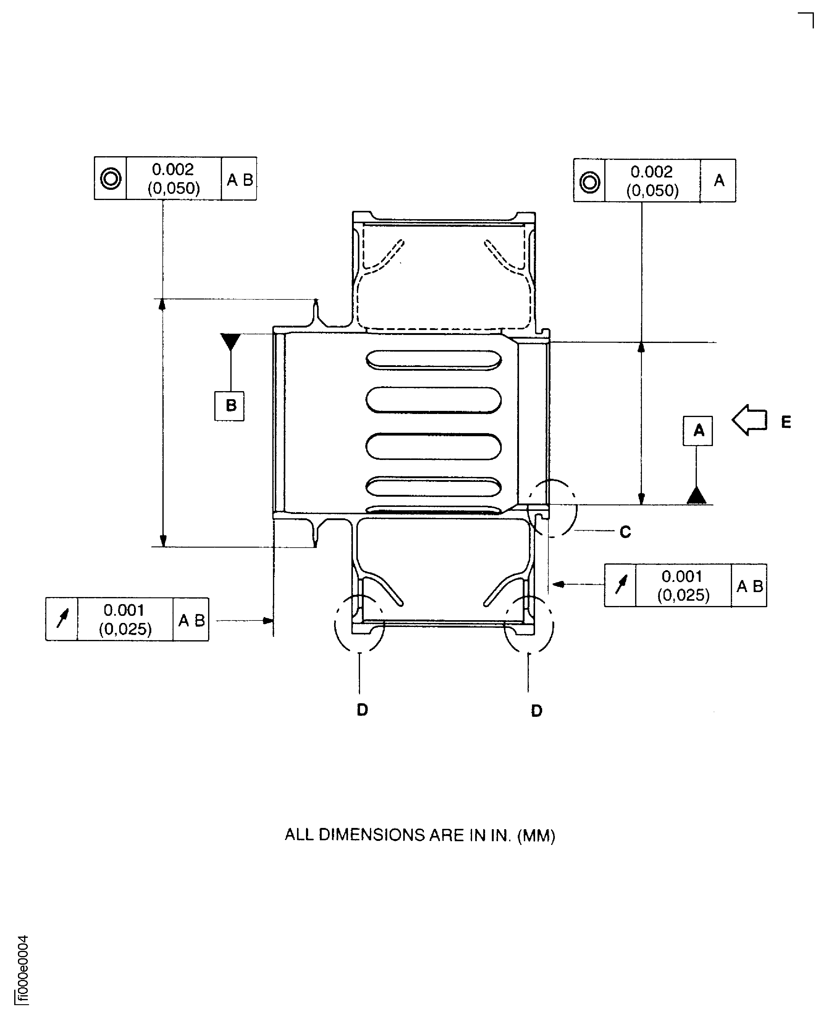
Figure: Chromium plate the Rear Hub Inner Diameter of the Deoiler Impellor
Sheet 1

Figure: Chromium plate the Rear Hub Inner Diameter of the Deoiler Impellor
Sheet 2

