Export Control
EAR Export Classification: Not subject to the EAR per 15 C.F.R. Chapter 1, Part 734.3(b)(3), except for the following Service Bulletins which are currently published as EAR Export Classification 9E991: SBE70-0992, SBE72-0483, SBE72-0580, SBE72-0588, SBE72-0640, SBE73-0209, SBE80-0024 and SBE80-0025.Copyright
© IAE International Aero Engines AG (2001, 2014 - 2021) The information contained in this document is the property of © IAE International Aero Engines AG and may not be copied or used for any purpose other than that for which it is supplied without the express written authority of © IAE International Aero Engines AG. (This does not preclude use by engine and aircraft operators for normal instructional, maintenance or overhaul purposes.).Applicability
All
Common Information
TASK 72-60-32-300-013 Angle Gearbox Support - Repair The Oil Scavenge Pump Bore By Bushing, Repair-013 (VRS5122)
Material of component
RR | ||
|---|---|---|
DESCRIPTION | SYMBOL | MATERIAL |
Support | - | Aluminum alloy |
Bushing | - | Wrought aluminum base alloy |
General
Price and availability - none
The practices and processes referred to in the procedure by the TASK numbers are in the SPM.
NOTE
Preliminary Requirements
Pre-Conditions
NONESupport Equipment
| Name | Manufacturer | Part Number / Identification | Quantity | Remark |
|---|---|---|---|---|
| Arbor Press | LOCAL | Arbor press | ||
| Freezer | LOCAL | Freezer | ||
| IAE 3F10344 Drift, bushing (dia 127) | 0AM53 | IAE 3F10344 | ||
| Magnifying Glass | LOCAL | Magnifying Glass | ||
| Oven | LOCAL | Oven | ||
| Workshop inspection equipment | LOCAL | Workshop inspection equipment |
Consumables, Materials and Expendables
NONESafety Requirements
NONEProcedure
Refer to Figure.
SUBTASK 72-60-32-320-063 Machine the Oil Scavenge Pump Bore in the Angle Gearbox Support
Refer to the SPM TASK 70-38-02-300-503.
Apply the chromate conversion coating to the machine surfaces.
SUBTASK 72-60-32-330-060 Apply the Chromate Conversion Coating
Refer to Figure.

CAUTION
MAKE SURE THAT THE LEAD IN CHAMFER OF THE BUSHING POINTS AWAY FROM THE DRIFT.Install the bushing on the IAE 3F10344 Drift, bushing (dia 127) 1 off.
Do not increase the temperature of the housing above 248 deg F (120 deg C).
Do not decrease the temperature of the assembled drift and bushing below -58 deg F (-50 deg C).

WARNING
DO NOT TOUCH THE HOT PARTS WITHOUT PROTECTIVE GLOVES.HOT PARTS CAN CAUSE REDDENING AND BLISTERING OF THE SKIN IF THE HANDS ARE NOT PROTECTED.IMMERSE THE CONTACTED AREA IN COLD WATER FOR 10 MINUTES IF THE SKIN IS BURNED. IMMEDIATELY GET MEDICAL AID IF PAIN OR BLISTERING PERSISTS.NOTE
The difference in temperature between the parts must be 216 deg F (120 deg C).Increase the temperature of the support and/or decrease the temperature of the assembled drift and bushing.
Use IAE 3F10344 Drift, bushing (dia 127) 1 off and an Arbor Press.
Give sufficient back-up support at bushing seat area, to prevent support distortion when you install the bushing.

CAUTION
INSTALL BUSHING IN MACHINED BORE IMMEDIATELY AFTER REMOVAL FROM FREEZER, OTHERWISE BUSHING CANNOT BE CORRECTLY INSTALLED.Install the bushing into machined seat.
SUBTASK 72-60-32-350-070 Install the Bushing
Refer to Figure.
SUBTASK 72-60-32-320-064 Machine the Inner Diameter of the Bushing
Refer to the SPM TASK 70-38-02-300-503.
Apply the chromate conversion coating to the machined surfaces of the bushing.
SUBTASK 72-60-32-330-061 Apply the Chromate Conversion Coating
Refer to the SPM TASK 70-09-00-400-501, SUBTASK 70-09-00-400-001 .
Make a mark VRS5122 adjacent to the part number.
SUBTASK 72-60-32-350-071 Identify the Repair
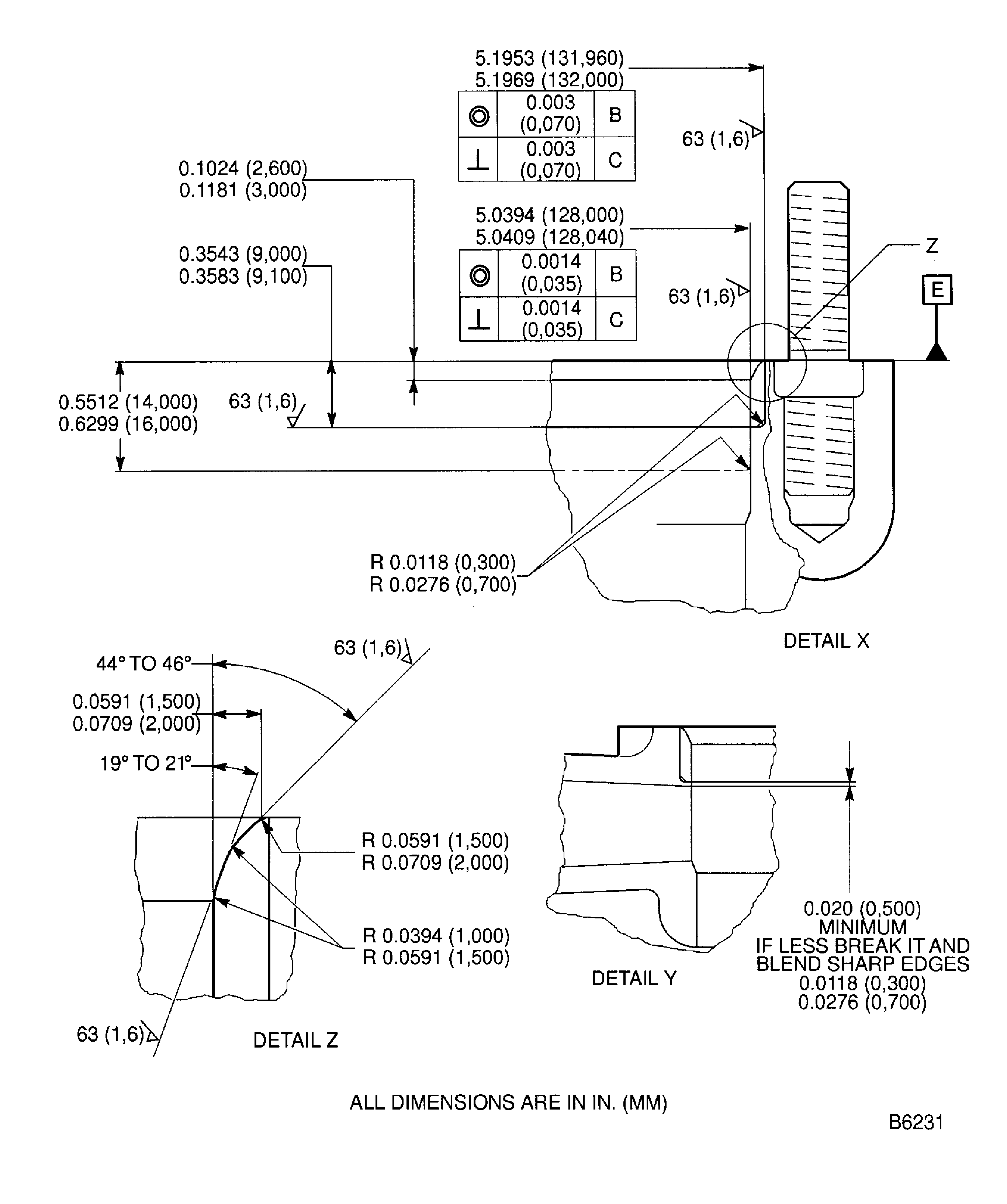
Figure: Repair Details And Dimensions
Repair Details And Dimensions

Figure: Repair Details And Dimensions
Repair Details And Dimensions

