Export Control
EAR Export Classification: Not subject to the EAR per 15 C.F.R. Chapter 1, Part 734.3(b)(3), except for the following Service Bulletins which are currently published as EAR Export Classification 9E991: SBE70-0992, SBE72-0483, SBE72-0580, SBE72-0588, SBE72-0640, SBE73-0209, SBE80-0024 and SBE80-0025.Copyright
© IAE International Aero Engines AG (2001, 2014 - 2021) The information contained in this document is the property of © IAE International Aero Engines AG and may not be copied or used for any purpose other than that for which it is supplied without the express written authority of © IAE International Aero Engines AG. (This does not preclude use by engine and aircraft operators for normal instructional, maintenance or overhaul purposes.).Applicability
All
Common Information
TASK 72-60-33-440-001 PMA Shaft, Rotor, And Housing Assembly - Assemble The Shaft, Rotor, And Housing, Assembly-001
General
Fig/item numbers in parentheses in the procedure agree with those used in the IPC. Only the primary Fig/item numbers are used. For the service bulletin alpha variants refer to the IPC.
Apply the approved CoMat 10-058 PENETRATING OIL before the removal of threaded parts and parts with an interference fit. Let the parts soak before removal.
Discard all rubber seal rings, cotter pins and seal washers removed in this procedure.
NOTE
NOTE
Preliminary Requirements
Pre-Conditions
NONESupport Equipment
| Name | Manufacturer | Part Number / Identification | Quantity | Remark |
|---|---|---|---|---|
| Arbor Press | LOCAL | Arbor press | ||
| Hot Air Gun | LOCAL | Hot Air Gun | ||
| Swivel vise | LOCAL | Swivel vise | ||
| IAE 1F10082 Guide Pin | 0AM53 | IAE 1F10082 | 1 | |
| IAE 1F10170 Base | 0AM53 | IAE 1F10170 | 1 | |
| IAE 1F10200 Base | 0AM53 | IAE 1F10200 | 1 | |
| IAE 1F10212 Half ring | 0AM53 | IAE 1F10212 | 2 | |
| IAE 1F10213 Drift | 0AM53 | IAE 1F10213 | 1 | |
| IAE 1F10214 Drift | 0AM53 | IAE 1F10214 | 1 | |
| IAE 1F10215 Installation support | 0AM53 | IAE 1F10215 | 1 | |
| IAE 1F10218 Reaction spanner | 0AM53 | IAE 1F10218 | 1 | |
| IAE 1P16486 Reaction spanner | 0AM53 | IAE 1P16486 | 1 | |
| IAE 1P16642 Reaction spanner | 0AM53 | IAE 1P16642 | 1 |
Consumables, Materials and Expendables
| Name | Manufacturer | Part Number / Identification | Quantity | Remark |
|---|---|---|---|---|
| CoMat 07-012 AIR DRYING ENAMEL | 0AM53 | CoMat 07-012 | ||
| CoMat 10-039 ENGINE OIL | LOCAL | CoMat 10-039 | ||
| CoMat 10-058 PENETRATING OIL | X222X | CoMat 10-058 |
Spares
NONESafety Requirements
NONEProcedure
Refer to Figure.

CAUTION
BE CAREFUL NOT TO CAUSE DAMAGE TO THE PMA ROTOR DURING THE SUBSEQUENT OPERATIONS.Put IAE 1F10212 Half ring 2 off around the PMA drive shaft between the rotor and the shoulder.
Install the half rings and the PMA drive shaft on IAE 1F10200 Base 1 off with the rotor to the bottom.

WARNING
DO NOT TOUCH THE HOT PARTS WITHOUT PROTECTIVE GLOVES.HOT PARTS CAN CAUSE REDDENING AND BLISTERING OF THE SKIN IF THE HANDS ARE NOT PROTECTED.IMMERSE THE CONTACTED AREA IN COLD WATER FOR 10 MINUTES IF THE SKIN IS BURNED. IMMEDIATELY GET THE MEDICAL ATTENTION IF PAIN OR BLISTERING PERSISTS.Install the separating diaphragm on the shaft with the concavity to the bottom.
Install IAE 1F10213 Drift 1 off onto the shaft and put on the separating diaphragm. Push the separating diaphragm against the shoulder. Use an Arbor Press or equivalent. Remove the drift.
SUBTASK 72-60-33-440-051 Install the Separating Diaphragm and the Inner Race of the Roller Bearing on the PMA Shaft
Refer to Figure.
Install IAE 1F10170 Base 1 off on swivel vise.

WARNING
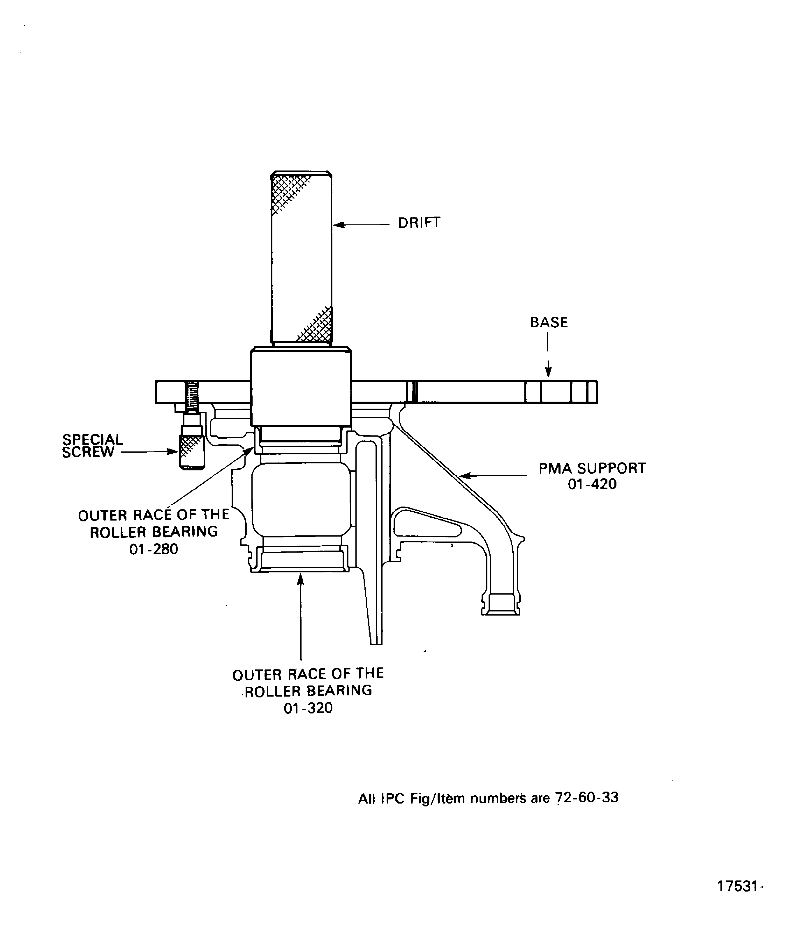
DO NOT TOUCH THE HOT PARTS WITHOUT PROTECTIVE GLOVES.HOT PARTS CAN CAUSE REDDENING AND BLISTERING OF THE SKIN IF THE HANDS ARE NOT PROTECTED.IMMERSE THE CONTACTED AREA IN COLD WATER FOR 10 MINUTES OF THE SKIN IS BURNED. IMMEDIATELY GET THE MEDICAL ATTENTION IF PAIN OR BLISTERING PERSISTS.Increase the temperature of the outer race seat to 250 deg F (121 deg C) maximum. Use hot air gun.
Install the outer race on the PMA support. Use IAE 1F10214 Drift 1 off.
Install the outer race of the roller bearing PMA Shaft, Rotor, and Housing Assembly (72-60-33, 01-320).

WARNING
DO NOT TOUCH THE HOT PARTS WITHOUT PROTECTIVE GLOVES.HOT PARTS CAN CAUSE REDDENING AND BLISTERING OF THE SKIN IF THE HANDS ARE NOT PROTECTED.IMMERSE THE CONTACTED AREA IN COLD WATER FOR 10 MINUTES IF THE SKIN IS BURNED. IMMEDIATELY GET THE MEDICAL ATTENTION IF PAIN OR BLISTERING PERSISTS.Increase the temperature of the outer race seat to 250 deg F (121 deg C) maximum. Use the hot air gun.
Install the outer race on the PMA support. Use the IAE 1F10214 Drift.
Install the outer race of the roller bearing PMA Shaft, Rotor, and Housing Assembly (72-60-33, 01-280).
SUBTASK 72-60-33-440-052 Install the Two Outer Races of the Roller Bearings on the PMA Support
Refer to Figure.
SUBTASK 72-60-33-440-053 Install the PMA Shaft and Rotor on the PMA Support
Install IAE 1F10215 Installation support 1 off on the base.

WARNING
DO NOT TOUCH THE HOT PARTS WITHOUT PROTECTIVE GLOVES.HOT PARTS CAN CAUSE REDDENING AND BLISTERING OF THE SKIN IF THE HANDS ARE NOT PROTECTED.IMMERSE THE CONTACTED AREA IN COLD WATER FOR 10 MINUTES IF THE SKIN IS BURNED. IMMEDIATELY GET THE MEDICAL ATTENTION IF PAIN OR BLISTERING PERSISTS.Put the inner race on the PMA shaft.
Install IAE 1F10213 Drift 1 off on the inner race. Apply a load of 2248 lbf (10000 N) to the drift until the inner race touch the bearing spacer. Use an Arbor Press or equivalent.
SUBTASK 72-60-33-440-054 Install the Bearing Spacer and the Inner Race of the Roller Bearing on the PMA Shaft
Refer to Figure.
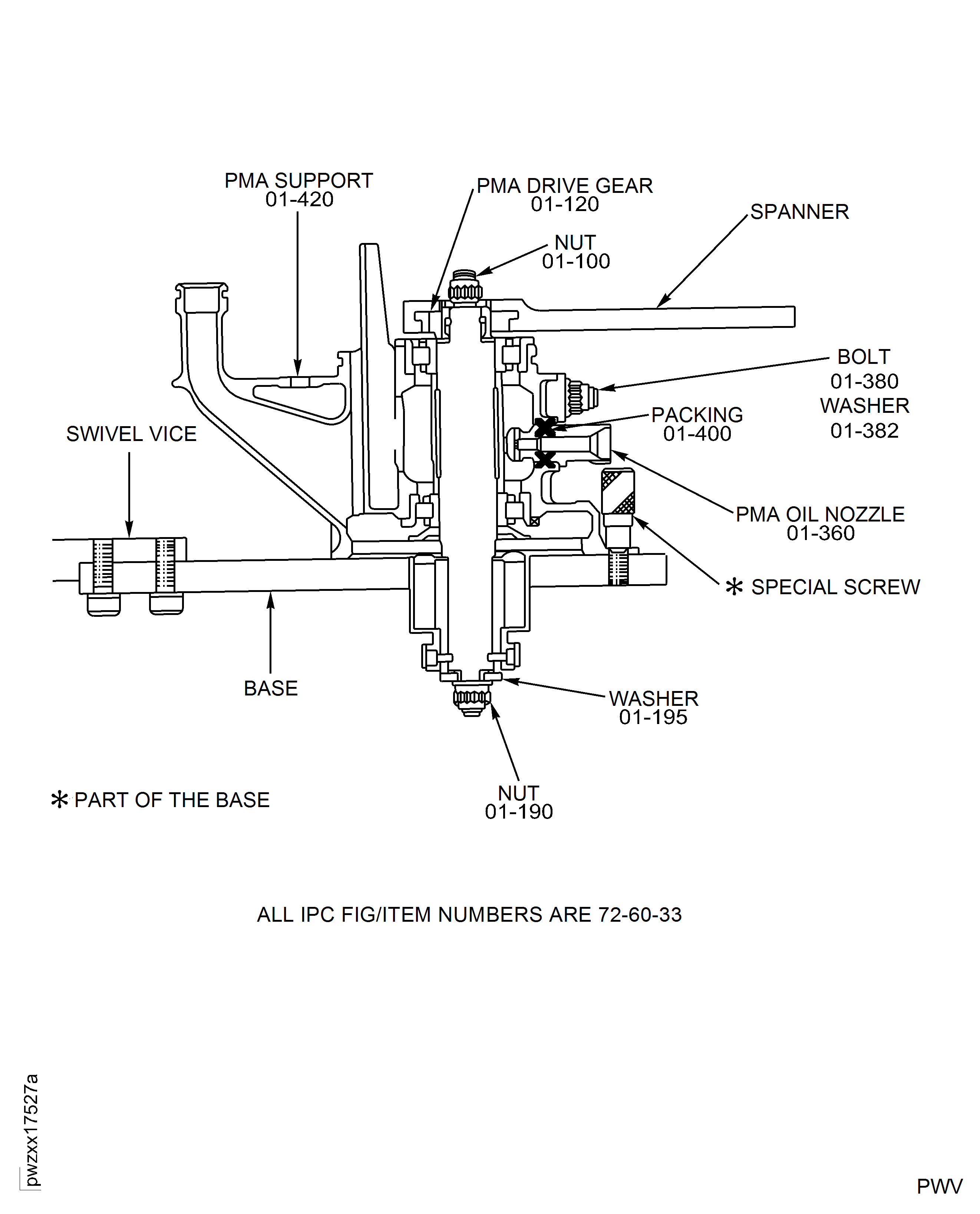
Put the PMA drive gear PMA Shaft, Rotor, and Housing Assembly (72-60-33, 01-120) into an oven and increase the temperature to 250 deg F (121 deg C) maximum.

WARNING
DO NOT TOUCH THE HOT PARTS WITHOUT PROTECTIVE GLOVES.HOT PARTS CAN CAUSE REDDENING AND BLISTERING OF THE SKIN IF THE HANDS ARE NOT PROTECTED.IMMERSE THE CONTACTED AREA IN COLD WATER FOR 10 MINUTES IF THE SKIN IS BURNED. IMMEDIATELY GET THE MEDICAL ATTENTION IF PAIN OR BLISTERING PERSISTS.Install the PMA drive gear on the PMA shaft. Align the spline of the gear with the spline of the shaft.
Install IAE 1F10218 Reaction spanner, IAE 1P16642 Reaction spanner or IAE 1P16486 Reaction spanner 1 off on the PMA drive gear.
Install a new nut PMA Shaft, Rotor, and Housing Assembly (72-60-33, 01-100), PN NAS1291C7 on the PMA rotor shaft.
Torque the nut to between 309.8 lbfin - 354 lbfin (35 Nm - 40 Nm).
SUBTASK 72-60-33-440-055-A Install the PMA Drive Gear (Pre SBE 72-0616)
Refer to Figure.
Put the PMA drive gear PMA Shaft, Rotor, and Housing Assembly (72-60-33, 01-120) into an oven and increase the temperature to 250 deg F (121 deg C) maximum.

WARNING
DO NOT TOUCH THE HOT PARTS WITHOUT PROTECTIVE GLOVES.HOT PARTS CAN CAUSE REDDENING AND BLISTERING OF THE SKIN IF THE HANDS ARE NOT PROTECTED.IMMERSE THE CONTACTED AREA IN COLD WATER FOR 10 MINUTES IF THE SKIN IS BURNED. IMMEDIATELY GET THE MEDICAL ATTENTION IF PAIN OR BLISTERING PERSISTS.Install the PMA drive gear on the PMA shaft. Align the spline of the gear with the spline of the shaft.
Install the IAE 1P16642 Reaction spanner 1 off on the PMA drive gear.
Install a slave nut on the shaft. Tighten the nut.
Remove the slave nut when the parts get to room temperature.
Install a new nut PMA Shaft, Rotor, and Housing Assembly (72-60-33, 01-100), PN 4B0361 on the PMA rotor shaft.
Torque the nut to between 376.2 lbfin - 420.4 lbfin (42.5 Nm - 47.5 Nm) plus the prevailing torque measured at Step.
SUBTASK 72-60-33-440-055-B Install the PMA Drive Gear (Post SBE 72-0616)
Refer to Figure.
Install the IAE 1P16642 Reaction spanner, IAE 1P16486 Reaction spanner or IAE 1F10218 Reaction spanner 1 off on the PMA drive gear.
Install the washer PMA Shaft, Rotor, and Housing Assembly (72-60-33, 01-195) and nut PMA Shaft, Rotor, and Housing Assembly (72-60-33, 01-190) to the PMA shaft.
Torque the nut to 290 lbfin - 324 lbfin (33 Nm - 36 Nm).
Remove the reaction spanner.
SUBTASK 72-60-33-440-060 Install the Nut and Washer to the PMA Shaft and Rotor Assembly, If Required
Refer to Figure.
Install PMA Shaft, Rotor, and Housing Assembly (72-60-33, 01-400) packing 1 off on the oil nozzle.
Install IAE 1F10082 Guide Pin 1 off into the bolt hole near the seat of the oil nozzle on the PMA support.
SUBTASK 72-60-33-440-056 Install the Oil Nozzle on the PMA Support
Figure: Install the separating diaphragm and the inner race of the roller bearing on the PMA shaft
Install the separating diaphragm and the inner race of the roller bearing on the PMA shaft

Figure: Install the outer races of the roller bearing
Install the outer races of the roller bearing

Figure: Install the PMA shaft and rotor on the support
Install the PMA shaft and rotor on the support

Figure: Install the installation support
Install the installation support

Figure: Install the bearing spacer and the inner race of the roller bearing
Install the bearing spacer and the inner race of the roller bearing

Figure: Install the PMA drive gear
Install the PMA drive gear

