Export Control
EAR Export Classification: Not subject to the EAR per 15 C.F.R. Chapter 1, Part 734.3(b)(3), except for the following Service Bulletins which are currently published as EAR Export Classification 9E991: SBE70-0992, SBE72-0483, SBE72-0580, SBE72-0588, SBE72-0640, SBE73-0209, SBE80-0024 and SBE80-0025.Copyright
© IAE International Aero Engines AG (2001, 2014 - 2021) The information contained in this document is the property of © IAE International Aero Engines AG and may not be copied or used for any purpose other than that for which it is supplied without the express written authority of © IAE International Aero Engines AG. (This does not preclude use by engine and aircraft operators for normal instructional, maintenance or overhaul purposes.).Applicability
All
Common Information
TASK 75-24-49-300-010 LPT ACC Cooling Air Ducts - Replace the Tubes of the Lower Duct Assembly, Repair-010 (VRS4254)
Material of component
DESCRIPTION | RR SYMBOL | MATERIAL |
Cooling air duct, | 3A0698 TiCu2 (Tubes) | |
assembly | TiAL6V4 | |
3A1666 TiCu2 (Tubes) | ||
X10CrNi |
General
Price and availability - none.
The practices and processes referred to in the procedure by the TASK number are in the SPM.
NOTE
NOTE
Preliminary Requirements
Pre-Conditions
NONESupport Equipment
| Name | Manufacturer | Part Number / Identification | Quantity | Remark |
|---|---|---|---|---|
| Furnace | LOCAL | Furnace | ||
| Magnifying glass | LOCAL | Magnifying glass |
Consumables, Materials and Expendables
| Name | Manufacturer | Part Number / Identification | Quantity | Remark |
|---|---|---|---|---|
| CoMat 03-246 WELDING MATERIAL | LOCAL | CoMat 03-246 |
Spares
| Name | Manufacturer | Part Number / Identification | Quantity | Remark |
|---|---|---|---|---|
| TUBE - ASSEMBLY OF | 0AM53 | 3A1874 | ||
| TUBE - ASSEMBLY OF | 0AM53 | 3A1875 | ||
| TUBE - ASSEMBLY OF | 0AM53 | 3A1876 | ||
| TUBE - ASSEMBLY OF | 0AM53 | 3A1877 | ||
| TUBE - ASSEMBLY OF | 0AM53 | 3A1878 | ||
| TUBE - ASSEMBLY OF | 0AM53 | 3A1879 | ||
| TUBE - ASSEMBLY OF | 0AM53 | 3A1880 | ||
| TUBE - ASSEMBLY OF | 0AM53 | 3A1881 | ||
| TUBE - ASSEMBLY OF | 0AM53 | 3A1882 | ||
| TUBE - ASSEMBLY OF | 0AM53 | 3A1883 | ||
| TUBE - ASSEMBLY OF | 0AM53 | 3A1884 | ||
| TUBE - ASSEMBLY OF | 0AM53 | 3A1885 | ||
| TUBE - ASSEMBLY OF | 0AM53 | 3A1886 | ||
| TUBE - ASSEMBLY OF | 0AM53 | 3A1887 | ||
| TUBE - ASSEMBLY OF | 0AM53 | 3A1888 | ||
| TUBE - ASSEMBLY OF | 0AM53 | 3A1889 |
Safety Requirements
NONEProcedure
Use a soft cloth only.
Clean the tube end.
SUBTASK 75-24-49-110-062 Clean the Back Tube End
Use 10X Magnifying glass.
Possible cracks cause decrease in weld strength.
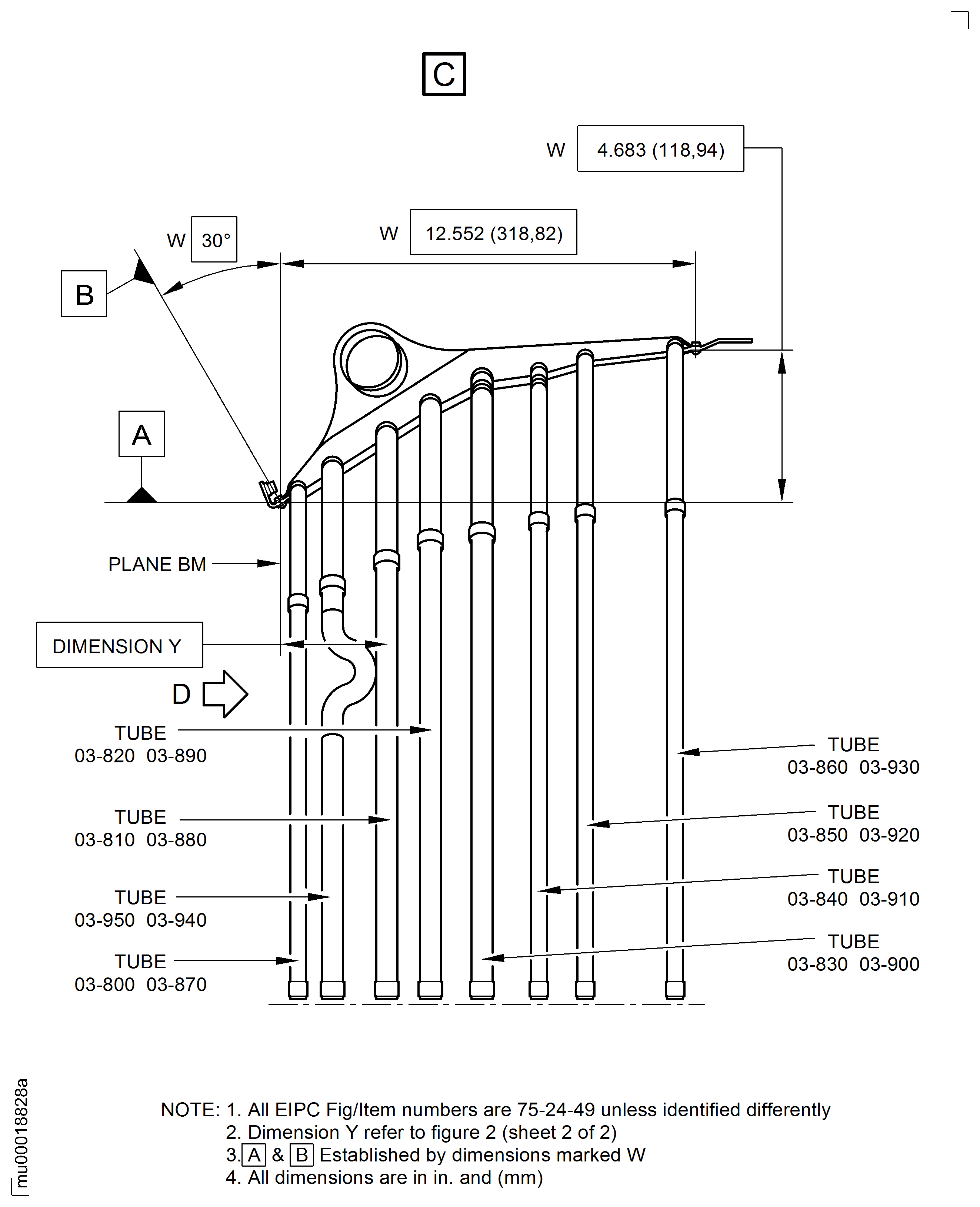
Cut to remove, within dimensions in Figure.
Do the test for cracks.
SUBTASK 75-24-49-220-064 Examine the Parts of Cracks
Refer to SPM TASK 70-31-13-310-501.
Dirty surfaces cause a reduction in weld strength.
Clean the surfaces to be welded.
SUBTASK 75-24-49-110-063 Clean the Surfaces to be Welded
Refer to Figure and SPM TASK 70-31-13-310-501.
For purity of welds, weld in a protective gas environment.
Use CoMat 03-246 WELDING MATERIAL as necessary.
Use applicable fixture.
Weld replacement tube in to position, use tungsten inert gas method.
SUBTASK 75-24-49-310-051 Weld in the Replacement Tube
NOTE
Do the weld of titanium in a protective gas atmosphere to avoid impurities in weld seams, leading to premature cracked and reduction in fatigue strength.Refer to TASK 70-31-13-310-501 for acceptance standards.
Examine the weld quality.
SUBTASK 75-24-49-220-065 Examine the Welds
Refer to SPM TASK 70-23-05-230-501.
No cracks are permitted.
Do the test for cracks.
SUBTASK 75-24-49-230-058 Examine the Repaired Areas for Cracks
Put the part in the Furnace for two hours at 887 deg F (475 deg C).
Use Argon, or air, or vacuum.
Heat treat air cooling duct, assembly.
SUBTASK 75-24-49-370-053 Heat Treatment after the Repair
Refer to SPM TASK 70-23-05-230-501.
No cracks are permitted.
Do the test for cracks.
SUBTASK 75-24-49-230-059 Examine the Repaired Areas for Cracks
Refer to dimensions in Figure.
Dimensionally examine the repaired areas.
Maximum one blocked hole per repaired tube is permitted.
Examine air holes for blockage.
SUBTASK 75-24-49-220-066 Do the Post Repair Inspection
Figure: Repair Details and Dimensions
Repair Details and Dimensions

Repair Details and Dimensions

Repair Details and Dimensions

Figure: Repair Details and Dimensions
Repair Details and Dimensions

Repair Details and Dimensions

