Export Control
EAR Export Classification: Not subject to the EAR per 15 C.F.R. Chapter 1, Part 734.3(b)(3), except for the following Service Bulletins which are currently published as EAR Export Classification 9E991: SBE70-0992, SBE72-0483, SBE72-0580, SBE72-0588, SBE72-0640, SBE73-0209, SBE80-0024 and SBE80-0025.Copyright
© IAE International Aero Engines AG (2001, 2014 - 2021) The information contained in this document is the property of © IAE International Aero Engines AG and may not be copied or used for any purpose other than that for which it is supplied without the express written authority of © IAE International Aero Engines AG. (This does not preclude use by engine and aircraft operators for normal instructional, maintenance or overhaul purposes.).Applicability
All
Common Information
TASK 75-24-49-300-035 LPT ACC Cooling Air Ducts - Repair the Upper and Lower Air Cooling Duct Assemblies, Repair-035 (VRS4395)
Material of Component
PART IDENT | SYMBOL | MATERIAL |
Upper air cooling duct assembly | 1.4544.9 | |
Lower air cooling duct assembly | 1.4544.9 |
General
Price and availability - none.
This TASK describes the repair of the upper and lower cooling air duct assemblies with subsequent separated items as follows:
Replacement of the AN123291 RIVET - SOLID HEAD, refer to Step.
Replacement of the 4W0043 NUT, SELF LOCKING, ASSEMBLY OF - .190 DIA, refer to Step.
Replacement of the3A2402 SUPPORT - FRONT or 3A2421 SUPPORT - REAR, refer to Step and Step.
The practices and processes referred to in the procedure by the TASK number are in the SPM.
NOTE
Preliminary Requirements
Pre-Conditions
NONESupport Equipment
| Name | Manufacturer | Part Number / Identification | Quantity | Remark |
|---|---|---|---|---|
| Grinder, hand held pneumatic | LOCAL |
Consumables, Materials and Expendables
NONESpares
| Name | Manufacturer | Part Number / Identification | Quantity | Remark |
|---|---|---|---|---|
| NUT, SELF LOCKING, ASSEMBLY OF - .190 DIA | 0AM53 | 4W0043 | 2 | 02-200 |
| RIVET - SOLID HEAD | 88044 | AN123291 | 8 | 02-210 |
| SUPPORT - FRONT | 0AM53 | 3A2402 | 1 | 02-215 |
| SUPPORT - REAR | 0AM53 | 3A2421 | 1 | 02-220 |
| NUT, SELF LOCKING, ASSEMBLY OF - .190 DIA | 0AM53 | 4W0043 | 2 | 03-200 |
| RIVET - SOLID HEAD | 88044 | AN123291 | 8 | 03-210 |
| SUPPORT - FRONT | 0AM53 | 3A2402 | 1 | 03-215 |
| SUPPORT - REAR | 0AM53 | 3A2421 | 1 | 03-220 |
Safety Requirements
NONEProcedure
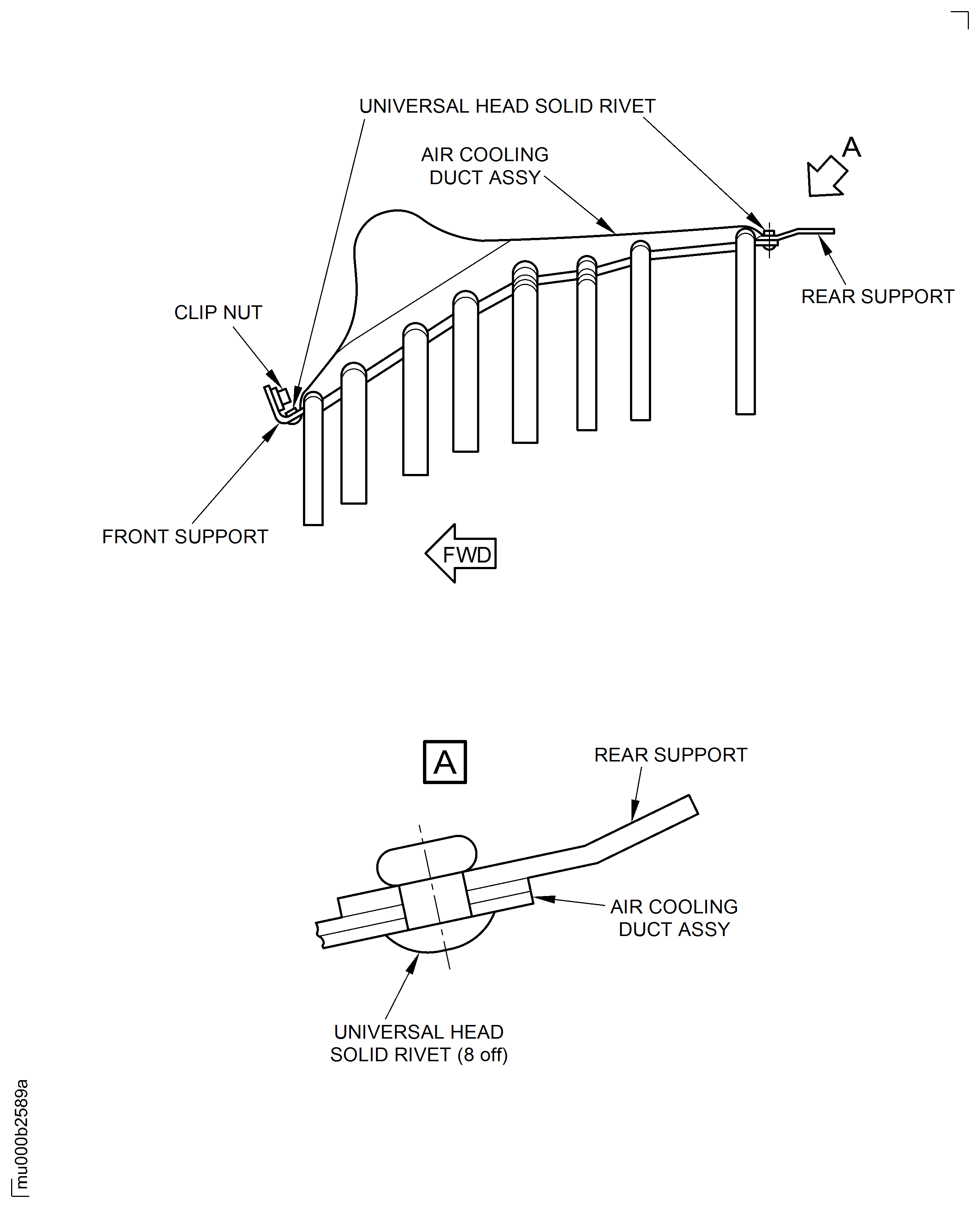
Refer to Figure.
Do not damage the upper and lower air cooling duct assemblies. Use Grinder, hand held pneumatic.
Grind off formed rivet heads of the universal head solid rivets.
Use minimal of force to avoid damage of the upper and lower air cooling assemblies.
Hit lightly the remaining material of the shaft and dowel.
Maximum diameter should not be more than 0.169 in. (4.30 mm).
Examine the inner diameter of the holes dimensionally.
Refer to SPM TASK 70-23-05-230-501. Use medium sensitivity level.
No cracks are permitted.
Do the test for cracks.
Refer to SPM TASK 70-39-03-390-501.
Install the new AN123291 RIVET - SOLID HEAD.
SUBTASK 75-24-49-350-112 Replace the Universal Head Solid Rivets (02-210 and 03-210)
Refer to Figure.
Remove the clip nuts.
Install the new 4W0043 NUT, SELF LOCKING, ASSEMBLY OF - .190 DIA on to the front support.
SUBTASK 75-24-49-350-113 Replace the Clip Nuts (02-200 and 03-300)
Refer to Figure.
Refer to Step
Remove the clip nuts.
Refer to Step
Remove the universal head solid rivets.
Remove the front support.
Refer to SPM TASK 70-39-03-390-501.
Install the 3A2402 SUPPORT - FRONT with the universal head solid rivets on to the upper and lower air cooling assemblies.
Refer to Step
Install the new clip nuts on to the front support.
SUBTASK 75-24-49-350-114 Replace the Front Support (02-215 and 03-215)
Refer to Figure.
Refer to Step
Remove the universal head solid rivets.
Remove the rear support.
Refer to SPM TASK 70-39-03-390-501.
Install the 3A2421 SUPPORT - REAR with the universal head solid rivets on to the upper and lower air cooling duct assemblies.
SUBTASK 75-24-49-350-115 Replace the Rear Support (02-220 and 03-220)
Refer to Figure.
Refer to SPM TASK 70-39-03-390-501.
Examine the quality of the riveting and the safety of the joints.
For dimensions refer to SPM TASK 70-39-03-390-501.
Examine the formed heads of the universal head solid rivets.
SUBTASK 75-24-49-220-142 Do the Post Repair Inspection
Figure: Repair the Upper and Lower Air Cooling Duct Assemblies
Repair the Upper and Lower Air Cooling Duct Assemblies

