DMC:V2500-A0-75-24-5100-01A-920A-CIssue No:001.00Issue Date:2014-05-01
Export Control
EAR Export Classification: Not subject to the EAR per 15 C.F.R. Chapter 1, Part 734.3(b)(3), except for the following Service Bulletins which are currently published as EAR Export Classification 9E991: SBE70-0992, SBE72-0483, SBE72-0580, SBE72-0588, SBE72-0640, SBE73-0209, SBE80-0024 and SBE80-0025.Copyright
© IAE International Aero Engines AG (2001, 2014 - 2021) The information contained in this document is the property of © IAE International Aero Engines AG and may not be copied or used for any purpose other than that for which it is supplied without the express written authority of © IAE International Aero Engines AG. (This does not preclude use by engine and aircraft operators for normal instructional, maintenance or overhaul purposes.).Applicability
All
Common Information
TASK 75-24-51-300-006 Active Clearance Control (ACC) Valve - Related Parts - Replace The Insert Of The Active Clearance Control (ACC) Housing Assembly, Repair-006 (VRS1519)
Effectivity
FIG/ITEM | PART NO. |
01-275 | 2A1512 |
01-275 | 2A1534 |
01-276 | 2A1587 |
01-276 | 2A3735 |
01-286 | 2A1588 |
01-286 | 2A3736 |
01-287 | 2A1589 |
01-287 | 2A3737 |
General
Price and availability - none.
The practices and processes referred to in the procedure by the TASK numbers are in the SPM.
For the method to clean the parts, refer to Cleaning-000 TASK 75-24-51-100-400.
NOTE
To identify the consumable materials, refer to the PCI.
Preliminary Requirements
Pre-Conditions
NONESupport Equipment
| Name | Manufacturer | Part Number / Identification | Quantity | Remark |
|---|---|---|---|---|
| Kit, Insert screw thread | LOCAL | Kit, Insert screw thread | ||
| Helicoil insert equipment | LOCAL | Helicoil insert equipment |
Consumables, Materials and Expendables
| Name | Manufacturer | Part Number / Identification | Quantity | Remark |
|---|---|---|---|---|
| CoMat 04-004 JOINTING COMPOUND, LIGHT GRADE | LOCAL | CoMat 04-004 |
Spares
NONESafety Requirements
NONEProcedure
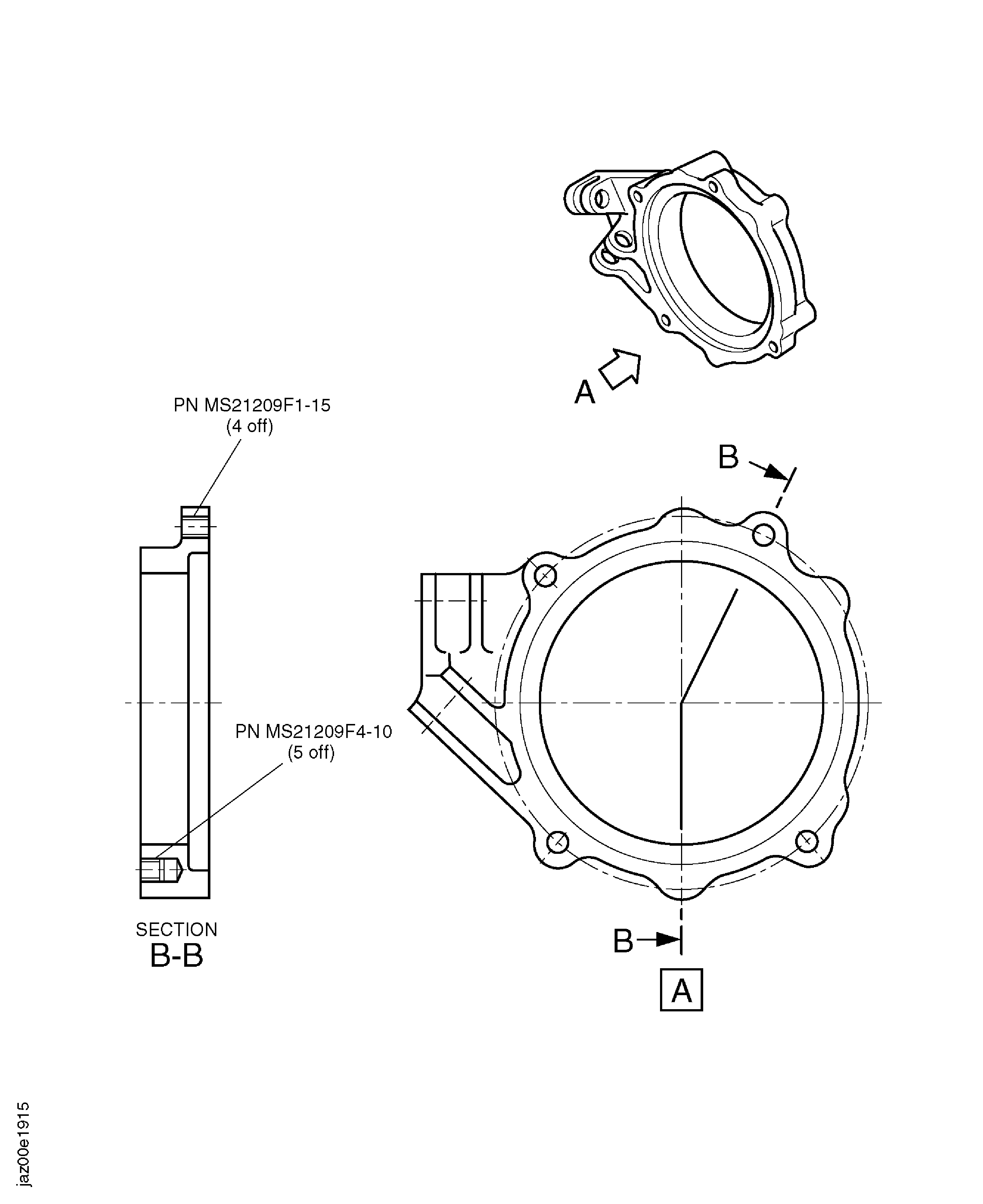
Refer to Figure.
Refer to SPM TASK 70-35-08-300-501.
Remove damaged helicoil inserts.
SUBTASK 75-24-51-350-002 Remove the Damaged Helicoil Inserts (01-294 and/or 01-296)
Refer to Figure.
Refer to SPM TASK 70-35-08-300-501.
Install new inserts.
SUBTASK 75-24-51-350-003 Install the New Inserts (01-294 and/or 01-296)
Refer to Figure.
Refer to SPM TASK 70-35-08-300-501.
Examine inserts and repaired area.
SUBTASK 75-24-51-220-098 Examine the Installed Inserts (01-294 and/or 01-296)
Figure: Replacement Of The Insert
Replacement Of The Insert

