Export Control
EAR Export Classification: Not subject to the EAR per 15 C.F.R. Chapter 1, Part 734.3(b)(3), except for the following Service Bulletins which are currently published as EAR Export Classification 9E991: SBE70-0992, SBE72-0483, SBE72-0580, SBE72-0588, SBE72-0640, SBE73-0209, SBE80-0024 and SBE80-0025.Copyright
© IAE International Aero Engines AG (2001, 2014 - 2021) The information contained in this document is the property of © IAE International Aero Engines AG and may not be copied or used for any purpose other than that for which it is supplied without the express written authority of © IAE International Aero Engines AG. (This does not preclude use by engine and aircraft operators for normal instructional, maintenance or overhaul purposes.).Applicability
All
Common Information
TASK 79-22-41-300-045 Oil Scavenge Pump - Related Parts - Repair The Internal Surfaces Of The Casing, Repair-045 (VRS5683)
General
Repair facilities.
The proprietary nature of this repair requires that any facility not authorized to accomplish this repair either utilize the Authorized Repair Vendors listed below or contact the IAE Repair Development Group to determine if a qualification program can be initiated at their facility.
IAE INTERNATIONAL AERO ENGINES AG
400 Main Street
East Hartford, CT 06108
Attn: Manager Repair Development
Authorized repair vendors for VRS5683 are given below:
Lufthansa Technik Intercoat GmbH
Kisdorfer Weg 36 - 38
24568 Kaltenkirchen,
Germany
Telephone: +49 4191 809 100
Fax: +49 4191 2826
E-Mail: service@1ht-intercoat.de
When IAE approves a repair vendor, the repair vendor has shown the ability to do the repair given in this TASK. However, IAE makes no warranties or representations about the qualifications or the quality standards of the repair vendors to do the repair work. IAE accepts no responsibility for any work a repair vendor does, other than when IAE is the repair vendor. Approved vendors do not act as agents or representatives of IAE.
Preliminary Requirements
Pre-Conditions
NONESupport Equipment
NONEConsumables, Materials and Expendables
NONESpares
NONESafety Requirements
NONEProcedure
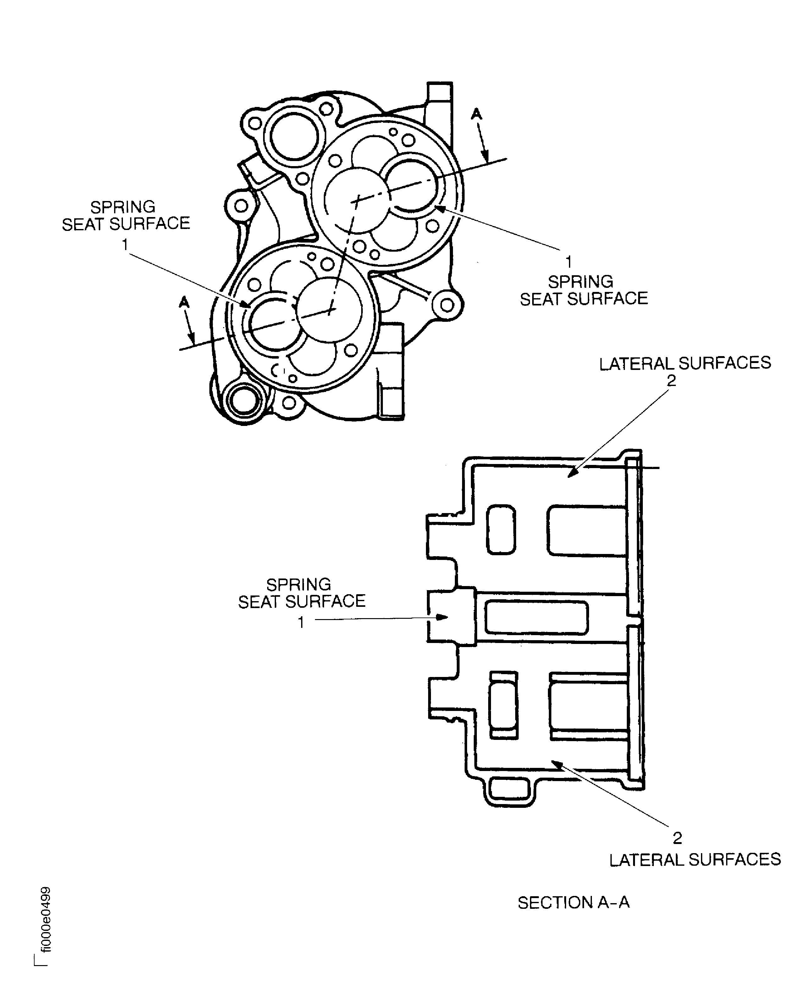
Refer to Figure.
Use Interfill proprietary filler. Machine the surfaces. The maximum depth of the surfaces before the filler application is 0.0197 in. (0.5 mm)
Repair the surfaces.
SUBTASK 79-22-41-350-096 Repair the Spring Seats Surfaces at Location 1
Refer to Figure.
Examine the surfaces. Refer to TASK 79-22-41-200-413.
SUBTASK 79-22-41-220-178 Examine the Spring Seats Surfaces at Location 1
Refer to Figure.
Refer to IAE approved repair vendor.
Repair No.280.002.000 Revision 02.
Use Interfill proprietary filler. Machine the surfaces. The maximum depth of the surfaces before the filler application is 0.0197 in. (0.5 mm)
Repair the surfaces.
SUBTASK 79-22-41-350-097 Repair the Gear Bores Lateral Machined Surfaces at Location 2
Refer to Figure.
Examine the surfaces. Refer to TASK 79-22-41-200-413.
SUBTASK 79-22-41-220-179 Examine the Gear Bores Lateral Machined Surfaces at Location 2
Figure: Repair detail and dimensions
Repair detail and dimensions

