Export Control
EAR Export Classification: Not subject to the EAR per 15 C.F.R. Chapter 1, Part 734.3(b)(3), except for the following Service Bulletins which are currently published as EAR Export Classification 9E991: SBE70-0992, SBE72-0483, SBE72-0580, SBE72-0588, SBE72-0640, SBE73-0209, SBE80-0024 and SBE80-0025.Copyright
© IAE International Aero Engines AG (2001, 2014 - 2021) The information contained in this document is the property of © IAE International Aero Engines AG and may not be copied or used for any purpose other than that for which it is supplied without the express written authority of © IAE International Aero Engines AG. (This does not preclude use by engine and aircraft operators for normal instructional, maintenance or overhaul purposes.).Applicability
All
Common Information
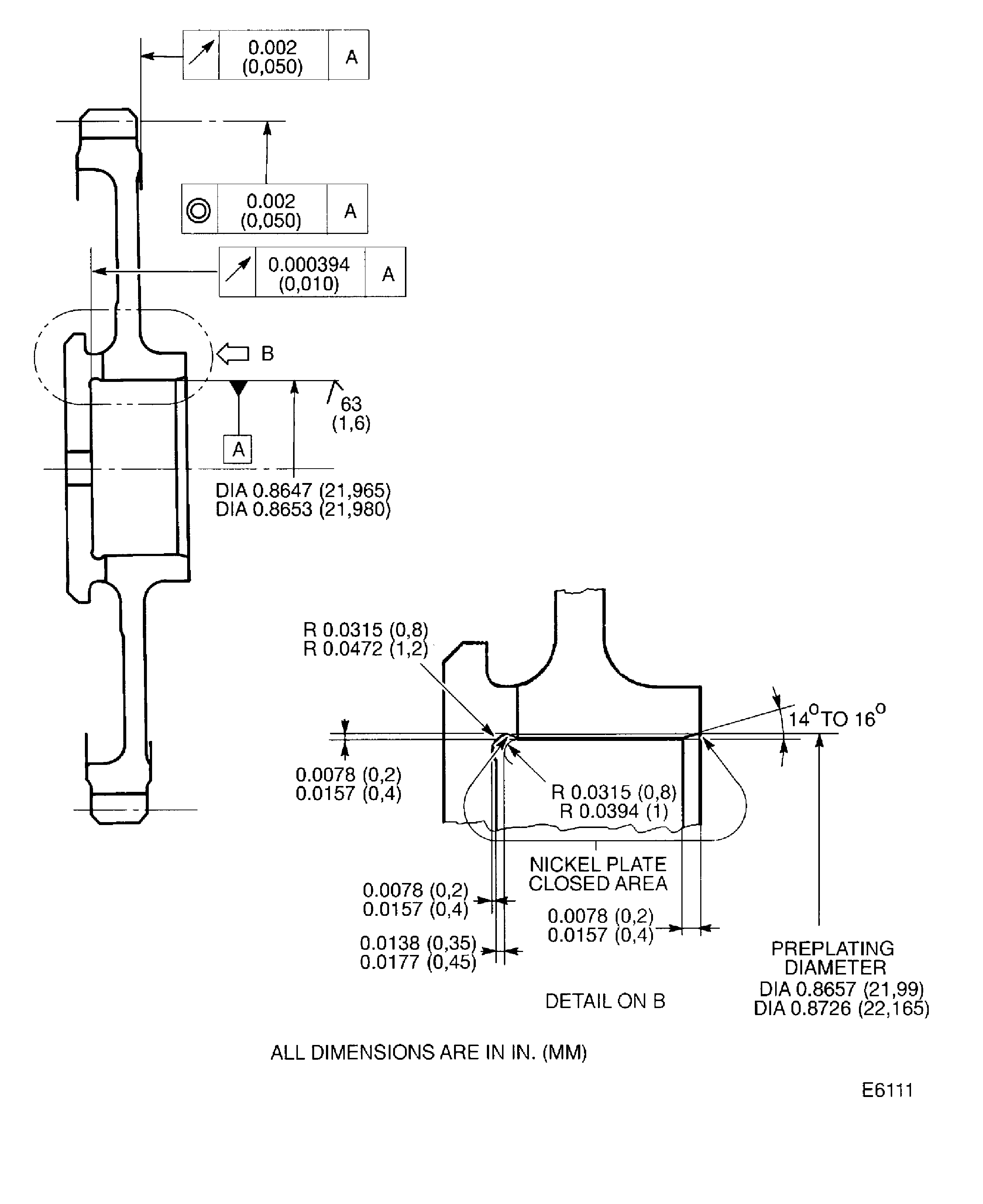
TASK 79-22-41-300-012 Oil Scavenge Pump - Related Parts - Nickel Plate The Inner Diameter Of The Drive Gear, Repair-012 (VRS5347)
General
Price and availability - none
The practices and processes referred to in the procedure by the TASK numbers are in the SPM.
NOTE
Preliminary Requirements
Pre-Conditions
NONESupport Equipment
| Name | Manufacturer | Part Number / Identification | Quantity | Remark |
|---|---|---|---|---|
| Workshop Inspection Equipment | LOCAL | Workshop Inspection Equipment | ||
| Grinding Machine | LOCAL | Grinding Machine | ||
| FPI inspection station | LOCAL | FPI inspection station | ||
| Basket | LOCAL | Basket | ||
| Process Plating Tanks | LOCAL | Process Plating Tanks | ||
| Oven | LOCAL | Oven | ||
| Magnifying glass | LOCAL | Magnifying glass | ||
| Vibrating marking pencil | LOCAL | Vibrating marking pencil |
Consumables, Materials and Expendables
| Name | Manufacturer | Part Number / Identification | Quantity | Remark |
|---|---|---|---|---|
| CoMat 02-067 STRIPPABLE COATING | 71410 | CoMat 02-067 |
Spares
NONESafety Requirements
NONEProcedure
Refer to Figure.
Remove all damage and wear. The inner diameter must be between 0.8657 and 0.8726 in. (21.990 and 22.165 mm) after the removal of the damage.
Keep the removal of the material to the minimum necessary, to remove the damage.
Machine the inner diameter.
SUBTASK 79-22-41-320-053 Machine the Inner Diameter of the Drive Gear
Refer to SPM TASK 70-24-01-240-501.
No cracks are permitted.
Do the magnetic particle inspection for cracks.
SUBTASK 79-22-41-430-051 Examine the Drive Gear
Refer to Figure.
Apply masking the areas of the drive gear not to be plated.
Refer to SPM TASK 70-33-08-300-503.
Plate to a sufficient thickness to permit machining to the last dimensions.
The plating out of the mating surface is permitted, but must be removed.
Do the nickel plating.
Remove the masking.
Flush with cold water.
Flush with hot water.
Dry with an air blast.
Clean and dry the drive gear.
SUBTASK 79-22-41-330-066 Nickel Plate the Inner Diameter of the Drive Gear
Do this procedure as soon as possible, in less than 4 hours, after plating.
Put the drive gear into an Oven at 349 to 400 deg F (176 to 204 deg C) for 4 hours
SUBTASK 79-22-41-370-052 De-embrittle the Drive Gear
Plating must have a constant color.
No circumferential cracks are permitted.
No roughness or blistering is permitted.
Do the visual inspection of the plating for finish, cracks and adhesion.
SUBTASK 79-22-41-220-158 Examine the Drive Gear
Refer to Figure.
The dimension of the inner diameter must be between 3.8647 and 3.8653 in. (21.965 and 21.980 mm).
Chamfer, where necessary.
Machine the inner diameter.
SUBTASK 79-22-41-320-054 Machine the Inner Diameter of the Drive Gear
Refer to Figure.
Use a 4X Magnifying glass. The natural network crack, emphasized by grinding is permitted.
Do the visual inspection of the plated area for cracks and adhesion.
Do not accept a thickness of less than 0.0006 in. (0.015 mm), after the last machining.
Measure the thickness of the plating.
SUBTASK 79-22-41-220-159 Examine the Nickel Plated Area
Refer to Figure.
Remove the metal lifted by marking.
Vibro-engrave VRS5347 adjacent to the part number.
SUBTASK 79-22-41-350-070 Record the Repair
Figure: Repair Details And Dimensions
Repair Details And Dimensions

