Export Control
EAR Export Classification: Not subject to the EAR per 15 C.F.R. Chapter 1, Part 734.3(b)(3), except for the following Service Bulletins which are currently published as EAR Export Classification 9E991: SBE70-0992, SBE72-0483, SBE72-0580, SBE72-0588, SBE72-0640, SBE73-0209, SBE80-0024 and SBE80-0025.Copyright
© IAE International Aero Engines AG (2001, 2014 - 2021) The information contained in this document is the property of © IAE International Aero Engines AG and may not be copied or used for any purpose other than that for which it is supplied without the express written authority of © IAE International Aero Engines AG. (This does not preclude use by engine and aircraft operators for normal instructional, maintenance or overhaul purposes.).Applicability
All
Common Information
TASK 79-22-43-300-019 Scavenge Oil Filter Housing - Related Parts - Repair The Drain Plug Bore By Threaded Plug In The Cover, Repair 019 (VRS5427)
General
Price and availability - none.
The practices and processes referred to in the procedure by the TASK numbers are in the SPM.
NOTE
Preliminary Requirements
Pre-Conditions
NONESupport Equipment
| Name | Manufacturer | Part Number / Identification | Quantity | Remark |
|---|---|---|---|---|
| Workshop inspection equipment | LOCAL | Workshop inspection equipment | ||
| Grinding machine | LOCAL | Grinding machine | ||
| Magnifying glass | LOCAL | Magnifying glass | ||
| Vibrating marking pencil | LOCAL | Vibrating marking pencil |
Consumables, Materials and Expendables
| Name | Manufacturer | Part Number / Identification | Quantity | Remark |
|---|---|---|---|---|
| CoMat 08-044 ADHESIVE | LOCAL | CoMat 08-044 | ||
| CoMat 08-111 ADHESIVE | LOCAL | CoMat 08-111 |
Spares
| Name | Manufacturer | Part Number / Identification | Quantity | Remark |
|---|---|---|---|---|
| PLUG - ,(VRS5427) | A3460 | 4L7015 | 1 | |
| PIN - ,(VRS5427) | A3460 | 4L7016 | 1 |
Safety Requirements
NONEProcedure
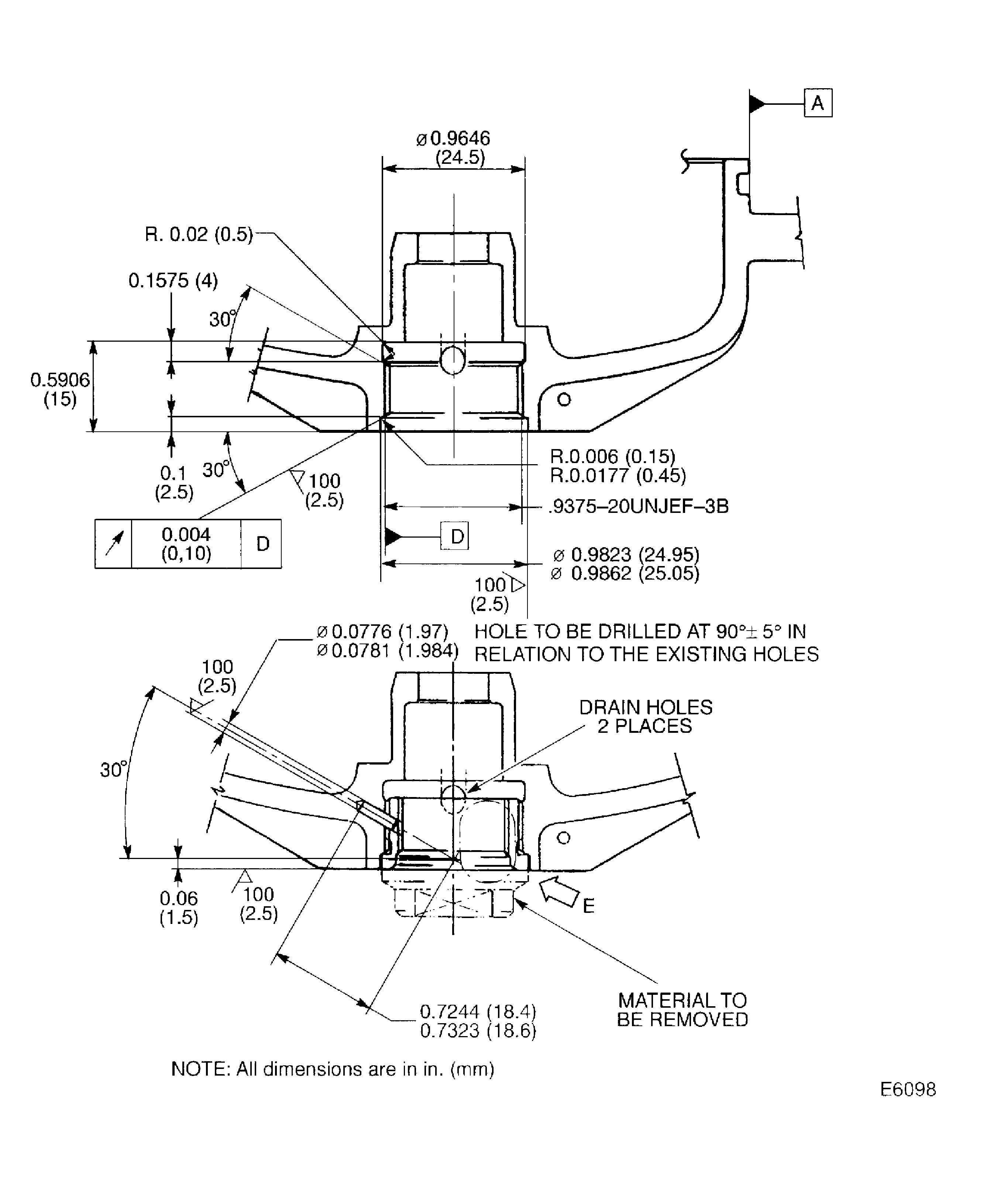
Refer to Figure.
Machine the Drain Plug Bore.
SUBTASK 79-22-43-320-051 Machine the Drain Plug Bore
Refer to Figure.
Use a Magnifying glass.
Inspect the cover for cracks in the locality of the machined bore.
SUBTASK 79-22-43-220-077 Examine the Cover
Refer to Figure.
Refer to SPM TASK 70-38-02-300-503.
Apply the chromate coversion coating to the threads and to the machined surfaces.
SUBTASK 79-22-43-330-059 Apply the Chromate Coversion Coating
Apply a layer of adhesive to the threads of the plug.
Tighten the plug by hand.
Install the plug into threaded hole in the cover.
SUBTASK 79-22-43-350-059 Install the Threaded Plug
Refer to Figure.
Record the position of the existing drain holes so that locking pin hole can be drilled 90 degrees away.
Machine the threaded plug.
Make sure that the external end of the pin is below the inner diameter of the plug.
Insert the locking pin.
Thread the inner diameter of the plug.
Accept not fully blocked by the repair plug.
Inspect the two drain holes.
SUBTASK 79-22-43-320-052 Machine the Threaded Plug
Refer to Figure.
Refer to SPM TASK 70-38-02-300-503.
Apply the chromate conversion coating to the threads and on the threads.
SUBTASK 79-22-43-330-060 Apply the Chromate Conversion Coating
Install the suitable blanks to the cover.
Apply a pressure of 71 psi (490.3 KPa).
No leaks are permitted.
Apply air at pressure.
SUBTASK 79-22-43-350-060 Do a Leak Test on the Cover
Refer to SPM TASK 70-09-01-400-501, SUBTASK 70-09-00-400-001.
Use the Vibrating marking pencil.
Mark VRS5427 adjacent to the part number.
SUBTASK 79-22-43-350-080 Identify the Repair
Figure: Repair Details and Dimensions
Repair Details and Dimensions

Repair Details and Dimensions

