DMC:V2500-A1-26-12-15-01A-941A-DIssue No:002.00Issue Date:2021-05-01
Export Control
EAR Export Classification: Not subject to the EAR per 15 C.F.R. Chapter 1, Part 734.3(b)(3), except for the following Service Bulletins which are currently published as EAR Export Classification 9E991: SBE70-0992, SBE72-0483, SBE72-0580, SBE72-0588, SBE72-0640, SBE73-0209, SBE80-0024 and SBE80-0025.Copyright
© IAE International Aero Engines AG (2001, 2014 - 2021) The information contained in this document is the property of © IAE International Aero Engines AG and may not be copied or used for any purpose other than that for which it is supplied without the express written authority of © IAE International Aero Engines AG. (This does not preclude use by engine and aircraft operators for normal instructional, maintenance or overhaul purposes.).Applicability
All
| Fig. Item | Part No. | Description | Effect/Model Applic. | UPA |
|---|---|---|---|---|
| 01 | ||||
| B26121501 | ACCESSORY ZONE FIRE DETECTOR - RIGHT, PRE SBN71-0129 | aa | ||
| SBN0129-01 | ACCESSORY ZONE FIRE DETECTOR - RIGHT, PRE SBN70-0130 | ab | ||
| SBN0130-01 | ACCESSORY ZONE FIRE DETECTOR - RIGHT, PRE SBN26-0005 | ac | ||
| SBN0005-01 | ACCESSORY ZONE FIRE DETECTOR - RIGHT, PRE SBN71-0272 | ad | ||
| SBN0272-01 | ACCESSORY ZONE FIRE DETECTOR - RIGHT | ae | ||
| 100 | 7702-01 | • DETECTOR - FIRE, ASSEMBLY OF 25693 PRE SBN70-0130 | aa-ab | 1 |
| 100A | 7702-02 | • DETECTOR - ASSEMBLY OF 25693 POST SBN70-0130 PRE SBN26-0005 | ac | 1 |
| 100B | 7702-03 | • DETECTOR - ASSEMBLY OF 25693 POST SBN26-0005 PRE SBN71-0272 | ac-ad | 1 |
| 100C | 7702-04 | • DETECTOR - ASSEMBLY OF 25693 POST SBN71-0272 | ae | 1 |
| 102 | 4W0103 | • BOLT - .190 DIA X .500 POST SBN26-0005 PRE SBN71-0272 | ad | 1 |
| 104 | SP154D | • WASHER - 0.190 DIA K7766 POST SBN26-0005 PRE SBN71-0272 | ad | 1 |
| 106 | 400WSS8 | • CLIP 83930 POST SBN26-0005 PRE SBN71-0272 | ad | 1 |
| 108 | 4W0001 | • NUT, OPTION - .190 DIA POST SBN26-0005 PRE SBN71-0272 | ad | 1 |
| 110 | 4W0103 | • BOLT - .190 DIA X .500 POST SBN26-0005 PRE SBN71-0272 | ad | 1 |
| 112 | SP154D | • WASHER - 0.190 DIA K7766 POST SBN26-0005 PRE SBN71-0272 | ad | 1 |
| 114 | 400WSS8 | • CLIP 83930 POST SBN26-0005 PRE SBN71-0272 | ad | 1 |
| 116 | 4W0001 | • NUT, OPTION - .190 DIA POST SBN26-0005 PRE SBN71-0272 | ad | 1 |
| 118 | 4W0103 | • BOLT - .190 DIA X .500 POST SBN26-0005 PRE SBN71-0272 | ad | 1 |
| 120 | SP154D | • WASHER - 0.190 DIA K7766 POST SBN26-0005 PRE SBN71-0272 | ad | 1 |
| 122 | 400WSS8 | • CLIP 83930 POST SBN26-0005 PRE SBN71-0272 | ad | 1 |
| 124 | 4W0001 | • NUT, OPTION - .190 DIA POST SBN26-0005 PRE SBN71-0272 | ad | 1 |
| 125 | AS21408 | • BOLT - .190 DIA X .500 U1653 PRE SBN26-0005 | aa-ac | 1 |
| 127 | SP154D | • WASHER - 0.190 DIA K7766 PRE SBN26-0005 | aa-ac | 1 |
| 129 | 400WSS8 | • CLIP 83930 PRE SBN26-0005 | aa-ac | 1 |
| 131 | SP154D | • WASHER - 0.190 DIA K7766 PRE SBN26-0005 | aa-ac | 1 |
| 132 | AS20624 | • NUT, SELF LOCKING DBL HEX - .190 DIA U1653 PRE SBN26-0005 | aa-ac | 1 |
| 133 | AS21408 | • BOLT - .190 DIA X .500 U1653 PRE SBN71-0129 | aa | 1 |
| 133A | AS21408 | • BOLT - .190 DIA X .500 U1653 POST SBN71-0129 PRE SBN26-0005 | ab-ac | 1 |
| 135 | SP154D | • WASHER - 0.190 DIA K7766 PRE SBN26-0005 | aa-ac | 1 |
| 137 | 400WSS8 | • CLIP 83930 PRE SBN26-0005 | aa-ac | 1 |
| 139 | SP154D | • WASHER - 0.190 DIA K7766 PRE SBN26-0005 | aa-ac | 1 |
| 140 | AS20624 | • NUT, SELF LOCKING DBL HEX - .190 DIA U1653 PRE SBN26-0005 | aa-ac | 1 |
| 141 | AS21408 | • BOLT - .190 DIA X .500 U1653 PRE SBN26-0005 | aa-ac | 1 |
| 143 | SP154D | • WASHER - 0.190 DIA K7766 PRE SBN26-0005 | aa-ac | 1 |
| 148 | 400WSS8 | • CLIP 83930 PRE SBN26-0005 | aa-ac | 1 |
| 149 | AS21408 | • BOLT - .190 DIA X .500 U1653 | aa-ae | 1 |
| 149A | AS21408 | • BOLT - .190 DIA X .500 U1653 ALT MS9556-06 | aa-ae | 1 |
| -149B | MS9556-06 | • BOLT - MACHINE, DOUBLE HEXAGON, EXTENDED WASHER HEAD, 0.190-32 X 0.500 96906 ALT AS21408 | aa-ae | REF |
| 153 | SP154D | • WASHER - 0.190 DIA K7766 | aa-ae | 1 |
| 156 | 400WSS8 | • CLIP 83930 | aa-ae | 1 |
| 157 | AS21408 | • BOLT - .190 DIA X .500 U1653 | aa-ae | 1 |
| 157A | AS21408 | • BOLT - .190 DIA X .500 U1653 ALT MS9556-06 | aa-ae | 1 |
| -157B | MS9556-06 | • BOLT - MACHINE, DOUBLE HEXAGON, EXTENDED WASHER HEAD, 0.190-32 X 0.500 96906 ALT AS21408 | aa-ae | REF |
| 159 | 400WSS8 | • CLIP 83930 | aa-ae | 1 |
| 165 | AS21408 | • BOLT - .190 DIA X .500 U1653 | aa-ae | 1 |
| 165A | AS21408 | • BOLT - .190 DIA X .500 U1653 ALT MS9556-06 | aa-ae | 1 |
| -165B | MS9556-06 | • BOLT - MACHINE, DOUBLE HEXAGON, EXTENDED WASHER HEAD, 0.190-32 X 0.500 96906 ALT AS21408 | aa-ae | REF |
| 167 | SP154D | • WASHER - 0.190 DIA K7766 | aa-ae | 1 |
| 169 | 400WSS8 | • CLIP 83930 | aa-ae | 1 |
| 173 | AS21408 | • BOLT - .190 DIA X .500 U1653 | aa-ae | 1 |
| 173A | AS21408 | • BOLT - .190 DIA X .500 U1653 ALT MS9556-06 | aa-ae | 1 |
| -173B | MS9556-06 | • BOLT - MACHINE, DOUBLE HEXAGON, EXTENDED WASHER HEAD, 0.190-32 X 0.500 96906 ALT AS21408 | aa-ae | REF |
| 174 | SP154D | • WASHER - 0.190 DIA K7766 | aa-ae | 1 |
| 176 | 400WSS8 | • CLIP 83930 | aa-ae | 1 |
| 178 | SP154D | • WASHER - 0.190 DIA K7766 | aa-ae | 1 |
| 180 | AS20624 | • NUT, SELF LOCKING DBL HEX - .190 DIA U1653 | aa-ae | 1 |
| 181 | AS21408 | • BOLT - .190 DIA X .500 U1653 | aa-ae | 1 |
| 182 | SP154D | • WASHER - 0.190 DIA K7766 | aa-ae | 1 |
| 184 | 400WSS8 | • CLIP 83930 | aa-ae | 1 |
| 186 | SP154D | • WASHER - 0.190 DIA K7766 | aa-ae | 1 |
| 188 | AS20624 | • NUT, SELF LOCKING DBL HEX - .190 DIA U1653 | aa-ae | 1 |
| 189 | AS21408 | • BOLT - .190 DIA X .500 U1653 | aa-ae | 1 |
| 191 | SP154D | • WASHER - 0.190 DIA K7766 | aa-ae | 1 |
| 193 | 400WSS8 | • CLIP 83930 | aa-ae | 1 |
| 197 | AS21408 | • BOLT - .190 DIA X .500 U1653 | aa-ae | 1 |
| 197A | AS21408 | • BOLT - .190 DIA X .500 U1653 ALT MS9556-06 | aa-ae | 1 |
| -197B | MS9556-06 | • BOLT - MACHINE, DOUBLE HEXAGON, EXTENDED WASHER HEAD, 0.190-32 X 0.500 96906 ALT AS21408 | aa-ae | REF |
| 199 | SP154D | • WASHER - 0.190 DIA K7766 | aa-ae | 1 |
| 201 | 400WSS8 | • CLIP 83930 | aa-ae | 1 |
| 205 | AS21408 | • BOLT - .190 DIA X .500 U1653 | aa-ae | 1 |
| 205A | AS21408 | • BOLT - .190 DIA X .500 U1653 ALT MS9556-06 | aa-ae | 1 |
| -205B | MS9556-06 | • BOLT - MACHINE, DOUBLE HEXAGON, EXTENDED WASHER HEAD, 0.190-32 X 0.500 96906 ALT AS21408 | aa-ae | REF |
| 207 | 400WSS8 | • CLIP 83930 | aa-ae | 1 |
| 209 | SP154D | • WASHER - 0.190 DIA K7766 | aa-ae | 1 |
| 212 | AS20624 | • NUT, SELF LOCKING DBL HEX - .190 DIA U1653 | aa-ae | 1 |
| 213 | AS21408 | • BOLT - .190 DIA X .500 U1653 | aa-ae | 1 |
| 213A | AS21408 | • BOLT - .190 DIA X .500 U1653 ALT MS9556-06 | aa-ae | 1 |
| -213B | MS9556-06 | • BOLT - MACHINE, DOUBLE HEXAGON, EXTENDED WASHER HEAD, 0.190-32 X 0.500 96906 ALT AS21408 | aa-ae | REF |
| 215 | SP154D | • WASHER - 0.190 DIA K7766 | aa-ae | 1 |
| 217 | 400WSS8 | • CLIP 83930 | aa-ae | 1 |
| 221 | 400WSS8 | • CLIP 83930 | aa-ae | 1 |
| 229 | 400WSS8 | • CLIP 83930 | aa-ae | 1 |
| 233 | 400WSS8 | • CLIP 83930 POST SBN71-0272 | ae | 1 |
| 243 | 400WSS8 | • CLIP 83930 POST SBN71-0272 | ae | 1 |
| 250 | AS21408 | • BOLT - .190 DIA X .500 U1653 POST SBN71-0272 | ae | 1 |
| 250A | AS21408 | • BOLT - .190 DIA X .500 U1653 ALT MS9556-06 | aa-ae | 1 |
| -250B | MS9556-06 | • BOLT - MACHINE, DOUBLE HEXAGON, EXTENDED WASHER HEAD, 0.190-32 X 0.500 96906 ALT AS21408 | aa-ae | REF |
| 251 | SP154D | • WASHER - 0.190 DIA K7766 POST SBN71-0272 | ae | 1 |
| 253 | 400WSS8 | • CLIP 83930 POST SBN71-0272 | ae | 1 |
| 257 | 4W0001 | • NUT, OPTION - .190 DIA Optional Part 4W0001 POST SBN71-0272 | ae | 1 |
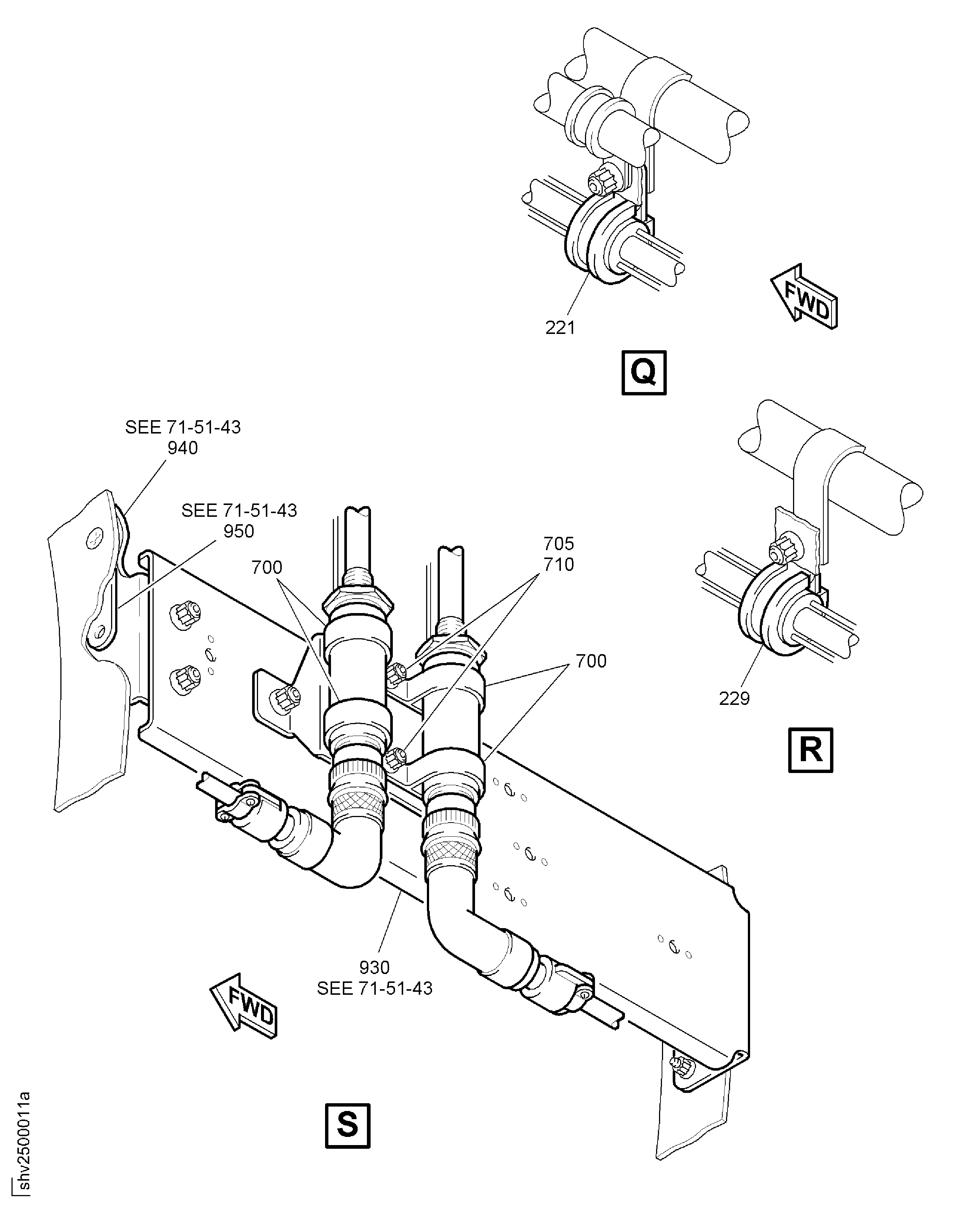
| 700 | TA12C59H16CC | • CLIP 84971 | aa-ae | 4 |
| 705 | SP154D | • WASHER - 0.190 DIA K7766 | aa-ae | 2 |
| 710 | AS21408 | • BOLT - .190 DIA X .500 U1653 | aa-ae | 2 |
| 710A | AS21408 | • BOLT - .190 DIA X .500 U1653 ALT MS9556-06 | aa-ae | 2 |
| -710B | MS9556-06 | • BOLT - MACHINE, DOUBLE HEXAGON, EXTENDED WASHER HEAD, 0.190-32 X 0.500 96906 ALT AS21408 | aa-ae | REF |
| -895 | 740-5282-501 | • BRACKET - ASSEMBLY OF 51563 | aa-ae | REF |
| -910 | 740-5713-503 | • BRACKET 51563 Optional Part 740-5713-503 | aa-ae | REF |
| -920 | 740-5641-503 | • BRACKET 51563 Optional Part 740-5641-503 | aa-ae | REF |
| -930 | 740-5050-503 | • RAFT - ASSEMBLY OF 51563 | aa-ae | REF |
| -940 | 740-5180-503 | • BRACKET 51563 Optional Part 740-5180-503 | aa-ae | REF |
| -940A | 740-5180-505 | • BRACKET - ASSEMBLY OF 51563 | aa-ae | REF |
| -950 | 740-5923-501 | • PACKING, PIECE 51563 | aa-ae | REF |
| -960 | 740-5281-501 | • BRACKET - ASSEMBLY OF 51563 | aa-ae | REF |
| - ITEM NOT ILLUSTRATED, ***** EFFECTIVITY NOT AVAILABLE | ||||
Figure: ACCESSORY ZONE FIRE DETECTOR-RIGHT
DETECTOR FIRE ACCESSORY

DETECTOR FIRE ACCESSORY

DETECTOR FIRE ACCESSORY

DETECTOR FIRE ACCESSORY

DETECTOR FIRE ACCESSORY

DETECTOR FIRE ACCESSORY

DETECTOR FIRE ACCESSORY

DETECTOR FIRE ACCESSORY

