TASK 72-00-45-220-001-A00 HPT Assembly - Examine The HP System Module At Interface D-45, Inspection-001

DMC:V2500-A1-72-00-4500-00A-300A-B|Issue No:001.00|Issue Date:2014-05-01

Export Control

EAR Export Classification: Not subject to the EAR per 15 C.F.R. Chapter 1, Part 734.3(b)(3), except for the following Service Bulletins which are currently published as EAR Export Classification 9E991: SBE70-0992, SBE72-0483, SBE72-0580, SBE72-0588, SBE72-0640, SBE73-0209, SBE80-0024 and SBE80-0025.

Copyright

© IAE International Aero Engines AG (2001, 2014 - 2021) The information contained in this document is the property of © IAE International Aero Engines AG and may not be copied or used for any purpose other than that for which it is supplied without the express written authority of © IAE International Aero Engines AG. (This does not preclude use by engine and aircraft operators for normal instructional, maintenance or overhaul purposes.).

Applicability

V2500-A1

Common Information

TASK 72-00-45-220-001-A00 HPT Assembly - Examine The HP System Module At Interface D-45, Inspection-001

General

The word 'Reject' is used after an interface inspection statement to show that a higher level inspection and possible repair to the damaged part is necessary.

Do the higher level inspection procedure as found in the applicable Chapter/Section/Subject of this manual on the damaged part(s). It is not necessary to do the higher level inspection on parts that are serviceable to the interface inspection standard.

Refer to TASK 72-00-00-200-000 (INSPECTION/CHECK-000) (examine the modular/non-modular interfaces) before you do this TASK.

The policy that is necessary for inspection is given in the SPM TASK 70-20-01-200-001.

Decreased module run time can result if you install modules again that are near the maximum interface limits.

All parts must be visually examined for damage, corrosion and wear. All defects (distress, missing hardware etc.) that are not identified in the procedure must be documented and referred to IAE Technical Services.

NOTE

Special tools are identified in the procedure by the tool primary number.

Preliminary Requirements

Pre-Conditions

NONE

Support Equipment

NameManufacturerPart Number / IdentificationQuantityRemark
IAE 1P16142 Stiffener0AM53IAE 1P161421

Consumables, Materials and Expendables

NONE

Spares

NONE

Safety Requirements

NONE

Procedure

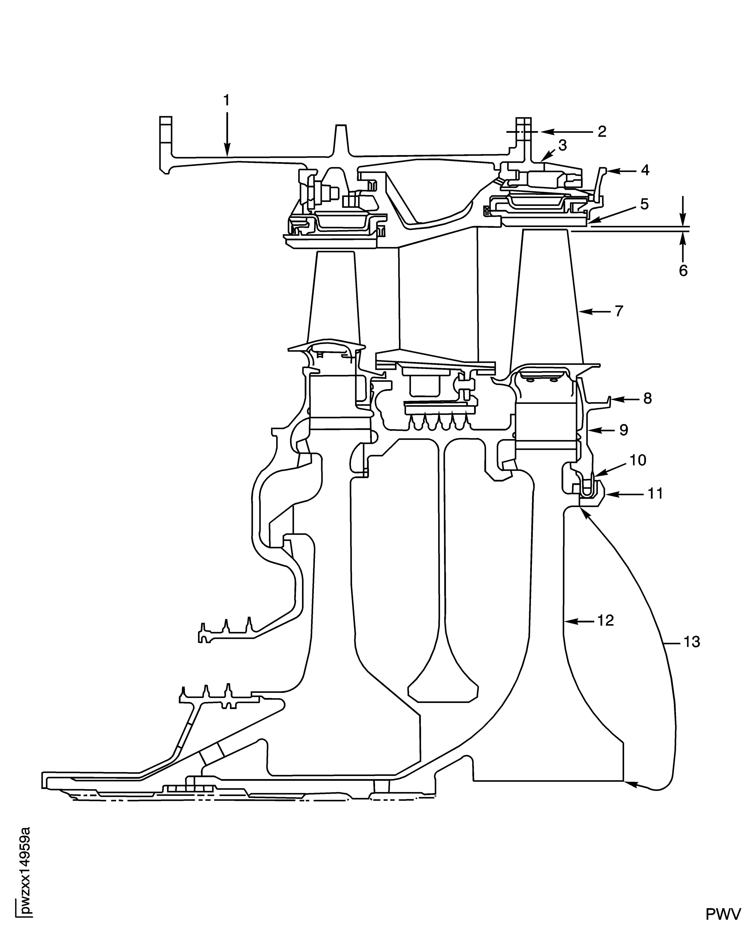
    1. SUBTASK 72-00-45-220-068 Visually Examine the Case Surface at Location 1

    2. Refer to Figure.

      1. Surface damage, dents, scratches, burrs and round bottom nicks up to 0.010 in. (0.254 mm) deep with no sharp edges

      2. Accept

      1. Sharp bottom nicks

      2. Reject

      1. Cracks

      2. Reject

    1. SUBTASK 72-00-45-220-069 Visually Examine the Bolt Holes of the Case and Support at Location 2

    2. Refer to Figure.

      1. Surface damage, dents, scratches, burrs and round bottom nicks up to 0.010 in. (0.254 mm) deep with no sharp edges

      2. Accept

      1. Sharp bottom nicks

      2. Reject

      1. Cracks

      2. Reject

    1. SUBTASK 72-00-45-220-070 Visually Examine the Diameter of the Support Flange at Location 3

    2. Refer to Figure.

      1. Round-bottom dents up to 0.250 in. (6.35 mm) in diameter and 0.010 in. (0.254 mm) in depth

      2. Accept

      1. Wear up to 25 percent of the contact surface

      2. Accept

      1. Other than Step or Step

      2. Reject

    1. SUBTASK 72-00-45-220-071 Visually Examine the Rear Seal of the HP Turbine at Location 4

    2. Refer to Figure.

      1. Distortion

      2. Reject

      1. Hardface is missing from more than 10 percent of the circumference

      2. Reject

      1. Cracks

      2. Reject

    1. SUBTASK 72-00-45-220-072-A00 Visually Examine the Stage 2 Ceramic Outer Airseals at Location 5 (Pre SBE 72-0364)

    2. Refer to Figure.

      1. There is metal from the blades on the airseals

      2. Accept

      1. Any segment that has spalling or chipping down to the metal layer (dark color layer) for up to:

        1. 50 per cent of the ceramic

        2. Accept

        1. 75 per cent of the ceramic

        2. Accept, but can result in EGT margin loss at pass off and a reduction in the repairability of the duct segment at the next overhaul

      1. Cracks in the ceramic (white layer of the coating)

      2. Accept

      1. There is a maximum of two cracks up to 0.250 in. (6.35 mm) in length in the metal (gray) layer of the coating

      2. Accept

      1. Other than Step, Step, Step and Step

      2. Reject

    1. SUBTASK 72-00-45-220-072-B00 Visually Examine the Stage 2 Ceramic Outer Airseals at Location 5 (SBE 72-0364)

    2. Refer to Figure.

      1. There is metal from the blades on the airseals

      2. Accept

      1. Any segment that has spalling or chipping down to the metal layer (dark color layer) for up to:

        1. 50 per cent of the ceramic

        2. Accept

        1. 75 per cent of the ceramic

        2. Accept, but can result in EGT margin loss at pass off and a reduction in the repairability of the duct segment at the next overhaul

      1. Cracks in the ceramic (white layer of the coating)

      2. Accept

      1. There is a maximum of two cracks up to 0.250 in. (6.35 mm) in length in the metal (gray) layer of the coating

      2. Accept

      1. Other than Step, Step, Step and Step

      2. Reject

    1. SUBTASK 72-00-45-220-073 Measure the Stage 2 Turbine Blade Tip Clearance at Location 6

    2. Refer to Figure.

    3. NOTE

      This stiffener is required to do this inspection. The HP turbine case assembly and the stage 2 HPT seal must be held for this inspection.

      Install the IAE 1P16142 Stiffener 1 off to the rear flange of the HP turbine case assembly.

      1. Measure at eight equally spaced locations in the axial center of the rub groove. Do not rotate the rotor.

        1. More than 0.096 in. (2.438 mm) (average of eight measurements)

        2. Reject

    4. Remove the stiffener.

    1. SUBTASK 72-00-45-220-074 Visually Examine the Stage 2 Turbine Blades at Location 7

    2. Refer to Figure and Figure.

      1. Nicks, dents and holes on the airfoil.

        1. If the nick or dent is in area B or C, has cracks and nick or dent plus crack is more than 0.080 in. (2.03 mm) long axially and/or more than 0.150 in. (3.81 mm) long radially

        2. Reject

        1. If the nick or dent is in area B or C, has a hole or a hole with cracks and the nick or dent plus the hole or hole with a crack is more than 0.080 in. (2.03 mm) long axially and/or more than 0.150 in. (3.81 mm) long radially

        2. Reject

        1. If the hole is in area B or C and is more than 0.030 in. (0.76 mm) long axially and/or more than 0.040in. (1.02 mm) long radially

        2. Reject

        1. If the nick or dent is in area A, has cracks and the nick or dent plus crack is more than 0.040 in. (1.02 mm) long axially and/or more than 0.070 in. (1.78 mm) long radially

        2. Reject

        1. If the nick or dent has a hole or a hole with cracks at the limits given in (1)

        2. Reject

        1. If the nick is in area D

        2. Reject

        1. If there is more than one hole, (not counting the manufacturing holes)

        2. Reject

        1. The dent is in Area D and has a depth greater than 0.015 in. (0.38 mm) or does not have a smooth bottom or has cracks

        2. Reject

        1. The nick or dent is in 0.050 in. (1.27 mm) of the trailing edge

        2. Reject

      1. Erosion or burns on the airfoil or platforms.

        1. If the erosion or burn is on the airfoil trailing edge in area D

        2. Reject

        1. If the erosion or burn is on the airfoil trailing edge in area C and is more than 0.070 in. (1.78 mm) long axially and/or more than 0.150 in. (3.81 mm) long radially

        2. Reject

        1. If the erosion or burn is on the leading edge and is more than 20 percent of the airfoil radial length

        2. Reject

        1. If the erosion or burn is on the leading edge and has changed the shape of the airfoil

        2. Reject

        1. If the erosion or burn on the airfoil or platform has gone through the coating. This does not include burns on the leading edge

        2. Reject

        1. If the erosion or burn has an adjacent area which shows signs of cracks

        2. Reject

        1. If the erosion or burn on the airfoil or platform shows internal areas. The internal areas are where the air goes that cools the blade

        2. Reject

        1. If the burn on the airfoil or platform changes the shape of the airfoil. This does not include burns on the leading edge

        2. Reject

        1. If the burn on the platform increases the gap with the adjacent platform to more than 0.040 in. (1.02 mm)

        2. Reject

        1. If the burn on the platform has moved into the airfoil to platform fillet radius

        2. Reject

      1. Cracks on the airfoil.

        1. If the crack is in the trailing edge

        2. Reject

        1. If the crack is in area B or C and is more than 0.070 in. (1.78 mm) long axially and/or more than 0.150 in. (3.81 mm) long radially

        2. Reject

        1. If the crack is in area A and is more than 0.040 in. (1.02 mm) long axially and/or more than 0.070 in. (1.78 mm) long radially

        2. Reject

        1. If the crack in the airfoil goes through or touches other cracks

        2. Reject

      1. Cracks on the platform.

        1. If there are cracks that are longer than 0.100 in. (2.54 mm)

        2. Reject

        1. If there is a crack that goes through the platform to the airfoil fillet radius

        2. Reject

      1. Discoloration and/or deposits on the airfoil or platform

      2. Accept

    1. SUBTASK 72-00-45-220-075 Visually Examine the Knife-Edge of the Retaining Plate at Location 8

    2. Refer to Figure.

      1. Cracks, nicks or bent

      2. Reject

    1. SUBTASK 72-00-45-220-076 Visually Examine the Surface of the Retaining Plate at Location 9

    2. Refer to Figure.

      1. Surface damage, dents, scratches, burrs and round bottom nicks up to 0.004 in. (0.102 mm) deep with no sharp edges

      2. Accept

      1. Sharp bottom nicks

      2. Reject

      1. Cracks

      2. Reject

    1. SUBTASK 72-00-45-220-077 Visually Examine the Stage 2 Rear Sideplate Sheetmetal Lock and Key Assemblies at Location 10

    2. Refer to Figure.

      1. Cracks

      2. Reject

    1. SUBTASK 72-00-45-220-078 Visually Examine the Stage 2 Rear Sideplate Tabs and the Stage 2 Disk Rear Retaining Lugs at Location 11

    2. Refer to Figure.

      1. Cracks

      2. Reject

    1. SUBTASK 72-00-45-220-079 Visually Examine the Disk Surface at Location 12

    2. Refer to Figure.

      1. Nicks or dents

      2. Reject

    1. SUBTASK 72-00-45-220-210 Visually Examine the Disk Surface at Location 13

    2. Refer to Figure.

      1. Ink marking only or no marking

      2. Accept

      1. Marking of part number that penetrates below disk surface

      2. Repair, VRS3704 TASK 72-45-31-300-013 (REPAIR-013)

  1. Figure: Locations at Interface D-45

    Locations at Interface D-45

    Figure: Stage 2 HPT Blade Inspection Areas

    Sheet 1

    Legend
    Stage 2 HPT Blade Inspection Areas

    Sheet 1

    Close

    Figure: Stage 2 HPT Blade Inspection Areas

    Sheet 2

    Legend
    Stage 2 HPT Blade Inspection Areas

    Sheet 2

    Close

Requirements After Job Completion

Follow-On Conditions

NONE
Manufacturer Code:0AM53
Enterprise Name:IAE INTERNATIONAL AERO ENGINES AG
BU Name:NULL
Building:SUITE 400
Street:628 HEBRON AVENUE
City:GLASTONBURY
State:CT
Zip Code:06033
Country:USA
Manufacturer Code:0AM53
Tool Number:IAE 1P16142
Tool Name:IAE 1P16142 Stiffener