Export Control
EAR Export Classification: Not subject to the EAR per 15 C.F.R. Chapter 1, Part 734.3(b)(3), except for the following Service Bulletins which are currently published as EAR Export Classification 9E991: SBE70-0992, SBE72-0483, SBE72-0580, SBE72-0588, SBE72-0640, SBE73-0209, SBE80-0024 and SBE80-0025.Copyright
© IAE International Aero Engines AG (2001, 2014 - 2021) The information contained in this document is the property of © IAE International Aero Engines AG and may not be copied or used for any purpose other than that for which it is supplied without the express written authority of © IAE International Aero Engines AG. (This does not preclude use by engine and aircraft operators for normal instructional, maintenance or overhaul purposes.).Applicability
V2500-A1 and Pre SBE 72-0063
Common Information
TASK 72-00-50-020-003-A00 LPT Module - Remove The Turbine Exhaust Case (Horizontal) - Method 2, Removal-004 - Pre SBE 72-0063
General
Apply the approved penetrating oil before the removal of threaded parts. Let the parts soak before removal. For the approved oils and procedures, refer to the SPM TASK 70-64-00-640-501.
Discard all rubber seal rings, cotter pins and keywashers removed in this procedure.
NOTE
Preliminary Requirements
Pre-Conditions
NONESupport Equipment
| Name | Manufacturer | Part Number / Identification | Quantity | Remark |
|---|---|---|---|---|
| Electronic Balance Scale | LOCAL | Electronic Balance Scale | 1 | |
| IAE 1F10016 Mechanical wrench | 0AM53 | IAE 1F10016 | 1 | |
| IAE 1F10026 Hydraulic hand pump | 0AM53 | IAE 1F10026 | 1 | |
| IAE 1F10035 Hydraulic Removal puller | 0AM53 | IAE 1F10035 | 1 | |
| IAE 1F10036 Removal puller | 0AM53 | IAE 1F10036 | 1 | |
| IAE 1F10037 Wrench support | 0AM53 | IAE 1F10037 | 1 | |
| IAE 1F10038 Torque wrench | 0AM53 | IAE 1F10038 | 1 | |
| IAE 1F10039 Anti-torque adapter | 0AM53 | IAE 1F10039 | 1 | |
| IAE 1F10040 Anchor wrench plate | 0AM53 | IAE 1F10040 | 1 | |
| IAE 1F10051 Two cable sling | 0AM53 | IAE 1F10051 | 1 | |
| IAE 1F10073 remove/installation fixture | 0AM53 | IAE 1F10073 | 1 | |
| IAE 1F10074 Guide pogo stick | 0AM53 | IAE 1F10074 | 1 | |
| IAE 1F10075 Support pedestal | 0AM53 | IAE 1F10075 | 2 | |
| IAE 1F10178 Storage and Turnover adapter | 0AM53 | IAE 1F10178 | 1 | |
| IAE 1J12221 Impact hammer | 0AM53 | IAE 1J12221 | 1 | |
| IAE 1M14086 Supporting fixture | 0AM53 | IAE 1M14086 | 1 | |
| IAE 1M14461 Supporting fixture | 0AM53 | IAE 1M14461 | 1 | |
| IAE 1P16374 Wrench support | 0AM53 | IAE 1P16374 | 1 | |
| IAE 1P16377 Guide support | 0AM53 | IAE 1P16377 | 1 | |
| IAE 1P16426 remove/installation driver | 0AM53 | IAE 1P16426 | 1 | |
| IAE 1P17038 Slide puller | 0AM53 | IAE 1P17038 | 1 | |
| IAE 1P17039 Slide puller | 0AM53 | IAE 1P17039 | 1 |
Consumables, Materials and Expendables
NONESpares
NONESafety Requirements
NONEProcedure
NOTE
If the compartment cover and the turbine blind cap are not installed continue with Step.Remove the module dressings. Refer to TASK 72-00-50-020-001-A00 (REMOVAL-001 CONFIG-001).
SUBTASK 72-00-50-020-140 Remove the Module Dressings
Refer to Figure.
Make sure that the expansion case of the IAE 1F10036 Removal puller 1 off is at the rear position.
Do Step until the compartment cover is free from the exhaust case.
SUBTASK 72-00-50-020-141-A00 Remove the No. 5 Bearing Compartment Cover (Pre SBE 72-0173)
Refer to Figure.
Make sure that the three jaws of the IAE 1P17038 Slide puller 1 off are in the outward position. Make sure that the three jaws are correctly engaged behind the flange at the compartment cover.
Do Step until the compartment cover is free from exhaust case.
SUBTASK 72-00-50-220-141-B00 Remove the No. 5 Bearing Compartment Cover (SBE 72-0173)
Refer to Figure.
Install the IAE 1J12221 Impact hammer 1 off into the turbine shaft. Make sure that the piston of the impact hammer is correctly aligned with the turbine shaft.
Do Step until the blind cap is free from the turbine shaft.

CAUTION
DO NOT DAMAGE THE SURFACE OF THE BLIND CAP SLOT WITH THE HAND TOOLS WHEN YOU REMOVE THE SEALING RING. DAMAGE TO THE SURFACE CAN CAUSE AN OIL LEAK.NOTE
If the removal of the No. 5 bearing inner-race and the carbon seal is necessary continue with Step.Remove and discard the sealing ring from the blind cap.
SUBTASK 72-00-50-020-142 Remove the Blind Cap of the LP Turbine Shaft
Refer to Figure.
Attach the IAE 1F10037 Wrench support 1 off to the rear flange of the TEC.
Install the IAE 1F10038 Torque wrench 1 off through the wrench support. Engage the torque wrench with the rear lock nut of the LP turbine shaft.
Install the IAE 1F10039 Anti-torque adapter 1 off through the torque wrench. Lock the anti-torque adapter to the LP turbine shaft.
Install the IAE 1F10016 Mechanical wrench 1 off to the torque wrench. Lock the anti-torque adapter to the mechanical wrench with the IAE 1F10040 Anchor wrench plate 1 off.
SUBTASK 72-00-50-020-143 Remove the Rear Lock Nut
Refer to Figure.
SUBTASK 72-00-50-020-144 Disconnect the Oil Feed Tube of the No.5 Bearing
Refer to Figure.
Release and remove the oil filter from the oil jet. Use the IAE 1P16426 remove/installation driver 1 off.
SUBTASK 72-00-50-020-145 Remove the Oil Jet and Filter of the No.5 Bearing
Refer to Figure.
Install the IAE 1F10074 Guide pogo stick 1 off in the inner diameter of the LP turbine shaft. Use an applicable webbing sling.
Put the IAE 1F10075 Support pedestal A 1 off below the guide pogo stick. Move the support pedestal A near the rear flange of the TEC. Turn the handwheel A until the pedestal-screw touches the guide pogo stick. Lock the pedestal-screw in that position with the handwheel B.
SUBTASK 72-00-50-020-146 Install the Guide Pogo Stick to the LP Turbine Shaft
Refer to Figure.
Put the IAE 1F10075 Support pedestal B 1 off below the rear end of the guide pogo stick. Refer to Step.
SUBTASK 72-00-50-020-147 Install the Remove/Installation Fixture to the TEC
NOTE
Make sure that the jack screw of the IAE 1F10073 remove/installation fixture 1 off is in the rear position.Refer to Figure.
Attach the electronic balance scale to the hoist equipment. Attach the IAE 1F10051 Two cable sling 1 off to the balance scale. Connect the two cables sling to the front two spools, part of the IAE 1F10073 remove/installation fixture 1 off.

CAUTION
MAKE SURE THAT THE BALANCE SCALE REMAINS AT THE INDICATED WEIGHT OF APPROXIMATELY 815 LB (370 KG).Release the handwheel B of the support pedestal B. Turn the handwheel A. Make sure that the pedestal screw touches the guide pogo stick. Take the weight of the LP turbine rotor. Lock with the handwheel B.

CAUTION
HOLD THE BOLTS IN THEIR POSITION WHEN YOU LOOSEN AND REMOVE THE NUTS FROM THE BOLTS. DO NOT TURN THE BOLTS OR MAKE TO-AND-FRO MOVEMENTS. THE LP TURBINE CASE/TURBINE EXHAUST CASE FLANGE AND/OR THE BOLTS CAN BE DAMAGED.Remove the 114 bolts, washers, nuts and 16 brackets from the TEC and from the LP turbine case.
NOTE
Control the weight increase on the balance scale of the LP turbine rotor which remains on the guide pogo stick.Turn the jack screw (part of the remove/installation fixture) clockwise until the TEC and the LP turbine case are disconnected. Make sure that the carbon seal and the inner/outer races of the No.5 bearing are disengaged.
SUBTASK 72-00-50-020-148 Remove the TEC from the LP Turbine Case
Refer to Figure.
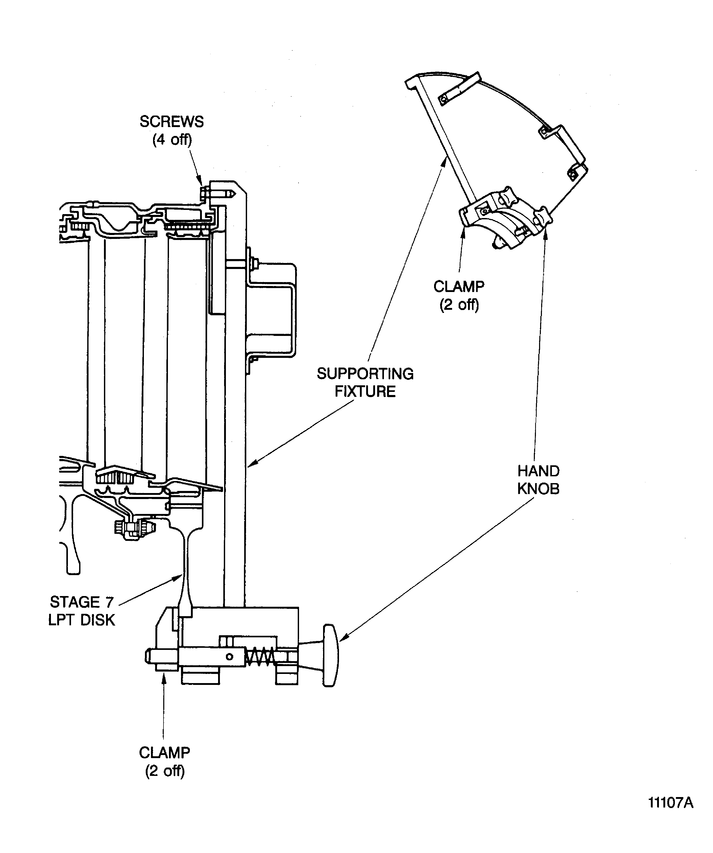
Install the IAE 1M14086 Supporting fixture or the IAE 1M14461 Supporting fixture 1 off at the 12 o'clock position on the rear flange of the LP turbine case. Attach the supporting fixture with the four screws and washers/ Tighten the bolts.
SUBTASK 72-00-50-020-149 Install the Supporting Fixture
NOTE
Measure the inner hub diameter of Stage 7 Disk before you install the supporting fixture.NOTE
If the inner hub diameter is 12.595 in. (319.9 mm) use IAE 1M14086 Supporting fixtureIf the inner hub diameter is 12.441 in. (316 mm) use IAE 1M14461 Supporting fixtureRefer to Figure.
Put the IAE 1F10075 Support pedestal 1 off below the guide pogo stick near the rear flange of the LP turbine case. Refer to Step.
Remove the TEC from the guide pogo stick. Install the TEC on the IAE 1F10178 Storage and Turnover adapter 1 off.
SUBTASK 72-00-50-020-150 Remove the TEC and the Guide Pogo Stick
Refer to Figure.
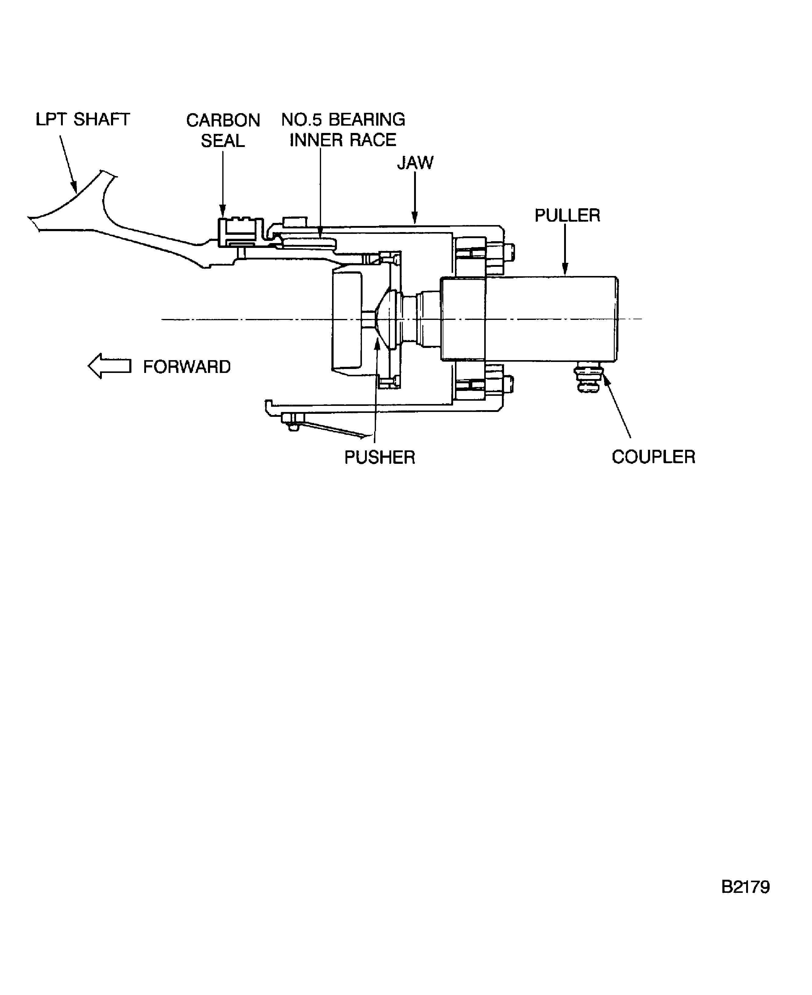
SBE 72-0142: Provide a new carbon seal for the No.5 bearing compartment.
Make sure that the rear lock nut is removed. Install the IAE 1F10035 Hydraulic Removal puller 1 off to the rear face of the LP turbine shaft. Engage the jaws of the puller with the grooves of the carbon seal.
Connect the IAE 1F10026 Hydraulic hand pump 1 off to the coupler of the puller.
Pre SBE 72-0142: Release the jaws of the puller and remove the No. 5 bearing inner race and the carbon seal. Refer to Figure.
SBE 72-0142: Release the jaws of the puller and remove the No. 5 bearing inner race and the carbon seal. Refer to Figure.
SUBTASK 72-00-50-020-151 Remove the No. 5 Bearing Inner Race and the Carbon Seal (Pre SBE 72-0142 and SBE 72-0142)
Figure: Pre SBE 72-0173: Remove the No.5 Bearing Compartment Cover
Pre SBE 72-0173: Remove the No.5 Bearing Compartment Cover

Figure: SBE 72-0173: Remove the No.5 Bearing Compartment Cover
SBE 72-0173: Remove the No.5 Bearing Compartment Cover

Figure: Remove the Blind Cap
Remove the Blind Cap

Figure: Remove the Turbine Shaft Rear Lock Nut
Remove the Turbine Shaft Rear Lock Nut

Figure: Disconnect the Oil Feed Tube of the No.5 Bearing
Disconnect the Oil Feed Tube of the No.5 Bearing

Figure: Remove the Oil Jet and Filter of the No.5 Bearing
Remove the Oil Jet and Filter of the No.5 Bearing

Figure: Install the Guide Pogo Stick
Install the Guide Pogo Stick

Figure: Install the Remove/Installation Fixture on the Guide Pogo Stick
Install the Remove/Installation Fixture on the Guide Pogo Stick

Figure: Install the Removal/Installation Fixture on the Guide Pogo Stick
Install the Removal/Installation Fixture on the Guide Pogo Stick

Figure: Remove the TEC with the Remove/Installation Fixture
Remove the TEC with the Remove/Installation Fixture

Figure: Install the Supporting Fixture to the LP Turbine Case and Rotor
Install the Supporting Fixture to the LP Turbine Case and Rotor

Figure: Pre SBE 72-0142: Remove the No.5 Bearing Inner Race and the Carbon Seal
Pre SBE 72-0142: Remove the No.5 Bearing Inner Race and the Carbon Seal

Figure: SBE 72-0142: Remove the No.5 Bearing Inner Race and the Carbon Seal
SBE 72-0142: Remove the No.5 Bearing Inner Race and the Carbon Seal

