DMC:V2500-A1-72-32-41-01A-941A-DIssue No:002.00Issue Date:2019-08-01
Export Control
EAR Export Classification: Not subject to the EAR per 15 C.F.R. Chapter 1, Part 734.3(b)(3), except for the following Service Bulletins which are currently published as EAR Export Classification 9E991: SBE70-0992, SBE72-0483, SBE72-0580, SBE72-0588, SBE72-0640, SBE73-0209, SBE80-0024 and SBE80-0025.Copyright
© IAE International Aero Engines AG (2001, 2014 - 2021) The information contained in this document is the property of © IAE International Aero Engines AG and may not be copied or used for any purpose other than that for which it is supplied without the express written authority of © IAE International Aero Engines AG. (This does not preclude use by engine and aircraft operators for normal instructional, maintenance or overhaul purposes.).Applicability
All
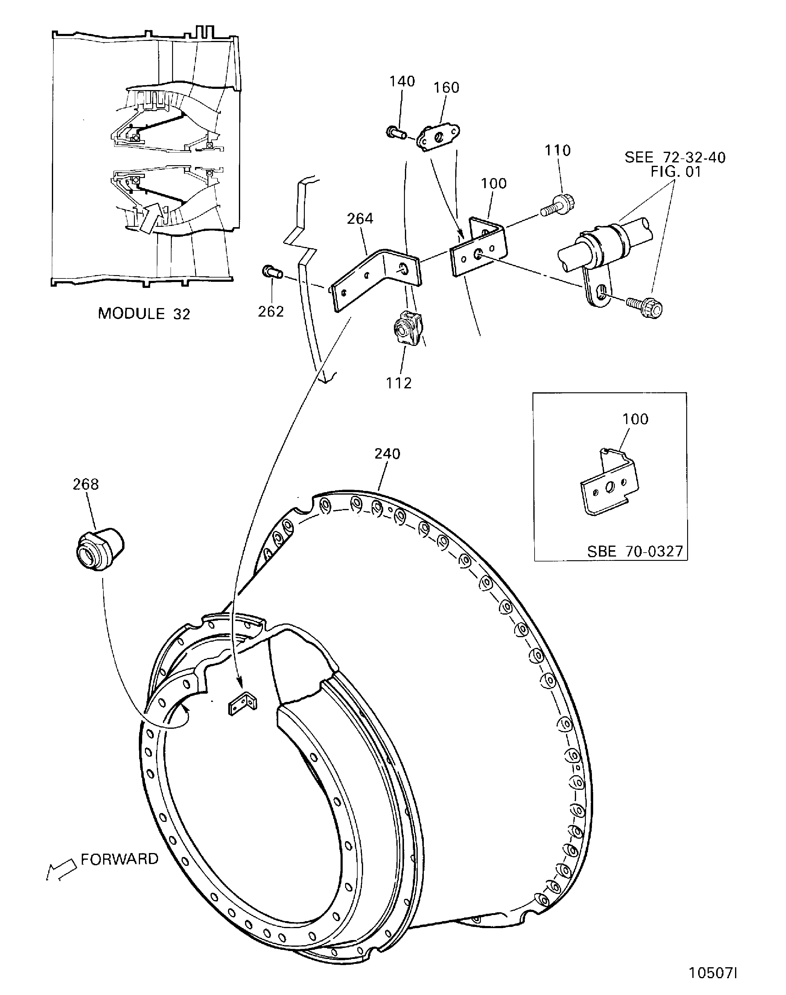
| Fig. Item | Part No. | Description | Effect/Model Applic. | UPA |
|---|---|---|---|---|
| 01 | ||||
| B72324101 | ENGINE - NO.1 BEARING SUPPORT, PRE SBE70-0048 | aa | ||
| SBE0048-01 | ENGINE - NO.1 BEARING SUPPORT, PRE SBE70-0202 | ab | ||
| SBE0202-01 | ENGINE - NO.1 BEARING SUPPORT, PRE SBE70-0327 | ac | ||
| SBE0327-01 | ENGINE - NO.1 BEARING SUPPORT, PRE SBE72-0391 | ad | ||
| SBE0391-01 | ENGINE - NO.1 BEARING SUPPORT, PRE SBE72-0701 | ae | ||
| SBE0701-01 | ENGINE - NO.1 BEARING SUPPORT | af | ||
| 100 | 5A5395 | • BRACKET - TUBE, ASSEMBLY OF PRE SBE70-0327 | aa-ae | 1 |
| 100A | 5A1663 | • BRACKET - TUBE, ASSEMBLY OF POST SBE70-0327 | aa-ae | 1 |
| 110 | 4W0103 | • BOLT - .190 DIA X .500 Optional Part 4W0103 POST SBE70-0202 | ac-ae | 1 |
| 112 | AS41104 | • NUT - 0.19 DIA U1653 POST SBE70-0202 | ac-ae | 1 |
| 120 | 4W0103 | • BOLT - .190 DIA X .500 PRE SBE70-0202 | aa-ab | 1 |
| 140 | AS16446 | • • RIVET, SOLID CSK HEAD, 2.4MM (.094) DIA U1653 | aa-ae | 2 |
| 160 | 4W0038 | • • NUT - SELF LOCKING PLATE, 0.190 DIA Optional Part 4W0038 | aa-ae | 1 |
| 240 | 5W2048 | • SUPPORT - NO. 1 BEARING, ASSEMBLY OF PRE SBE70-0048 | aa-ad | 1 |
| 240A | 5W2088 | • SUPPORT POST SBE70-0048 PRE SBE72-0391 | aa-ad | 1 |
| 240B | 5W2328 | • SUPPORT - NO. 1 BEARING, ASSEMBLY OF POST SBE72-0391 PRE SBE72-0701 | ae | 1 |
| 240C | 5W2339 | • SUPPORT - NO. 1 BEARING, ASSEMBLY OF POST SBE72-0701 | af | 1 |
| 250 | 4W2328 | • • SCREW - 0.190 DIA X 0.750 Optional Part 4W2328 POST SBE72-0391 | ae | 4 |
| 255 | 4W0001 | • • NUT, OPTION - .190 DIA Optional Part 4W0001 POST SBE72-0391 | ae | 4 |
| 260 | MS9321-09 | • • WASHER - FLAT, 0.438 X 0.213 X 0.062 96906 POST SBE72-0391 | ae | 4 |
| 262 | MS20615-4M6 | • • RIVET - SOLID, COUNTERSUNK HEAD 96906 PRE SBE70-0048 | aa | 2 |
| 262A | NAS1198-4-6 | • • RIVET 80205 POST SBE70-0048 PRE SBE72-0391 | ab-ad | 2 |
| 264 | 5W2126 | • • BRACKET PRE SBE70-0048 | aa | 1 |
| 264A | 5W2054 | • • BRACKET POST SBE70-0048 PRE SBE72-0391 | ab-ad | 1 |
| 268 | 4W0027 | • • NUT - SELF LOCKING SHANK , 0.3125-24 Optional Part 4W0027 PRE SBE72-0391 | aa-ad | 18 |
| 270 | 5W2329 | • • O RING POST SBE72-0391 PRE SBE72-0701 | ae | 1 |
| 270A | M83485-1-281 | • • O-RING POST SBE72-0701 | af | 1 |
| 300 | 5W2323 | • • SUPPORT - FRONT, NO. 1 BEARING, ASSEMBLY OF POST SBE72-0391 | ae | 1 |
| -310 | 5W2324 | • • • SUPPORT - FRONT, NO. 1 BEARING, ASSEMBLY OF POST SBE72-0391 | ae | REF |
| 320 | 4W0027 | • • • NUT - SELF LOCKING SHANK , 0.3125-24 Optional Part 4W0027 POST SBE72-0391 | ae | 18 |
| 400 | 5W2325 | • • SUPPORT - REAR, NO. 1 BEARING ASSEMBLY OF POST SBE72-0391 | ae | 1 |
| -410 | 5W2326 | • • • SUPPORT - REAR, NO. 1 BEARING ASSEMBLY OF POST SBE72-0391 | ae | REF |
| 420 | NAS1198-4-8 | • • • RIVET 80205 POST SBE72-0391 | ae | 2 |
| 430 | 5W2327 | • • • BRACKET POST SBE72-0391 | ae | 1 |
| 440 | RLA21SM4 | • • • WASHER 81349 POST SBE72-0391 | ae | 4 |
| 450 | MS124656 | • • • INSERT - COIL, HERICAL 96906 POST SBE72-0391 | ae | 4 |
| - ITEM NOT ILLUSTRATED, ***** EFFECTIVITY NOT AVAILABLE | ||||
Figure: ENGINE-NO.1 BEARING SUPPORT
NO.1 BEARING SUPPORT

NO.1 BEARING SUPPORT

