DMC:V2500-A1-72-32-5301-00A-659A-CIssue No:001.00Issue Date:2013-11-01
Export Control
EAR Export Classification: Not subject to the EAR per 15 C.F.R. Chapter 1, Part 734.3(b)(3), except for the following Service Bulletins which are currently published as EAR Export Classification 9E991: SBE70-0992, SBE72-0483, SBE72-0580, SBE72-0588, SBE72-0640, SBE73-0209, SBE80-0024 and SBE80-0025.Copyright
© IAE International Aero Engines AG (2001, 2014 - 2021) The information contained in this document is the property of © IAE International Aero Engines AG and may not be copied or used for any purpose other than that for which it is supplied without the express written authority of © IAE International Aero Engines AG. (This does not preclude use by engine and aircraft operators for normal instructional, maintenance or overhaul purposes.).Applicability
V2500-A1
Common Information
TASK 72-32-53-300-006 No. 1 Bearing Seal Ring Holder - Repair An Oversize Seal Ring Groove, Repair-006 (VRS3405)
Material of component
RR | ||
|---|---|---|
DESCRIPTION | SYMBOL | MATERIAL |
No. 1 bearing seal ring holder | Corrosion and heat resistant | |
steel alloy |
General
The practices and procedures referred to in the procedure by the TASK number are in the SPM.
Price and availability - nont applicable
Preliminary Requirements
Pre-Conditions
NONESupport Equipment
| Name | Manufacturer | Part Number / Identification | Quantity | Remark |
|---|---|---|---|---|
| Machining equipment | LOCAL | Machining equipment |
Consumables, Materials and Expendables
NONESpares
| Name | Manufacturer | Part Number / Identification | Quantity | Remark |
|---|---|---|---|---|
| Seal Ring | 2A1781P5 | AR | ||
| Seal Ring | 2A1781P10 | AR | ||
| Seal Ring | 2A1781P15 | AR | ||
| Seal Ring | 2A1781P20 | AR |
Safety Requirements
NONEProcedure
SUBTASK 72-32-53-320-053 Machine the Seal Ring Groove
Make a permanent mark by the procedure given in the SPM TASK 70-09-00-400-501.
Use the vibration peen method.
Mark the seal ring oversize number adjacent to the part number. Example of the oversize number is P5, P10, P15 or P20.
SUBTASK 72-32-53-350-061 Identify the Repair
Figure: No. 1 bearing seal ring holder assembly oversize seal ring groove repair areas
No. 1 bearing seal ring holder assembly oversize seal ring groove repair areas

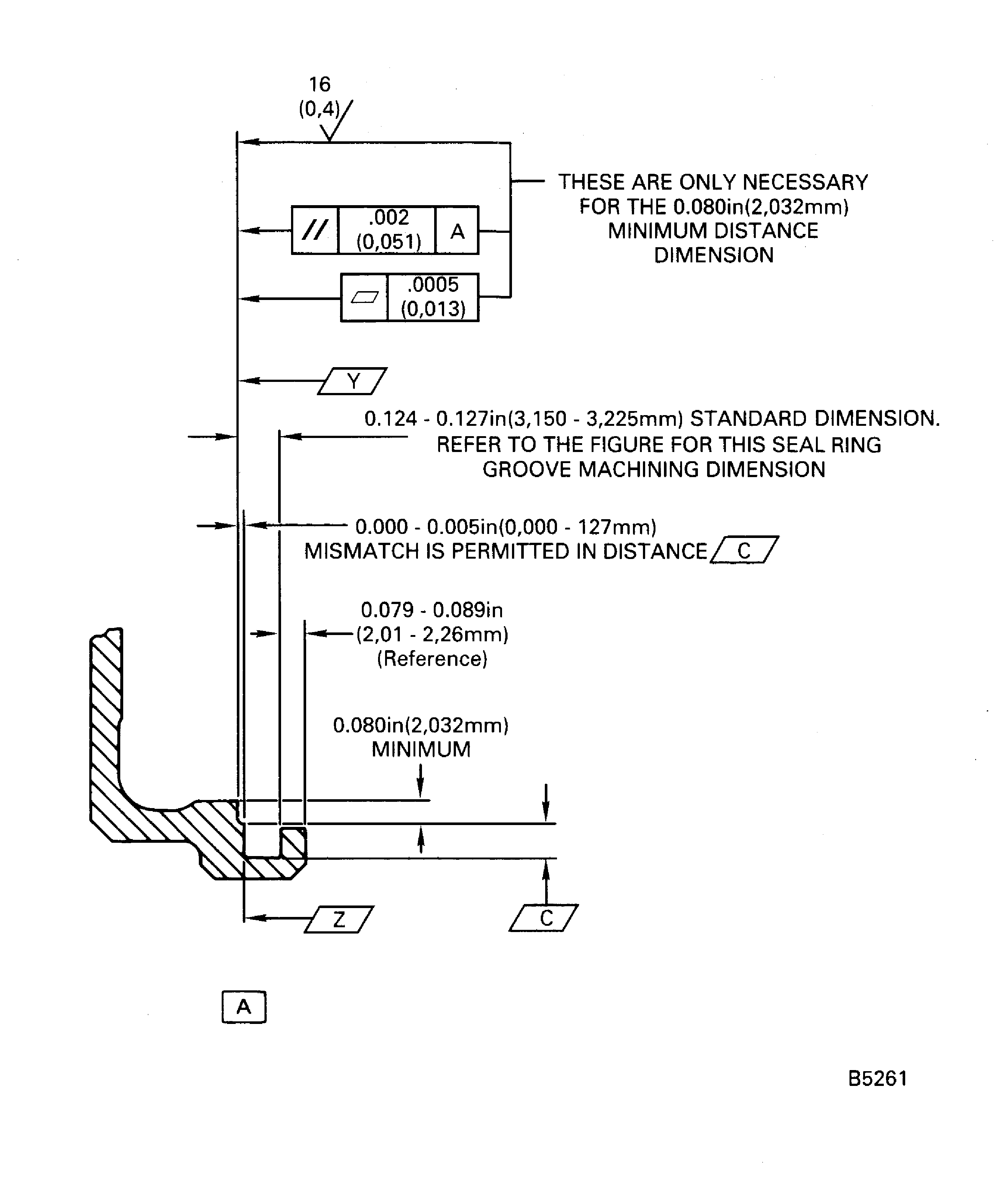
Figure: No. 1 bearing seal ring holder assembly oversize seal ring groove repair areas (machining dimensions)
No. 1 bearing seal ring holder assembly oversize seal ring groove repair areas (machining dimensions)

Figure: No. 1 bearing seal ring holder assembly oversize seal ring groove repair areas (seal ring part number and machining dimensions)
No. 1 bearing seal ring holder assembly oversize seal ring groove repair areas (seal ring part number and machining dimensions)

