Export Control
EAR Export Classification: Not subject to the EAR per 15 C.F.R. Chapter 1, Part 734.3(b)(3), except for the following Service Bulletins which are currently published as EAR Export Classification 9E991: SBE70-0992, SBE72-0483, SBE72-0580, SBE72-0588, SBE72-0640, SBE73-0209, SBE80-0024 and SBE80-0025.Copyright
© IAE International Aero Engines AG (2001, 2014 - 2021) The information contained in this document is the property of © IAE International Aero Engines AG and may not be copied or used for any purpose other than that for which it is supplied without the express written authority of © IAE International Aero Engines AG. (This does not preclude use by engine and aircraft operators for normal instructional, maintenance or overhaul purposes.).Applicability
V2500-A1
Common Information
TASK 72-32-82-300-003 LPC Stage 2.5 Blade - Blend Repair, Repair-003 (VRS1370)
General
This TASK gives the instruction to remove damage on the LP Compressor Rotor Blade(s), stage 2.5 by material removal.
Price and Availability - refer to IAE
The practice and processes referred to in the procedure by the TASK numbers are in the SPM.
NOTE
NOTE
NOTE
Preliminary Requirements
Pre-Conditions
NONESupport Equipment
| Name | Manufacturer | Part Number / Identification | Quantity | Remark |
|---|---|---|---|---|
| Fluorescent Penetrant Inspection Equipment | LOCAL | Fluorescent penetrant inspection equipment | ||
| Glass bead peening equipment | LOCAL | Glass bead peening equipment | ||
| Shot peening equipment | LOCAL | Shot peening equipment | ||
| IAE 3J13159 Shot peening fixture | 0AM53 | IAE 3J13159 | 1 | |
| IAE 3J13160 Glass peening fixture | 0AM53 | IAE 3J13160 | 1 | |
| IAE 3J13162 Glass peening fixture | 0AM53 | IAE 3J13162 | 1 |
Consumables, Materials and Expendables
| Name | Manufacturer | Part Number / Identification | Quantity | Remark |
|---|---|---|---|---|
| CoMat 01-293 GLASS BEADS | LOCAL | CoMat 01-293 | ||
| CoMat 02-003 ADHESIVE TAPE BLACK WATERPROOF | LOCAL | CoMat 02-003 | ||
| CoMat 05-006 GLASS BEADS | 0AM53 | CoMat 05-006 | ||
| CoMat 05-019 WATERPROOF SILICON CARBIDE | LOCAL | CoMat 05-019 | ||
| CoMat 05-020 WATERPROOF SILICON CARBIDE | LOCAL | CoMat 05-020 | ||
| CoMat 05-021 WATERPROOF SILICON CARBIDE | 44197 | CoMat 05-021 | ||
| CoMat 05-030 CAST STEEL SHOT DELETED | 0AM53 | CoMat 05-030 | ||
| CoMat 05-162 GLASS BEADS | LOCAL | CoMat 05-162 |
Spares
NONESafety Requirements
NONEProcedure
Surface finish of the repair area must be the same as the adjacent area.

CAUTION
WHEELS, STONES AND ABRASIVE PAPERS USED TO DRESS, MAKE SMOOTH, OR POLISH A TITANIUM COMPONENT MUST BE OF THE SILICON CARBIDE TYPE. ALUMINUM OXIDE TYPES MUST NOT BE USED.THE MATERIAL WILL OXIDIZE AND CRACK IF MECHANICAL CUTTERS ARE USED HEAVILY. THIS HAS OCCURRED IF THE COMPONENT SHOWS DARK STRAW TO BLUE DISCOLORATION. IF AT ANY TIME THIS COLORATION OCCURS, THE BLADE MUST BE REJECTED.Scallop, make smooth and/or hand polish to remove nicks, scratches and/or damage.
Remove the minimum amount of material necessary to give correct radius.
Refer to the SPM TASK 70-35-03-300-501.
Refer to Figure.
Hand polish the Blade leading and/or trailing edge radius and the vane profile to make a smooth shape.
SUBTASK 72-32-82-350-062 Remove the Damage from the LPC Stage 2.5 Blade
Follow inspection procedure as given in TASK 72-32-82-200-001-A00.
Do a visual and dimensional examine on the blade.
SUBTASK 72-32-82-220-082 Examine the LPC Stage 2.5 Blade
Refer to the SPM TASK 70-23-01-230-501.
Make sure there are no cracks in the repaired area.
Fluorescent penetrant examine the repaired area.
SUBTASK 72-32-82-230-058 Examine the LPC Stage 2.5 Blade for Cracks
Apply CoMat 02-003 ADHESIVE TAPE BLACK WATERPROOF to the area which is not to be glass peened.
Refer to Figure.
NOTE
This is an optional procedure. Do this SUBTASK if necessary after blending to remove the damage from locations 1, 2 and 3, refer to Figure.Apply the adhesive tape.
Use IAE 3J13160 Glass peening fixture 1 off.
Install the blade in to the glass bead peening fixture.
Refer to Figure.
Use 0.003 to 0.012 in. (0.08 to 0.30 mm) diameter CoMat 05-006 GLASS BEADS or CoMat 05-162 GLASS BEADS or 0.0098 to 0.0165 in. (0.25 to 0.41 mm) diameter CoMat 01-293 GLASS BEADS an intensity of 10N-13N.
Use IAE 3J13162 Glass peening fixture 1 off to hold an Almen test-strip.
Refer to the SPM TASK 70-38-04-300-503.
Glass bead peen the airfoil.
Refer to the SPM TASK 70-38-04-300-503.
Examine the blade.
SUBTASK 72-32-82-380-054 Glass Bead Peen the LPC Stage 2.5 Blade
Use IAE 3J13159 Shot peening fixture 1 off.
Install the blade in to the shot peening fixture.
Refer to Figure.
Use SAE No.110 steel shot at an intensity of 6A-8A.
Refer to the SPM TASK 70-38-04-300-503.
Shot peen repaired area of blade shank.
Refer to the SPM TASK 70-38-04-300-503.
Examine the blade.
SUBTASK 72-32-82-380-056 Shot Peen the LPC Stage 2.5 Blade
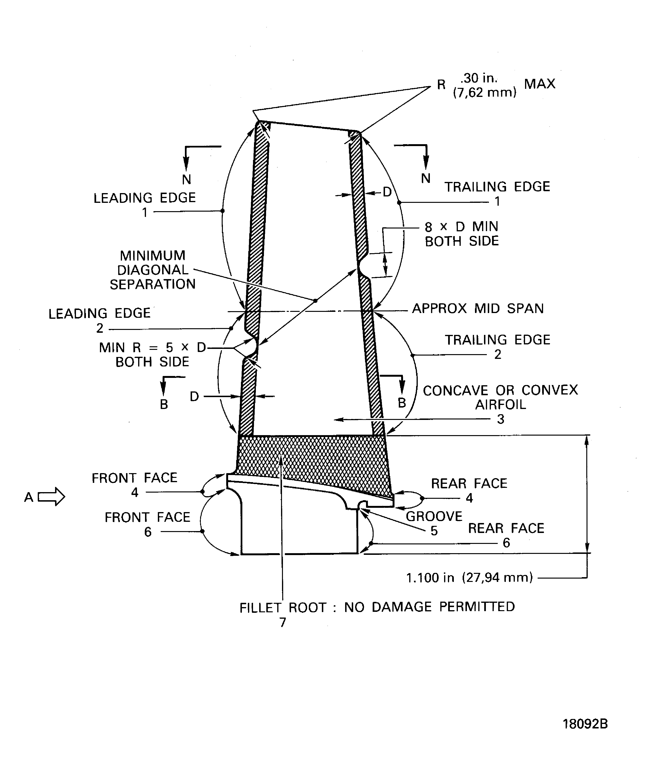
Figure: LP compressor stage 2.5 blades, dressing dimensions
Sheet 1

Figure: LP compressor stage 2.5 blades, dressing dimensions
Sheet 2

Figure: LP compressor stage 2.5 blades, dressing dimensions
Sheet 3

Figure: LPC stage 2.5 blades - glass bead peening area
LPC stage 2.5 blades - glass bead peening area

Figure: LP compressor stage blades - shot peening area
LP compressor stage blades - shot peening area

