Export Control
EAR Export Classification: Not subject to the EAR per 15 C.F.R. Chapter 1, Part 734.3(b)(3), except for the following Service Bulletins which are currently published as EAR Export Classification 9E991: SBE70-0992, SBE72-0483, SBE72-0580, SBE72-0588, SBE72-0640, SBE73-0209, SBE80-0024 and SBE80-0025.Copyright
© IAE International Aero Engines AG (2001, 2014 - 2021) The information contained in this document is the property of © IAE International Aero Engines AG and may not be copied or used for any purpose other than that for which it is supplied without the express written authority of © IAE International Aero Engines AG. (This does not preclude use by engine and aircraft operators for normal instructional, maintenance or overhaul purposes.).Applicability
V2500-A1
Common Information
TASK 72-32-83-300-008 LPC Front Case - Repair The Outside Diameter By Plasma Spray, Repair-008 (VRS1388)
General
Price and availability - none
The practice and processes referred to in the procedure by the TASK number are in the SPM.
NOTE
Preliminary Requirements
Pre-Conditions
NONESupport Equipment
| Name | Manufacturer | Part Number / Identification | Quantity | Remark |
|---|---|---|---|---|
| Vertical lathe | LOCAL | Vertical lathe | ||
| Abrasive blasting facility | LOCAL | Abrasive blasting facility | ||
| Plasma spray facility | LOCAL | Plasma spray facility | ||
| Fluorescent Penetrant Inspection Equipment | LOCAL | Fluorescent penetrant inspection equipment | ||
| IAE 3J12755 Machining fixture | 0AM53 | IAE 3J12755 | 1 |
Consumables, Materials and Expendables
| Name | Manufacturer | Part Number / Identification | Quantity | Remark |
|---|---|---|---|---|
| CoMat 02-001 ADHESIVE TAPE (MASKING) | LOCAL | CoMat 02-001 | ||
| CoMat 03-038 METAL SPRAYING POWDER NICKEL ALUMINIUM (95/5) | IE200 | CoMat 03-038 | ||
| CoMat 05-001 ABRASIVE MEDIUM, ALUMINIUM OXIDE, 20/30 GRADE | LOCAL | CoMat 05-001 | ||
| CoMat 06-064 FLUORESCENT PENETRANT (WATER WASHABLE MEDIUM SENSITIVITY) | LOCAL | CoMat 06-064 |
Spares
NONESafety Requirements
NONEProcedure
Use IAE IAE 3J12755 Machining fixture 1 off.
Set up the front case assembly on machine.
SUBTASK 72-32-83-320-051 Machine the Outside Diameter of the LPC Front Case Assembly
Refer to the SPM TASK 70-23-05-230-501.
Fluorescent penetrant examine machined area.
SUBTASK 72-32-83-230-060 Examine the LPC Front Case Assembly for Cracks
Refer to Figure.
Refer to the SPM TASK 70-34-01-340-501.
Abrasive blast the outside diameter.
Refer to the SPM TASK 70-34-01-340-501.
PLASMA SPRAY PARAMETER
Powder:
Metco 450 NS
Gun Model:
Metco 3 MB/7 MB/9 MB
Nozzle:
GH
Powder Port:
NO.2
Argon Pressure:
100 psi (700 Kpa)
Helium Pressure:
50 psi (350 Kpa)
Argon Flow Setting:
80 ft 3/Hr
Helium Flow Setting:
15
Carrier Flow Setting:
37
Spray Rate:
9 lbs/HOUR
Meter Wheel:
S
Meter Wheel Speed:
20 rpm.
Spray Distance:
4 - 7in. (102 - 177 mm)
Arc Volts:
64 - 70
Current:
500 amps
Plasma spray the outside diameters A or/and C.
SUBTASK 72-32-83-340-051 Plasma Spray the Outside Diameter of the Front Case Assembly
Refer to the SPM TASK 70-34-01-340-501.
Examine the outside diameter for adhesion, chipping and separation.
SUBTASK 72-32-83-220-088 Examine the Outside Diameter
Use vertical lathe and IAE IAE 3J12755 Machining fixture 1 off.
Set up the front case assembly on machine.
Refer to the SPM TASK 70-34-01-340-501.
Machine the coated area.
SUBTASK 72-32-83-220-089 Machine the Outside Diameter of the Front Case Assembly
No cracks are permitted.
Refer to the SPM TASK 70-34-01-340-501.
Visually and dimensionally examine the repaired area.
SUBTASK 72-32-83-220-090 Examine the Outside Diameter of the Front Case Assembly
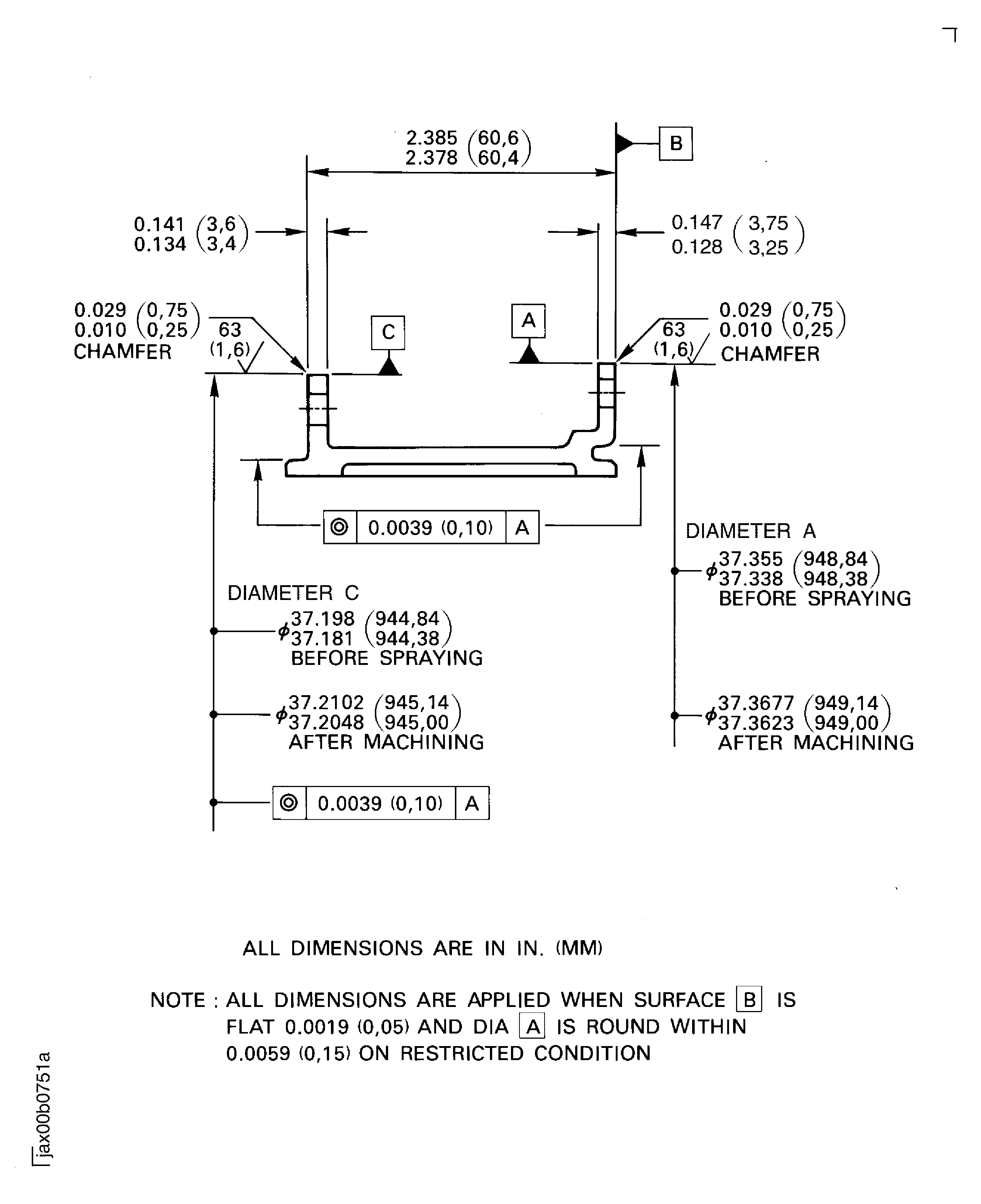
Figure: Repair details and dimensions - Assembly A
Repair details and dimensions - Assembly A

Figure: Repair details and dimensions
Repair details and dimensions

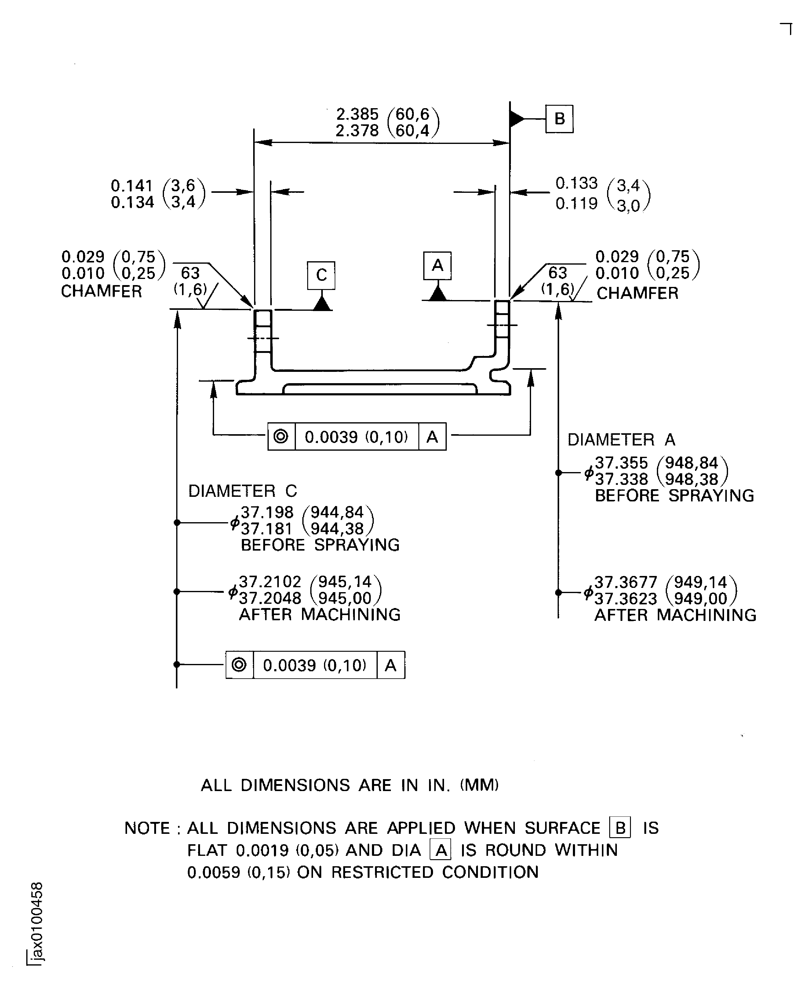
Figure: Repair details and dimensions - Assembly B
Repair details and dimensions - Assembly B

