DMC:V2500-A1-72-40-00-01A-941A-DIssue No:002.00Issue Date:2019-05-01
Export Control
EAR Export Classification: Not subject to the EAR per 15 C.F.R. Chapter 1, Part 734.3(b)(3), except for the following Service Bulletins which are currently published as EAR Export Classification 9E991: SBE70-0992, SBE72-0483, SBE72-0580, SBE72-0588, SBE72-0640, SBE73-0209, SBE80-0024 and SBE80-0025.Copyright
© IAE International Aero Engines AG (2001, 2014 - 2021) The information contained in this document is the property of © IAE International Aero Engines AG and may not be copied or used for any purpose other than that for which it is supplied without the express written authority of © IAE International Aero Engines AG. (This does not preclude use by engine and aircraft operators for normal instructional, maintenance or overhaul purposes.).Applicability
All
| Fig. Item | Part No. | Description | Effect/Model Applic. | UPA |
|---|---|---|---|---|
| 01 | ||||
| - | B72400001 | ENGINE - ATTACH PARTS AND FITTINGS - HP SYSTEM | aa | |
| - | SBE0005-01 | ENGINE - ATTACH PARTS AND FITTINGS - HP SYSTEM, PRE SBE72-0078 | ab | |
| - | SBE0078-01 | ENGINE - ATTACH PARTS AND FITTINGS - HP SYSTEM, PRE SBE75-0030 | ac | |
| - | SBE0030-01 | ENGINE - ATTACH PARTS AND FITTINGS - HP SYSTEM, PRE SBE72-0119 | ad | |
| - | SBE0119-01 | ENGINE - ATTACH PARTS AND FITTINGS - HP SYSTEM, PRE SBE71-0162 | ae | |
| - | SBE0162-01 | ENGINE - ATTACH PARTS AND FITTINGS - HP SYSTEM, PRE SBE73-0131 | af | |
| - | SBE0131-01 | ENGINE - ATTACH PARTS AND FITTINGS - HP SYSTEM, PRE SBE72-0329 | ag | |
| - | SBE0329-01 | ENGINE - ATTACH PARTS AND FITTINGS - HP SYSTEM, PRE SBE73-0147 | ah | |
| - | SBE0147-01 | ENGINE - ATTACH PARTS AND FITTINGS - HP SYSTEM, PRE SBE70-0797 | ai | |
| - | SBE0797-01 | ENGINE - ATTACH PARTS AND FITTINGS - HP SYSTEM, PRE SBE72-0394 | aj | |
| - | SBE0394-01 | ENGINE - ATTACH PARTS AND FITTINGS - HP SYSTEM, PRE SBE70-0991 | ak | |
| - | SBE0991-01 | ENGINE - ATTACH PARTS AND FITTINGS - HP SYSTEM, PRE SB73-0139 | al | |
| - | SBE0139-01 | ENGINE - ATTACH PARTS AND FITTINGS - HP SYSTEM | am | |
| -001 | 4W6195 | DRAWING - HP SYSTEM, ASSEMBLY OF POST SBE70-0991 | al | REF |
| -001A | 4W6412 | DRAWING - HP SYSTEM, ASSEMBLY OF POST SBE70-0991 | al | REF |
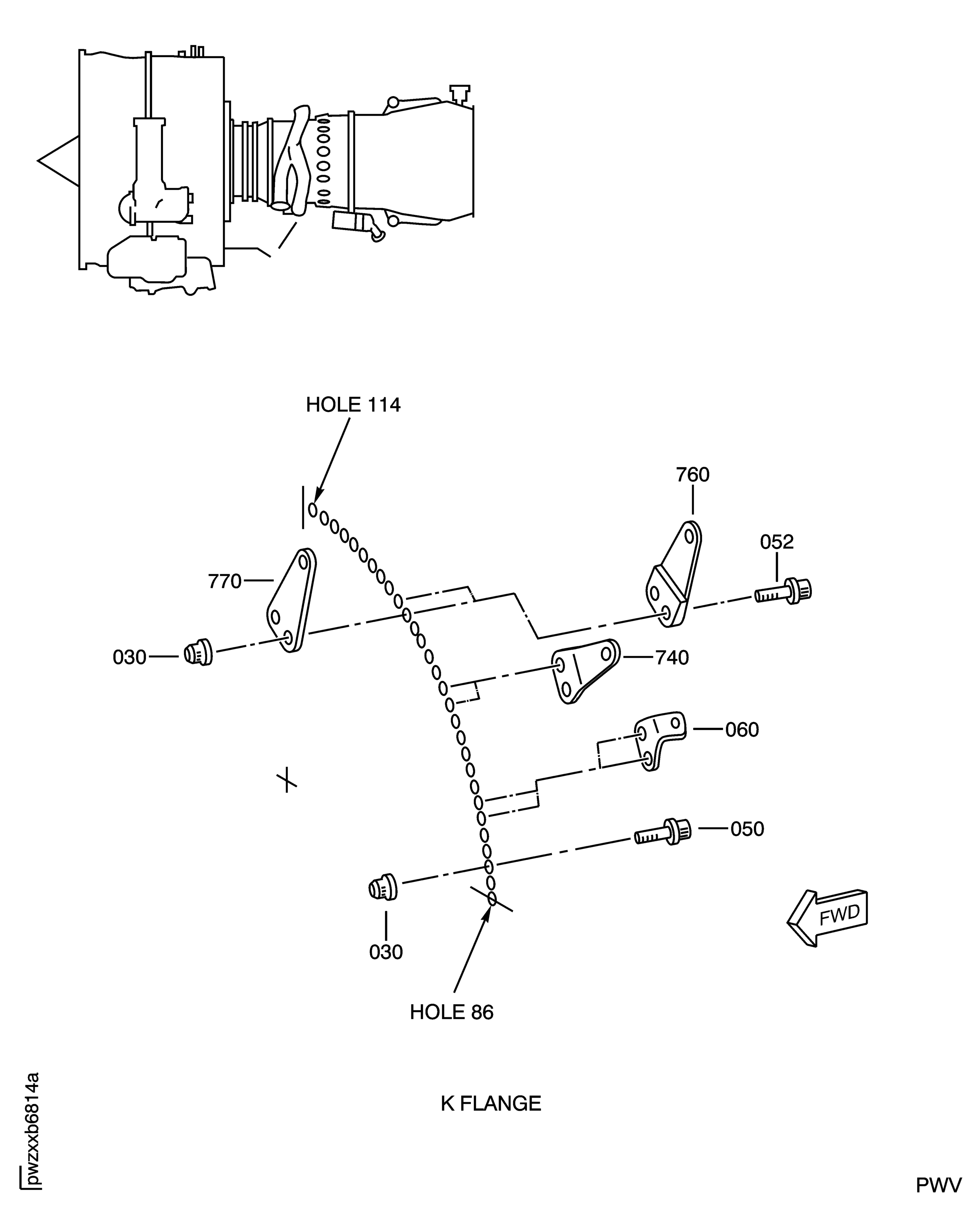
| 030 | 4W0003 | • NUT - 0.3125 DIA | aa-al | 114 |
| 050 | 4W0649 | • BOLT - 0.3125 DIA X 1.000 | aa-al | 112 |
| 052 | 4W0656 | • BOLT - 0.3125 DIA X 1.438 | aa-al | 2 |
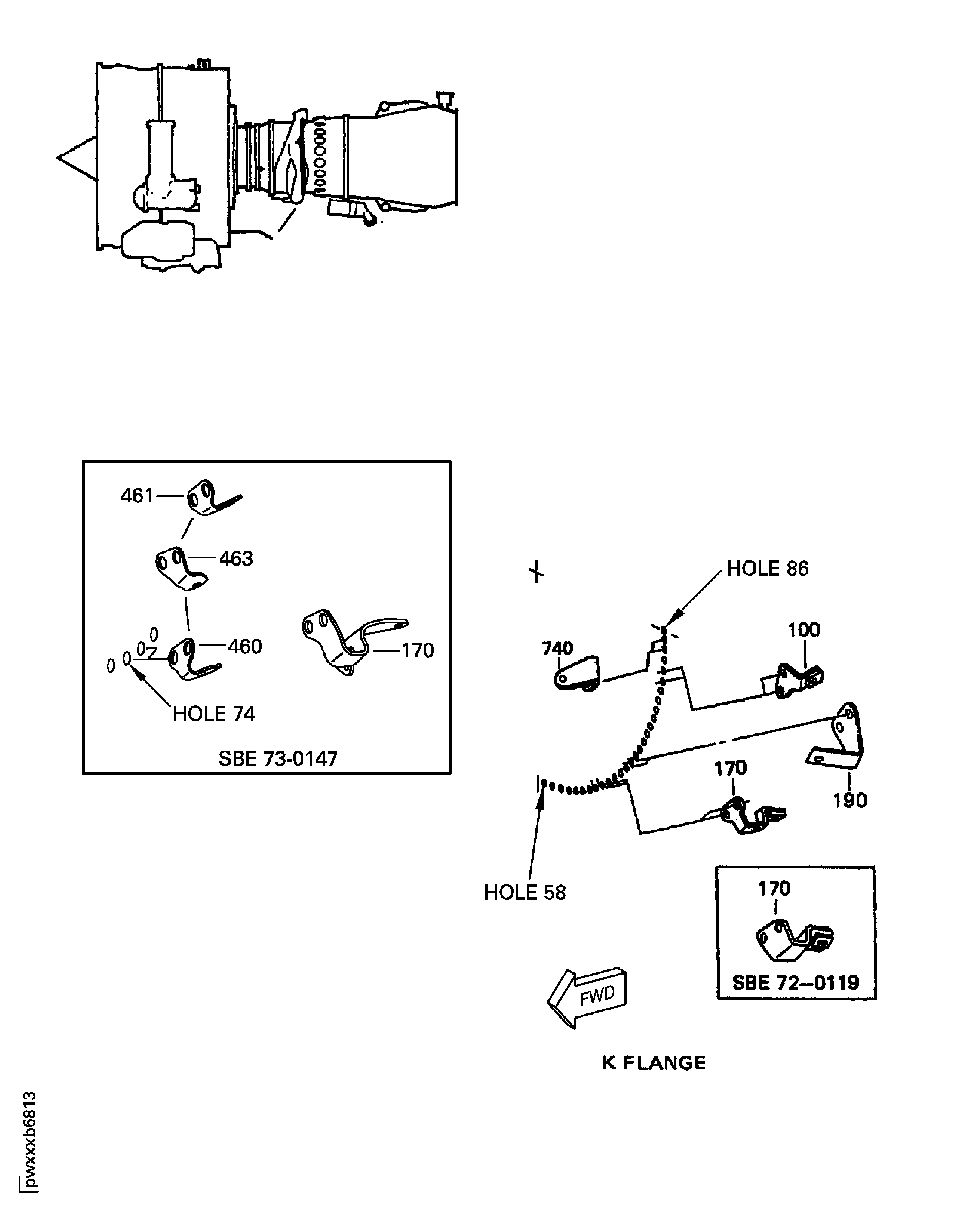
| 060 | 2A0406 | • BRACKET - LOOP CLAMP PRE SBE73-0147 | aa-ah | 1 |
| 060A | 2A0406 | • BRACKET - LOOP CLAMP POST SBE72-0394 | ak-al | 1 |
| 070 | 2A1225 | • BRACKET - LOOP CLAMP PRE SBE73-0131 | aa-af | 1 |
| 070A | 2A3281 | • BRACKET - LOOP CLAMP POST SBE73-0131 | ag-al | 1 |
| 075 | 6A3992 | • PLATE - ATTACHING AIR DEFLECT POST SBE75-0005 PRE SBE71-0162 | ab-al | 1 |
| 075A | 6A5911 | • BRACKET - ATTACHING POST SBE71-0162 PRE SBE72-0329 | ab-al | 1 |
| 075B | 6A7458 | • BRACKET - ATTACHING POST SBE72-0329 | ab-al | 1 |
| 075C | 6A7459 | • BRACKET - ATTACHING ALT 6A7458 POST SBE72-0329 | ah-al | 1 |
| 080 | 2A0876 | • BRACKET - LOOP CLAMP PRE SBE72-0119 | aa-ad | 1 |
| 080A | 2A1939 | • BRACKET - LOOP CLAMP POST SBE72-0119 PRE SBE73-0131 PRE SBE73-0139 | ae-af | 1 |
| 080B | 2A3373 | • BRACKET - LOOP CLAMP POST SBE73-0131 | ae-al | 1 |
| 100 | 2A1196 | • BRACKET - LOOP CLAMP, ASSEMBLY OF PRE SBE73-0147 | aa-ah | 1 |
| 140 | 2A0878 | • BRACKET - LOOP CLAMP PRE SBE72-0119 | aa-ad | 1 |
| 140A | 2A1938-01 | • BRACKET - LOOP CLAMP POST SBE72-0119 PRE SBE73-0131 PRE SBE73-0139 | ae-af | 1 |
| 140B | 2A1938-01 | • BRACKET - LOOP CLAMP POST SBE73-0131 PRE SBE73-0139 | ag-al | 1 |
| 140C | 2A3276 | • BRACKET- LOOP CLAMP, ASSEMBLY OF 77445 POST SBE73-0139 | am | 1 |
| 160 | 2A0929 | • BRACKET - LOOP CLAMP PRE SBE72-0119 | aa-ad | 1 |
| 160A | 2A1963 | • BRACKET - LOOP CLAMP POST SBE72-0119 PRE SBE73-0147 | ae-ah | 1 |
| 161 | 2A1964 | • BRACKET - LOOP CLAMP POST SBE72-0119 PRE SBE73-0147 | ae-aj | 1 |
| 161A | 2A3389 | • BRACKET - LOOP CLAMP POST SBE73-0147 PRE SBE72-0394 | ae-aj | 1 |
| 161B | 2A3553 | • BRACKET - LOOP CLAMP POST SBE72-0394 | ak-al | 1 |
| 170 | 2A0897 | • BRACKET - LOOP CLAMP PRE SBE72-0119 | aa-ad | 1 |
| 170A | 2A1952-01 | • BRACKET POST SBE72-0119 PRE SBE73-0147 | ae-al | 1 |
| 170B | 2A3391 | • BRACKET - LOOP CLAMP POST SBE73-0147 | ae-al | 1 |
| 170B | 2A3379 | • BRACKET - LOOP CLAMP POST SBE73-0147 | af-ai | 1 |
| 182 | 5W8386 | • BRACKET - ASSEMBLY OF | aa-al | 1 |
| -190 | 5W8378 | • BRACKET | aa-al | 1 |
| 194 | 2A2529-01 | • BRACKET - LOOP CLAMP, ASSEMBLY OF POST SBE72-0119 PRE SBE73-0131 | ae-af | 1 |
| 194A | 2A3275 | • BRACKET - LOOP CLAMP POST SBE73-0131 | ag-al | 1 |
| 197 | 2A2537 | • BRACKET - LOOP CLAMP POST SBE72-0119 PRE SBE73-0131 | ae-af | 1 |
| 225 | 2A3288-01 | • BRACKET - LOOP CLAMP, ASSEMBLY OF POST SBE73-0131 | ag-al | 1 |
| 230 | ST5030-09 | • • NUT 77445 POST SBE73-0131 | ag-al | 1 |
| -231 | ST5032-09 | • • • NUT 77445 POST SBE73-0131 | ag-al | 1 |
| -232 | ST5033-09 | • • • NUT - PLATE, SELF LOCKING, 1 LUG, FLOATING, 0.190 - 32 X 0.250 77445 POST SBE73-0131 | ag-al | 1 |
| 235 | AN123469 | • • RIVET - SOLID, 100 DEGREE FLUSH HEAD, 0.094 X 0.250 88044 POST SBE73-0131 | ad-ai | 2 |
| 250 | 2A2546 | • BRACKET - LOOP CLAMP POST SBE72-0119 PRE SBE73-0131 | ae-af | 1 |
| 260 | 2A1903-01 | • BRACKET - FUEL FLOW DIVIDER VALVE, ASSEMBLY OF | aa-al | 1 |
| 260A | 2A2073-01 | • BRACKET - FUEL FLOW DIVIDER VALVE | aa-al | 1 |
| 270 | 2A3277 | • BRACKET - LOOP CLAMP POST SBE70-0797 | aj-al | 1 |
| 300 | 5W8363 | • BRACKET PRE SBE72-0329 | aa-ag | 1 |
| 300A | 6A7457 | • BRACKET - CLIPPING POST SBE72-0329 | aa-al | 1 |
| 310 | 2A3279 | • BRACKET - LOOP CLAMP POST SBE73-0131 | ag-al | 1 |
| 460 | 2A3388 | • BRACKET - LOOP CLAMP POST SBE73-0147 | ai-al | 1 |
| 461 | 2A3405 | • BRACKET - LOOP CLAMP POST SBE73-0147 | ai-al | 1 |
| 463 | 2A3406 | • BRACKET - LOOP CLAMP POST SBE73-0147 | ai=al | 1 |
| 470 | 2A3387 | • BRACKET - LOOP CLAMP POST SBE73-0147 | ai-al | 1 |
| 475 | 2A3381 | • BRACKET - LOOP CLAMP POST SBE73-0147 | ai-al | 1 |
| 740 | 740-5070-503 | • BRACKET 51563 | aa-al | 2 |
| 760 | 740-5063-501 | • BRACKET - SUPPORT 51563 | aa-al | 1 |
| 770 | 740-5064-501 | • BRACKET - SUPPORT 51563 | aa-al | 1 |
| 790 | 5W2141 | • BRACKET PRE SBE75-0030 | aa-ac | 1 |
| 790A | 5W2242 | • BRACKET POST SBE75-0030 | ad-al | 1 |
| - ITEM NOT ILLUSTRATED, ***** EFFECTIVITY NOT AVAILABLE | ||||
Figure: HPC Module - Attaching Parts
HPC Module - Attaching Parts

HPC Module - Attaching Parts

HPC Module - Attaching Parts

HPC Module - Attaching Parts

