DMC:V2500-A1-72-41-13-01A-941A-DIssue No:001.00Issue Date:2014-05-01
Export Control
EAR Export Classification: Not subject to the EAR per 15 C.F.R. Chapter 1, Part 734.3(b)(3), except for the following Service Bulletins which are currently published as EAR Export Classification 9E991: SBE70-0992, SBE72-0483, SBE72-0580, SBE72-0588, SBE72-0640, SBE73-0209, SBE80-0024 and SBE80-0025.Copyright
© IAE International Aero Engines AG (2001, 2014 - 2021) The information contained in this document is the property of © IAE International Aero Engines AG and may not be copied or used for any purpose other than that for which it is supplied without the express written authority of © IAE International Aero Engines AG. (This does not preclude use by engine and aircraft operators for normal instructional, maintenance or overhaul purposes.).Applicability
All
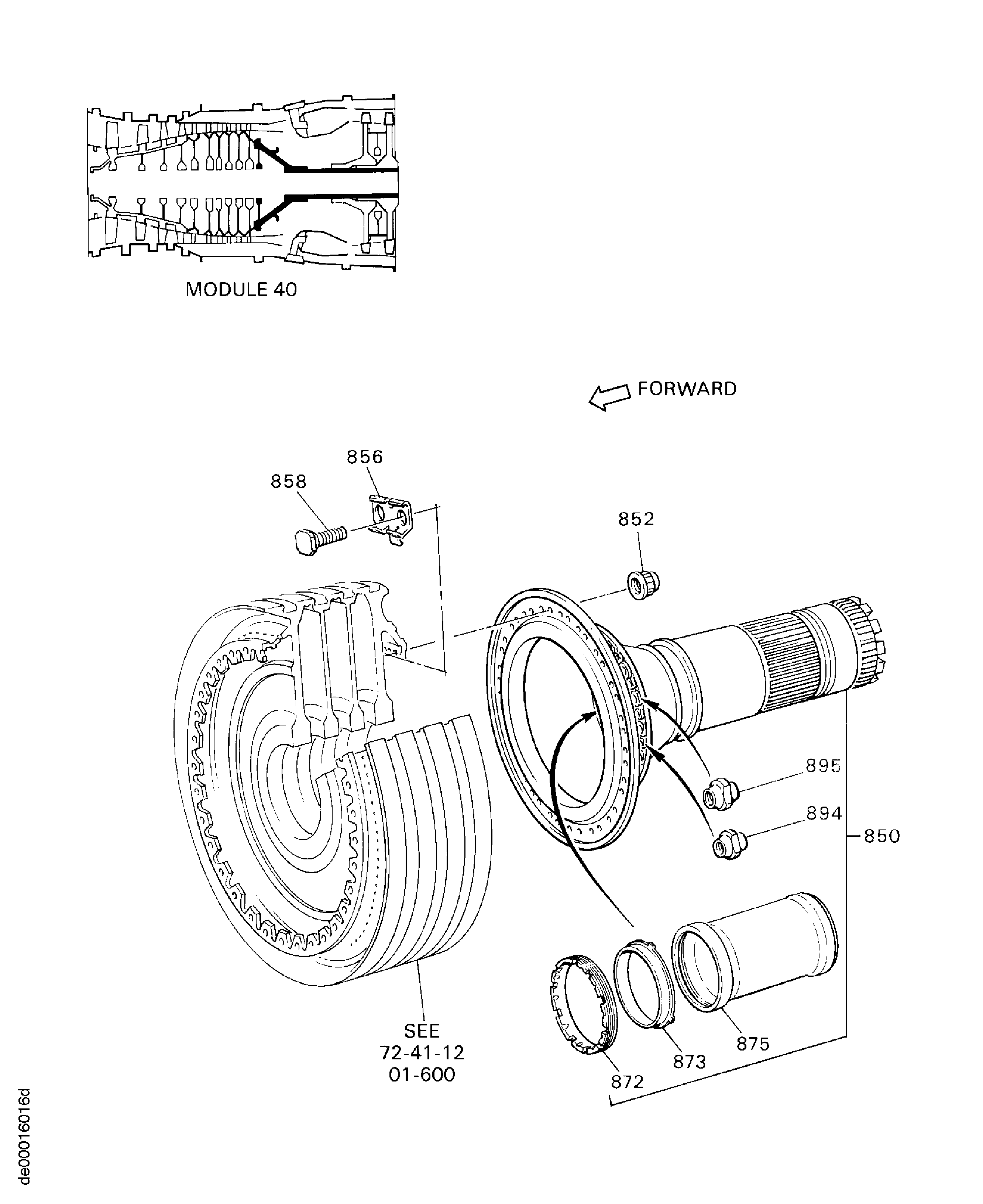
| Fig. Item | Part No. | Description | Effect/Model Applic. | UPA |
|---|---|---|---|---|
| 01 | ||||
| B72411301 | ENGINE-HP COMPRESSOR SHAFT, PRE SBE72-0068 | aa | ||
| SBE0068-01 | ENGINE-HP COMPRESSOR SHAFT, PRE SBE72-0098 | ab | ||
| SBE0098-01 | ENGINE-HP COMPRESSOR SHAFT, PRE SBE72-0311 | ac | ||
| SBE0311-01 | ENGINE-HP COMPRESSOR SHAFT, PRE SBE72-0404 | ad | ||
| SBE0404-01 | ENGINE-HP COMPRESSOR SHAFT, PRE SBE72-0613 | ae | ||
| SBE0613-01 | ENGINE-HP COMPRESSOR SHAFT | af | ||
| 850 | 6A3807 | • SHAFT - ASSY PRE SBE72-0068 | aa-ab | 1 |
| 850A | 6A3974 | • SHAFT - ASSY REAR-HPC ALT 6A3997 POST SBE72-0068 PRE SBE72-0098 | aa-ab | 1 |
| -850B | 6A3997 | • SHAFT - ASSY REAR-HPC ALT 6A3974 POST SBE72-0068 PRE SBE72-0098 | aa-ab | REF |
| 850C | 6A4150 | • SHAFT - ASSY REAR-HPC POST SBE72-0098 PRE SBE72-0404 | aa-ae | 1 |
| 850D | 6A7707 | • SHAFT - ASSY REAR HP COMPRESS POST SBE72-0404 PRE SBE72-0613 | aa-ae | 1 |
| 850E | 6B1414 | • SHAFT - ASSY REAR-HPC ALT 6B1424 POST SBE72-0613 | aa-af | 1 |
| 850F | 6B1424 | • SHAFT - ASSY REAR-HPC ALT 6B1425 POST SBE72-0613 | af | 1 |
| 850G | 6B1425 | • SHAFT - ASSY REAR-HPC POST SBE72-0613 | af | 1 |
| 850H | 6B1415 | • SHAFT - ASSEMBLY ALT 6B1414 POST SBE72-0613 | aa-af | 1 |
| 852 | U755143 | • NUT - ALT.H38-5 & LH7399-0 PRE SBE72-0613 | aa-ae | 40 |
| 852A | U780602 | • NUT - 0.3125-24UNJF-3B POST SBE72-0613 | af | 40 |
| 856 | 6A2038 | • WASHER | aa-af | 20 |
| 858 | BLT5367 | • BOLT | aa-af | 40 |
| 872 | UP10896 | • • NUT - RING PRE SBE72-0613 | aa-ae | 1 |
| 872A | 6B1413 | • • NUT - RING POST SBE72-0613 | aa-af | 1 |
| 873 | UP10897 | • • WASHER | aa-af | 1 |
| 875 | 6A1494 | • • HEATSHLD PRE SBE72-0311 | aa-af | 1 |
| 875A | 6A7400 | • • SHIELD - ASSY, HEAT ALT 6A1494 POST SBE72-0311 | aa-af | 1 |
| 875B | 6A1494 | • • HEATSHLD ALT 6A7400 POST SBE72-0311 | aa-af | 1 |
| 894 | AS27853 | • • NUT - SELF LOCKING,SHANK,(VRS6123) U1653 | ***** | 1 |
| 894A | AS63483 | • • NUT - SELF-LOCKING, SHANK, 0.1900 DIA U1653 POST SBE72-0613 | af | 18 |
| 895 | AS27857 | • • NUT - SELF LOCKING SHANK,(VRS6123), .250 DIA U1653 | ***** | 1 |
| 895A | AS63487 | • • NUT - SELF-LOCKING, SHANK, .2500 DIA U1653 POST SBE72-0613 | af | 18 |
| -900 | 2A1386 | • • SHAFT - A/O REAR-HPC PRE SBE72-0068 | aa | REF |
| -900A | 2A1967 | • • SHAFT - A/O REAR-HPC ALT 2A1990 POST SBE72-0068 PRE SBE72-0098 | ab | REF |
| -900B | 2A1990 | • • SHAFT - A/O REAR-HPC ALT 2A1967 POST SBE72-0068 | ab | REF |
| -900C | 6A4151 | • • SHAFT - REAR-HPC POST SBE72-0098 PRE SBE72-0404 | ac-ad | REF |
| -900D | 6A7708 | • • SHAFT - REAR HP COMPRESSOR POST SBE72-0404 | ae-af | REF |
| - ITEM NOT ILLUSTRATED, ***** EFFECTIVITY NOT AVAILABLE | ||||
Figure: ENGINE-HP COMPRESSOR SHAFT
HP COMPRESSOR SHAFT

