DMC:V2500-A1-72-41-15-02A-941A-DIssue No:001.00Issue Date:2014-05-01
Export Control
EAR Export Classification: Not subject to the EAR per 15 C.F.R. Chapter 1, Part 734.3(b)(3), except for the following Service Bulletins which are currently published as EAR Export Classification 9E991: SBE70-0992, SBE72-0483, SBE72-0580, SBE72-0588, SBE72-0640, SBE73-0209, SBE80-0024 and SBE80-0025.Copyright
© IAE International Aero Engines AG (2001, 2014 - 2021) The information contained in this document is the property of © IAE International Aero Engines AG and may not be copied or used for any purpose other than that for which it is supplied without the express written authority of © IAE International Aero Engines AG. (This does not preclude use by engine and aircraft operators for normal instructional, maintenance or overhaul purposes.).Applicability
All
| Fig. Item | Part No. | Description | Effect/Model Applic. | UPA |
|---|---|---|---|---|
| 02 | ||||
| B72411502 | ENGINE-HP COMPRESSOR BLADES, PRE SBE72-0109 | aa | ||
| SBE0109-01 | ENGINE-HP COMPRESSOR BLADES, PRE SBE70-0064 | ab | ||
| SBE0064-01 | ENGINE-HP COMPRESSOR BLADES, PRE SBE72-0161 | ac | ||
| SBE0161-01 | ENGINE-HP COMPRESSOR BLADES, PRE SBE72-0172 | ad | ||
| SBE0172-01 | ENGINE-HP COMPRESSOR BLADES, PRE SBE70-0311 | ae | ||
| SBE0311-01 | ENGINE-HP COMPRESSOR BLADES, PRE SBE72-0174 | af | ||
| SBE0174-01 | ENGINE-HP COMPRESSOR BLADES, PRE SBE72-0252 | ag | ||
| SBE0252-01 | ENGINE-HP COMPRESSOR BLADES, PRE SBE72-0284 | ah | ||
| SBE0284-01 | ENGINE-HP COMPRESSOR BLADES, PRE SBE72-0532 | ai | ||
| SBE0532-01 | ENGINE-HP COMPRESSOR BLADES | aj | ||
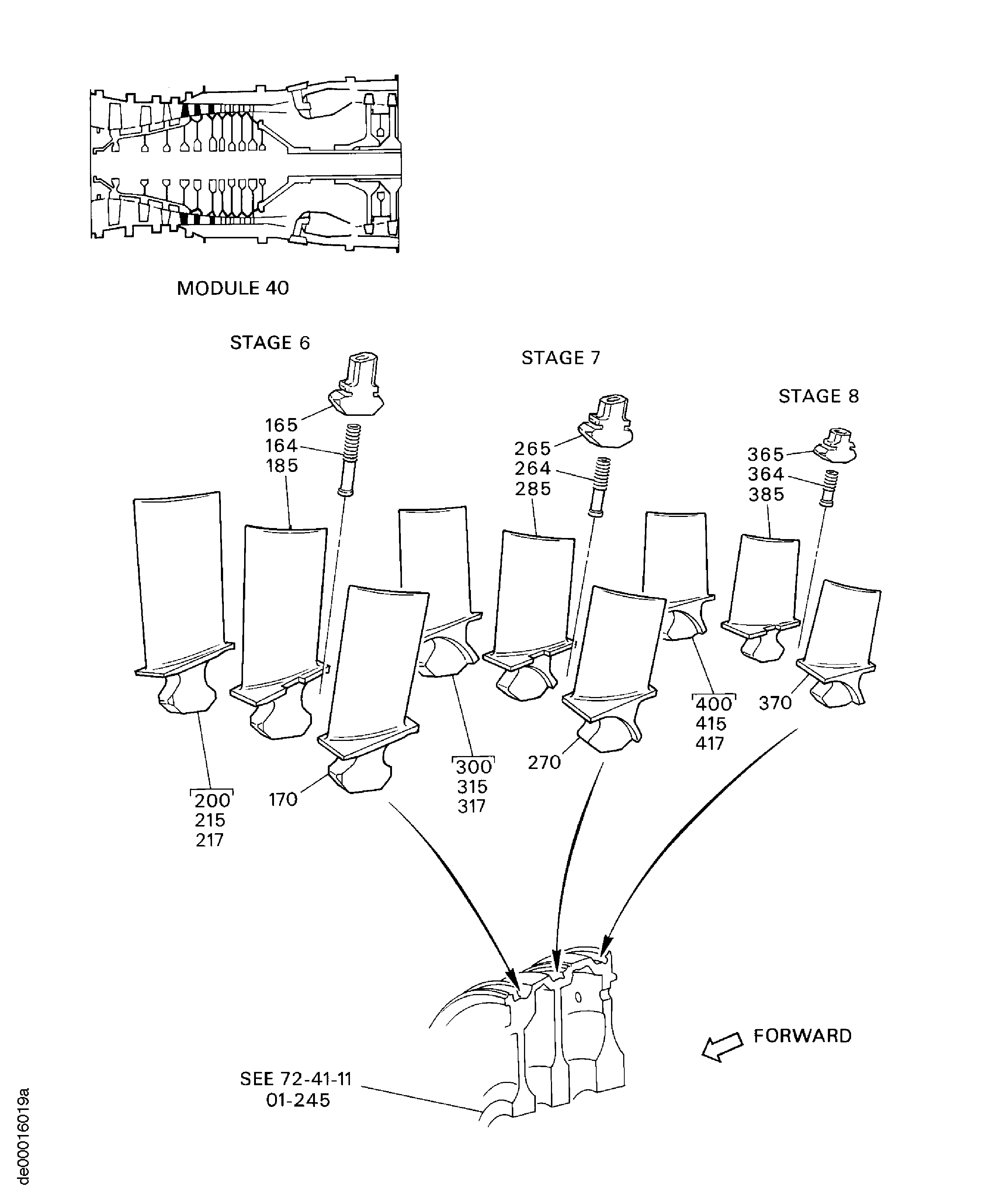
| 164 | BLT5296 | • SCREW - JACKING-STAGE 6 PRE SBE70-0064 | aa-ab | 2 |
| 165 | UP11012 | • NUT - LOCKING,STAGE 6 BLADE PRE SBE70-0064 | aa-ab | 2 |
| 165A | 6A4108 | • NUT - & SCREW LOCK ASSY STAGE 6 POST SBE70-0064 | ac-aj | 2 |
| 170 | 6A3338 | • BLADE - LOCKING LH COMP HPST6 PRE SBE72-0161 | aa-ac | 2 |
| 170A | 6A5586 | • BLADE POST SBE72-0161 PRE SBE72-0532 | ad-ai | 2 |
| 170B | 6A8463 | • BLADE - STAGE 6 LH LOCK POST SBE72-0532 | aj | 2 |
| 185 | 6A3339 | • BLADE - LOCKING RH COMP HPST6 PRE SBE72-0161 | aa-ac | 2 |
| 185A | 6A5587 | • BLADE POST SBE72-0161 PRE SBE72-0532 | ad-ai | 2 |
| 185B | 6A8464 | • BLADE - STAGE 6 RH LOCK POST SBE72-0532 | aj | 2 |
| 200 | 6A3340C01 | • BLADE - COMP HP STG6, NOMINAL PRE SBE72-0161 | aa-ac | 60 |
| 200A | 6A5583C01 | • BLADE - NOMINAL POST SBE72-0161 PRE SBE72-0532 | ad-ai | 59 |
| 200B | 6A8461 | • BLADE - STAGE 6 NOMINAL POST SBE72-0532 | aj | 59 |
| 215 | 6A3340C01 | • BLADE - COMP HP STG6, NOMINAL PRE SBE72-0161 | aa-ac | 25 |
| 215A | 6A5583C01 | • BLADE - NOMINAL POST SBE72-0161 PRE SBE72-0532 | ad-ai | 26 |
| 215B | 6A8461 | • BLADE - STAGE 6 NOMINAL POST SBE72-0532 | aj | 26 |
| 217 | 6A3340C02 | • BLADE - COMP HP STG6, 0.016INS (0.40 MM) U/ PRE SBE72-0161 | aa-ac | 25 |
| 217A | 6A5583C02 | • BLADE - 0.016INS (0.40 MM) U/ POST SBE72-0161 PRE SBE72-0532 | ad-ai | 26 |
| 217B | 6A8462 | • BLADE - STG.6 USIZE POST SBE72-0532 | aj | 26 |
| 264 | BLT5295 | • SCREW - JACKING-STAGE 7 PRE SBE70-0064 | aa-ab | 2 |
| 265 | UP11031 | • NUT - LOCKING,STAGE 7 BLADE PRE SBE70-0064 | aa-ab | 2 |
| 265A | 6A4109 | • NUT - & SCREW LOCK ASSY STAGE 7 POST SBE70-0064 | ac-aj | 2 |
| 270 | 6A3246 | • BLADE - LCKNG LH COMP HPST7 PRE SBE72-0161 | aa-ac | 2 |
| 270A | 6A5588 | • BLADE POST SBE72-0161 PRE SBE72-0252 | ad-ag | 2 |
| 270B | 6A6493 | • BLADE - STAGE 7 POST SBE72-0252 | ah-aj | 2 |
| 285 | 6A3247 | • BLADE - LCKNG RH COMP HPST7 PRE SBE72-0161 | aa-ac | 2 |
| 285A | 6A5589 | • BLADE POST SBE72-0161 PRE SBE72-0252 | ad-ag | 2 |
| 285B | 6A6494 | • BLADE - STAGE 7 POST SBE72-0252 | ah-aj | 2 |
| 300 | 6A3245C01 | • BLADE - COMP HP STG7, NOMINAL PRE SBE72-0161 | aa-ac | 65 |
| 300A | 6A5584C01 | • BLADE - NOMINAL POST SBE72-0161 PRE SBE72-0252 | ad-ag | 62 |
| 300B | 6A6492C01 | • BLADE - STAGE7 POST SBE72-0252 | ah-aj | 62 |
| 315 | 6A3245C01 | • BLADE - COMP HP STG7, NOMINAL PRE SBE72-0161 | aa-ac | 24 |
| 315A | 6A5584C01 | • BLADE - NOMINAL POST SBE72-0161 PRE SBE72-0252 | ad-ag | 27 |
| 315B | 6A6492C01 | • BLADE - STAGE7 POST SBE72-0252 | ah-aj | 27 |
| 317 | 6A3245C02 | • BLADE - COMP HP STG7, 0.016INS(0.40 MM) U/S PRE SBE72-0161 | aa-ac | 24 |
| 317A | 6A5584C02 | • BLADE - 0.016INS (0.40 MM) POST SBE72-0161 PRE SBE72-0252 | ad-ag | 27 |
| 317B | 6A6492C02 | • BLADE - STAGE7 POST SBE72-0252 | ah-aj | 27 |
| 364 | BLT5317 | • SCREW - JACKING-STAGE 12 PRE SBE70-0064 | aa-ab | 2 |
| 365 | UP11032 | • NUT - LOCKING,STAGE 12 BLADE PRE SBE70-0064 | aa-ab | 2 |
| 365A | 6A4110 | • NUT - & SCREW LOCK ASSY POST SBE70-0064 | ac-aj | 2 |
| 370 | 6A3249 | • BLADE - LCKNG LH COMP HPST8 PRE SBE72-0161 | aa-ac | 2 |
| 370A | 6A5590 | • BLADE POST SBE72-0161 PRE SBE72-0252 | ad-ag | 2 |
| 370B | 6A6496 | • BLADE - STAGE 8 POST SBE72-0252 | ah-aj | 2 |
| 385 | 6A3250 | • BLADE - LCKNG RH COMP HPST8 PRE SBE72-0161 | aa-ac | 2 |
| 385A | 6A5591 | • BLADE POST SBE72-0161 PRE SBE72-0252 | ad-ag | 2 |
| 385B | 6A6497 | • BLADE - STAGE 8 POST SBE72-0252 | ah-aj | 2 |
| 400 | 6A3248C01 | • BLADE - COMP HP STG8 PRE SBE72-0161 | aa-ac | 61 |
| 400A | 6A5585C01 | • BLADE - NOMINAL POST SBE72-0161 PRE SBE72-0252 | ad-ag | 59 |
| 400B | 6A6495C01 | • BLADE - STAGE 8 POST SBE72-0252 | ah-aj | 59 |
| 415 | 6A3248C01 | • BLADE - COMP HP STG8 PRE SBE72-0161 | aa-ac | 24 |
| 415A | 6A5585C01 | • BLADE - NOMINAL POST SBE72-0161 PRE SBE72-0252 | ad-ag | 26 |
| 415B | 6A6495C01 | • BLADE - STAGE 8 POST SBE72-0252 | ah-aj | 26 |
| 417 | 6A3248C02 | • BLADE - COMP HP STG8 PRE SBE72-0161 | aa-ac | 24 |
| 417A | 6A5585C02 | • BLADE - 0.016INS (0.40 MM) U/ POST SBE72-0161 PRE SBE72-0252 | ad-ag | 26 |
| 417B | 6A6495C02 | • BLADE - STAGE 8 POST SBE72-0252 | ah-aj | 26 |
| 464 | BLT5317 | • SCREW - JACKING-STAGE 12 PRE SBE70-0064 | aa-ab | 2 |
| 465 | UP11032 | • NUT - LOCKING,STAGE 12 BLADE PRE SBE70-0064 | aa-ab | 2 |
| 465A | 6A4110 | • NUT - & SCREW LOCK ASSY POST SBE70-0064 | ac-aj | 2 |
| 470 | 6A3252 | • BLADE - LCKNG LH COMP HPST9 PRE SBE72-0109 | aa | 2 |
| 470A | 6A4366 | • BLADE - LOCKING-LH,COMP HP-STAGE 9 POST SBE72-0109 PRE SBE72-0174 | ab-af | 2 |
| 470B | 6A4420 | • BLADE POST SBE72-0174 | ag-aj | 2 |
| 485 | 6A3253 | • BLADE - LCKNG RH COMP HPST9 PRE SBE72-0109 | aa | 2 |
| 485A | 6A4367 | • BLADE - LOCKING-RH,COMP HP-STAGE 9 POST SBE72-0109 PRE SBE72-0172 | ab-aj | 2 |
| 485B | 6A5638 | • BLADE - LOCKING-RH,COMP HP-ST POST SBE72-0172 PRE SBE72-0174 | ab-aj | 2 |
| 485C | 6A5637 | • BLADE - LOCKING-RH,COMP HP-ST POST SBE72-0174 | ab-aj | 2 |
| 500 | 6A3251C01 | • BLADE - COMP HP STG9, NOMINAL PRE SBE72-0109 | aa | 64 |
| 500A | 6A4365C01 | • BLADE - COMP HP-STAGE 9, NOMINAL POST SBE72-0109 PRE SBE70-0311 | ab-ae | 64 |
| 500B | 6A4365C01 | • BLADE - COMP HP-ST 9, NOMINAL POST SBE70-0311 | af-aj | 62 |
| 500C | 6A4419C01 | • BLADE - NOMINAL POST SBE72-0174 | ag-aj | 62 |
| 515 | 6A3251C01 | • BLADE - COMP HP STG9, NOMINAL PRE SBE72-0109 | aa | 25 |
| 515A | 6A4365C01 | • BLADE - COMP HP-STAGE 9, NOMINAL POST SBE72-0109 PRE SBE70-0311 | ab-ae | 25 |
| 515B | 6A4365C01 | • BLADE - COMP HP-ST 9, NOMINAL POST SBE70-0311 | af-aj | 27 |
| 515C | 6A4419C01 | • BLADE - NOMINAL POST SBE72-0174 | ag-aj | 27 |
| 517 | 6A3251C02 | • BLADE - COMP HP STG9, 0.016INS (0.40 MM) PRE SBE72-0109 | aa | 25 |
| 517A | 6A4365C02 | • BLADE - COMP HP-STAGE 9, 0.016INS (0.40 MM) U/ POST SBE72-0109 PRE SBE70-0311 | ab-ae | 25 |
| 517B | 6A4365C02 | • BLADE - COMP HP-ST 9, 0.016INS (0.40 MM) U/ POST SBE70-0311 | af-aj | 27 |
| 517C | 6A4419C02 | • BLADE - 0.016INS (0.40 MM) U/ POST SBE72-0174 | ag-aj | 27 |
| 564 | BLT5317 | • SCREW - JACKING-STAGE 12 PRE SBE70-0064 | aa-ab | 2 |
| 565 | UP11032 | • NUT - LOCKING,STAGE 12 BLADE PRE SBE70-0064 | aa-ab | 2 |
| 565A | 6A4110 | • NUT - & SCREW LOCK ASSY POST SBE70-0064 | ac-aj | 2 |
| 570 | 6A3255 | • BLADE - LCKNG LH COMP HPST10 PRE SBE72-0172 | aa-aj | 2 |
| 570A | 6A5639 | • BLADE - LOCKING-LH,COMP HP-ST POST SBE72-0172 PRE SBE72-0284 | aa-aj | 2 |
| 570B | 6A6563 | • BLADE - STAGE 10 POST SBE72-0284 | aa-aj | 2 |
| 585 | 6A3256 | • BLADE - LCKNG RH COMP HPST10 PRE SBE72-0172 | aa-aj | 2 |
| 585A | 6A5640 | • BLADE - LOCKING-RH,COMP-ST10 POST SBE72-0172 | aa-aj | 2 |
| 600 | 6A3254C01 | • BLADE - COMP HP STG10, NOMINAL PRE SBE70-0311 | aa-ae | 67 |
| 600A | 6A3254C01 | • BLADE - COMP HP STG10, NOMINAL POST SBE70-0311 | af-aj | 66 |
| 615 | 6A3254C01 | • BLADE - COMP HP STG10, NOMINAL PRE SBE70-0311 | aa-ae | 26 |
| 615A | 6A3254C01 | • BLADE - COMP HP STG10, NOMINAL POST SBE70-0311 | af-aj | 27 |
| 617 | 6A3254C02 | • BLADE - COMP HP STG10, 0.016INS (0.40 MM) U/ PRE SBE70-0311 | aa-ae | 26 |
| 617A | 6A3254C02 | • BLADE - COMP HP STG10, 0.016INS (0.40 MM) U/ POST SBE70-0311 | af-aj | 27 |
| 664 | BLT5317 | • SCREW - JACKING-STAGE 12 PRE SBE70-0064 | aa-ab | 2 |
| 665 | UP11032 | • NUT - LOCKING,STAGE 12 BLADE PRE SBE70-0064 | aa-ab | 2 |
| 665A | 6A4110 | • NUT - & SCREW LOCK ASSY POST SBE70-0064 | ac-aj | 2 |
| 670 | 6A3258 | • BLADE - LCKNG LH COMP HPST11 PRE SBE72-0172 | aa-aj | 2 |
| 670A | 6A5641 | • BLADE - LOCKING-LH,COMP-ST11 POST SBE72-0172 PRE SBE72-0284 | aa-aj | 2 |
| 670B | 6A6564 | • BLADE - STAGE 11 POST SBE72-0284 | aa-aj | 2 |
| 685 | 6A3259 | • BLADE - LCKNG RH COMP HPST11 PRE SBE72-0172 | aa-aj | 2 |
| 685A | 6A5642 | • BLADE - LOCKING-RH,COMP HP-ST POST SBE72-0172 | aa-aj | 2 |
| 700 | 6A3257C01 | • BLADE - COMP HP STG11, NOMINAL PRE SBE70-0311 | aa-ae | 56 |
| 700A | 6A3257C01 | • BLADE - COMP HP STG11, NOMINAL POST SBE70-0311 | af-aj | 57 |
| 715 | 6A3257C01 | • BLADE - COMP HP STG11, NOMINAL PRE SBE70-0311 | aa-ae | 25 |
| 715A | 6A3257C01 | • BLADE - COMP HP STG11, NOMINAL POST SBE70-0311 | af-aj | 24 |
| 717 | 6A3257C02 | • BLADE - COMP HP STG11, 0.016INS (0.40 MM) U/ PRE SBE70-0311 | aa-ae | 25 |
| 717A | 6A3257C02 | • BLADE - COMP HP STG11, 0.016INS (0.40 MM) U/ POST SBE70-0311 | af-aj | 24 |
| 764 | BLT5317 | • SCREW - JACKING-STAGE 12 PRE SBE70-0064 | aa-ab | 2 |
| 765 | UP11032 | • NUT - LOCKING,STAGE 12 BLADE PRE SBE70-0064 | aa-ab | 2 |
| 765A | 6A4110 | • NUT - & SCREW LOCK ASSY POST SBE70-0064 | ac-aj | 2 |
| 770 | 6A3261 | • BLADE - LCKNG LH COMP HP ST12 PRE SBE72-0172 | aa-aj | 2 |
| 770A | 6A5643 | • BLADE - LOCKING-LH,COMP HP-ST POST SBE72-0172 PRE SBE72-0284 | aa-aj | 2 |
| 770B | 6A6565 | • BLADE - STAGE 12 POST SBE72-0284 | aa-aj | 2 |
| 785 | 6A3262 | • BLADE - LCKNG RH COMP HP ST12 PRE SBE72-0172 | aa-aj | 2 |
| 785A | 6A5644 | • BLADE - LOCKING-RH,COMP HP-ST POST SBE72-0172 | aa-aj | 2 |
| 800 | 6A3260C01 | • BLADE - COMP HP STG12, NOMINAL PRE SBE70-0311 | aa-ae | 61 |
| 800A | 6A3260C01 | • BLADE - COMP HP STG12, NOMINAL POST SBE70-0311 | af-aj | 57 |
| 815 | 6A3260C01 | • BLADE - COMP HP STG12, NOMINAL PRE SBE70-0311 | aa-ae | 24 |
| 815A | 6A3260C01 | • BLADE - COMP HP STG12, NOMINAL POST SBE70-0311 | af-aj | 28 |
| 817 | 6A3260C02 | • BLADE - COMP HP STG12, 0.016INS (0.40 MM) U/ PRE SBE70-0311 | aa-ae | 24 |
| 817A | 6A3260C02 | • BLADE - COMP HP STG12, 0.016INS (0.40 MM) U/ POST SBE70-0311 | af-aj | 28 |
| - ITEM NOT ILLUSTRATED, ***** EFFECTIVITY NOT AVAILABLE | ||||
Figure: ENGINE-HP COMPRESSOR BLADES
HP COMPRESSOR BLADES

HP COMPRESSOR BLADES

