DMC:V2500-A1-72-50-10-01A-941A-DIssue No:001.00Issue Date:2014-05-01
Export Control
EAR Export Classification: Not subject to the EAR per 15 C.F.R. Chapter 1, Part 734.3(b)(3), except for the following Service Bulletins which are currently published as EAR Export Classification 9E991: SBE70-0992, SBE72-0483, SBE72-0580, SBE72-0588, SBE72-0640, SBE73-0209, SBE80-0024 and SBE80-0025.Copyright
© IAE International Aero Engines AG (2001, 2014 - 2021) The information contained in this document is the property of © IAE International Aero Engines AG and may not be copied or used for any purpose other than that for which it is supplied without the express written authority of © IAE International Aero Engines AG. (This does not preclude use by engine and aircraft operators for normal instructional, maintenance or overhaul purposes.).Applicability
All
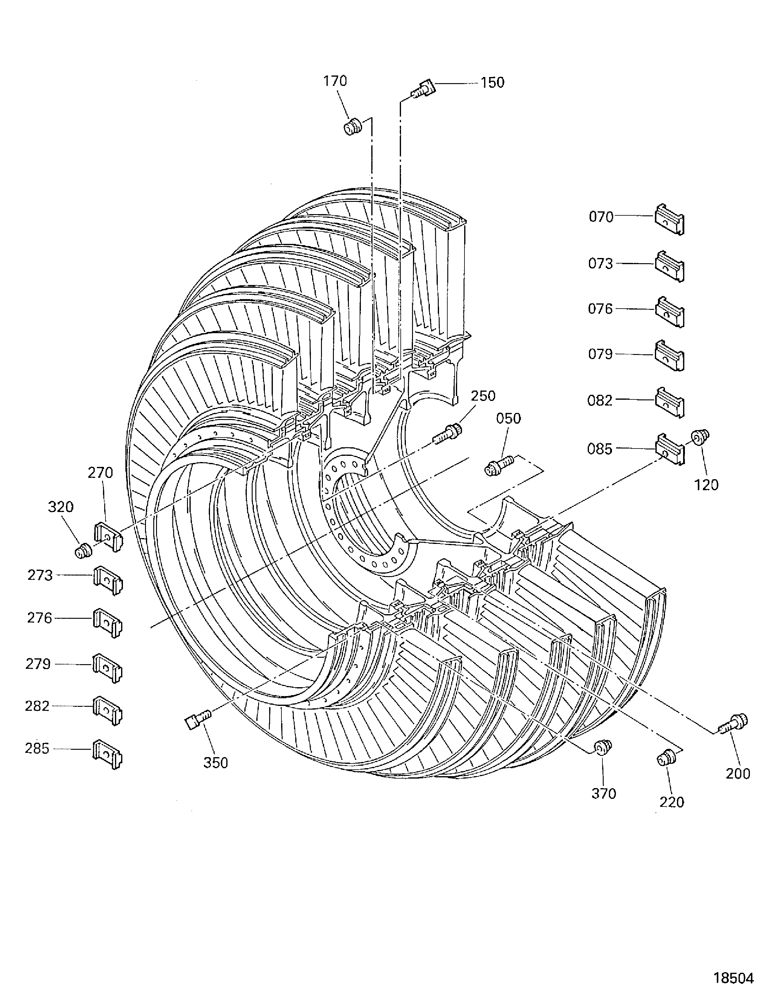
| Fig. Item | Part No. | Description | Effect/Model Applic. | UPA |
|---|---|---|---|---|
| 01 | ||||
| B72501001 | ENGINE-LP TURBINE CASE AND ROTOR, PRE SBE70-0078 | aa | ||
| SBE0078-01 | ENGINE-LP TURBINE CASE AND ROTOR, PRE SBE72-0125 | ab | ||
| SBE0125-01 | ENGINE-LP TURBINE CASE AND ROTOR, PRE SBE72-0138 | ac | ||
| SBE0138-01 | ENGINE-LP TURBINE CASE AND ROTOR, PRE SBE72-0179 | ad | ||
| SBE0179-01 | ENGINE-LP TURBINE CASE AND ROTOR | ae | ||
| -001 | 3A1032 | TURBINE - LP.CASE & ROTOR POST SBE70-0078 PRE SBE72-0138 | ab-ac | REF |
| -001A | 3A1041 | CASE - LP & ROTOR, TURBINE POST SBE72-0138 | ad-ae | REF |
| 010 | 3A0858 | • PLATE - IDENTIFICATION | aa-ae | 1 |
| 012 | 4W0101 | • BOLT - .190 DIA X .375 | aa-ae | 2 |
| 050 | 3A0062 | • BOLT - CLOSE TOL DOUBLE HEX | aa-ae | 36 |
| 070 | 3A0708-01 | • WEIGHT - COUNTERBALANCE, 19.0 MM | aa-ae | 1 |
| 073 | 3A0708-02 | • WEIGHT - COUNTERBALANCE, 20.4 MM | aa-ae | 1 |
| 076 | 3A0708-03 | • WEIGHT - COUNTERBALANCE, 21.8 MM | aa-ae | 1 |
| 079 | 3A0708-04 | • WEIGHT - COUNTERBALANCE, 23.2 MM | aa-ae | 1 |
| 082 | 3A0708-05 | • WEIGHT - COUNTERBALANCE, 24.6 MM | aa-ae | 1 |
| 085 | 3A0708-06 | • WEIGHT - COUNTERBALANCE, 26.0 MM | aa-ae | 1 |
| 120 | 4W0010 | • NUT - .250 DIA Optional Part 4W0010 PRE SBE72-0125 | aa-ad | 36 |
| 120A | ST2325-10 | • NUT - DOUBLE HEX SELF LOCKING ALT ST2326-10 POST SBE72-0125 PRE SBE72-0179 | aa-ad | 36 |
| -120B | ST2326-10 | • NUT - DOUBLE HEX SELF LOCKING ALT ST2327-10 POST SBE72-0125 PRE SBE72-0179 | ac-ad | REF |
| -120C | ST2327-10 | • NUT - DOUBLE HEX SELF LOCKING ALT ST2328-10 POST SBE72-0125 PRE SBE72-0179 | ac-ad | REF |
| -120D | ST2328-10 | • NUT - DOUBLE HEX SELF LOCKING ALT 3A2323 POST SBE72-0125 PRE SBE72-0179 | ac-ad | REF |
| 120E | 3A2323 | • NUT - DOUBLE HEX SELF LOCKING ALT 3A2328 POST SBE72-0179 | ac-ad | 36 |
| -120F | 3A2328 | • NUT - DOUBLE HEX SELF LOCKING ALT 3A2329 POST SBE72-0179 | ac-ad | REF |
| -120G | 3A2329 | • NUT - DOUBLE HEX SELF LOCKING ALT 3A2330 POST SBE72-0179 | ac-ad | REF |
| -120H | 3A2330 | • NUT - DOUBLE HEX SELF LOCKING ALT ST2325-10 POST SBE72-0179 | ac-ad | REF |
| 150 | 3A0069 | • BOLT - CLOSE TOL TEE HDHEX | aa-ae | 36 |
| 170 | 4W0010 | • NUT - .250 DIA Optional Part 4W0010 PRE SBE72-0125 | aa-ad | 36 |
| 170A | ST2325-10 | • NUT - DOUBLE HEX SELF LOCKING ALT ST2326-10 POST SBE72-0125 PRE SBE72-0179 | aa-ad | 36 |
| -170B | ST2326-10 | • NUT - DOUBLE HEX SELF LOCKING ALT ST2327-10 POST SBE72-0125 PRE SBE72-0179 | ac-ad | REF |
| -170C | ST2327-10 | • NUT - DOUBLE HEX SELF LOCKING ALT ST2328-10 POST SBE72-0125 PRE SBE72-0179 | ac-ad | REF |
| -170D | ST2328-10 | • NUT - DOUBLE HEX SELF LOCKING ALT 3A2323 POST SBE72-0125 PRE SBE72-0179 | ac-ad | REF |
| 170E | 3A2323 | • NUT - DOUBLE HEX SELF LOCKING ALT 3A2328 POST SBE72-0179 | ac-ad | 36 |
| -170F | 3A2328 | • NUT - DOUBLE HEX SELF LOCKING ALT 3A2329 POST SBE72-0179 | ac-ad | REF |
| -170G | 3A2329 | • NUT - DOUBLE HEX SELF LOCKING ALT 3A2330 POST SBE72-0179 | ac-ad | REF |
| -170H | 3A2330 | • NUT - DOUBLE HEX SELF LOCKING ALT ST2325-10 POST SBE72-0179 | ac-ad | REF |
| 200 | 3A0062 | • BOLT - CLOSE TOL DOUBLE HEX | aa-ae | 36 |
| 220 | 4W0010 | • NUT - .250 DIA Optional Part 4W0010 PRE SBE72-0125 | aa-ad | 36 |
| 220A | ST2325-10 | • NUT - DOUBLE HEX SELF LOCKING ALT ST2326-10 POST SBE72-0125 PRE SBE72-0179 | aa-ad | 36 |
| -220B | ST2326-10 | • NUT - DOUBLE HEX SELF LOCKING ALT ST2327-10 POST SBE72-0125 PRE SBE72-0179 | ac-ad | REF |
| -220C | ST2327-10 | • NUT - DOUBLE HEX SELF LOCKING ALT ST2328-10 POST SBE72-0125 PRE SBE72-0179 | ac-ad | REF |
| -220D | ST2328-10 | • NUT - DOUBLE HEX SELF LOCKING ALT 3A2323 POST SBE72-0125 PRE SBE72-0179 | ac-ad | REF |
| 220E | 3A2323 | • NUT - DOUBLE HEX SELF LOCKING ALT 3A2328 POST SBE72-0179 | ac-ad | 36 |
| -220F | 3A2328 | • NUT - DOUBLE HEX SELF LOCKING ALT 3A2329 POST SBE72-0179 | ac-ad | REF |
| -220G | 3A2329 | • NUT - DOUBLE HEX SELF LOCKING ALT 3A2330 POST SBE72-0179 | ac-ad | REF |
| -220H | 3A2330 | • NUT - DOUBLE HEX SELF LOCKING ALT ST2325-10 POST SBE72-0179 | ac-ad | REF |
| 250 | 3A0062 | • BOLT - CLOSE TOL DOUBLE HEX | aa-ae | 36 |
| 270 | 3A0708-01 | • WEIGHT - COUNTERBALANCE, 19.0 MM | aa-ae | 1 |
| 273 | 3A0708-02 | • WEIGHT - COUNTERBALANCE, 20.4 MM | aa-ae | 1 |
| 276 | 3A0708-03 | • WEIGHT - COUNTERBALANCE, 21.8 MM | aa-ae | 1 |
| 279 | 3A0708-04 | • WEIGHT - COUNTERBALANCE, 23.2 MM | aa-ae | 1 |
| 282 | 3A0708-05 | • WEIGHT - COUNTERBALANCE, 24.6 MM | aa-ae | 1 |
| 285 | 3A0708-06 | • WEIGHT - COUNTERBALANCE, 26.0 MM | aa-ae | 1 |
| 320 | 4W0010 | • NUT - .250 DIA Optional Part 4W0010 PRE SBE72-0125 | aa-ad | 36 |
| 320A | ST2325-10 | • NUT - DOUBLE HEX SELF LOCKING ALT ST2326-10 POST SBE72-0125 PRE SBE72-0179 | aa-ad | 36 |
| -320B | ST2326-10 | • NUT - DOUBLE HEX SELF LOCKING ALT ST2327-10 POST SBE72-0125 PRE SBE72-0179 | ac-ad | REF |
| -320C | ST2327-10 | • NUT - DOUBLE HEX SELF LOCKING ALT ST2328-10 POST SBE72-0125 PRE SBE72-0179 | ac-ad | REF |
| -320D | ST2328-10 | • NUT - DOUBLE HEX SELF LOCKING ALT 3A2323 POST SBE72-0125 PRE SBE72-0179 | ac-ad | REF |
| 320E | 3A2323 | • NUT - DOUBLE HEX SELF LOCKING ALT 3A2328 POST SBE72-0179 | ac-ad | 36 |
| -320F | 3A2328 | • NUT - DOUBLE HEX SELF LOCKING ALT 3A2329 POST SBE72-0179 | ac-ad | REF |
| -320G | 3A2329 | • NUT - DOUBLE HEX SELF LOCKING ALT 3A2330 POST SBE72-0179 | ac-ad | REF |
| -320H | 3A2330 | • NUT - DOUBLE HEX SELF LOCKING ALT ST2325-10 POST SBE72-0179 | ac-ad | REF |
| 350 | 3A0061 | • BOLT - CLOSE TOL TEE HD | aa-ae | 36 |
| 370 | 4W0010 | • NUT - .250 DIA Optional Part 4W0010 PRE SBE72-0125 | aa-ae | 36 |
| 370A | ST2325-10 | • NUT - DOUBLE HEX SELF LOCKING POST SBE72-0125 PRE SBE72-0179 | aa-ae | 36 |
| -370B | ST2326-10 | • NUT - DOUBLE HEX SELF LOCKING ALT ST2327-10 POST SBE72-0125 PRE SBE72-0179 | ac-ad | REF |
| -370C | ST2327-10 | • NUT - DOUBLE HEX SELF LOCKING ALT ST2328-10 POST SBE72-0125 PRE SBE72-0179 | ac-ad | REF |
| -370D | ST2328-10 | • NUT - DOUBLE HEX SELF LOCKING ALT 3A2328 POST SBE72-0125 PRE SBE72-0179 | ac-ad | REF |
| 370E | 3A2323 | • NUT - DOUBLE HEX SELF LOCKING POST SBE72-0179 | aa-ae | 36 |
| -370F | 3A2328 | • NUT - DOUBLE HEX SELF LOCKING ALT 3A2329 POST SBE72-0179 | ac-ad | REF |
| -370G | 3A2329 | • NUT - DOUBLE HEX SELF LOCKING ALT 3A2330 POST SBE72-0179 | ac-ad | REF |
| -370H | 3A2330 | • NUT - DOUBLE HEX SELF LOCKING ALT ST2325-10 POST SBE72-0179 | ac-ad | REF |
| 400 | 3A0156 | • BUSHING - SLEEVE FLANGED | aa-ae | 2 |
| 410 | 3A0155 | • SPACER - PLATE | aa-ae | 1 |
| 420 | 3A0801 | • PLUG - BLANKING | aa-ae | 2 |
| 430 | MS9566-05 | • BOLT - MACHINE DOUBLE HEX HD 96906 | aa-ae | 4 |
| - ITEM NOT ILLUSTRATED, ***** EFFECTIVITY NOT AVAILABLE | ||||
Figure: ENGINE-LP TURBINE CASE AND ROTOR
LPT CASE AND ROTOR

LPT CASE AND ROTOR

