DMC:V2500-A1-72-50-53-02A-941A-DIssue No:001.00Issue Date:2014-05-01
Export Control
EAR Export Classification: Not subject to the EAR per 15 C.F.R. Chapter 1, Part 734.3(b)(3), except for the following Service Bulletins which are currently published as EAR Export Classification 9E991: SBE70-0992, SBE72-0483, SBE72-0580, SBE72-0588, SBE72-0640, SBE73-0209, SBE80-0024 and SBE80-0025.Copyright
© IAE International Aero Engines AG (2001, 2014 - 2021) The information contained in this document is the property of © IAE International Aero Engines AG and may not be copied or used for any purpose other than that for which it is supplied without the express written authority of © IAE International Aero Engines AG. (This does not preclude use by engine and aircraft operators for normal instructional, maintenance or overhaul purposes.).Applicability
All
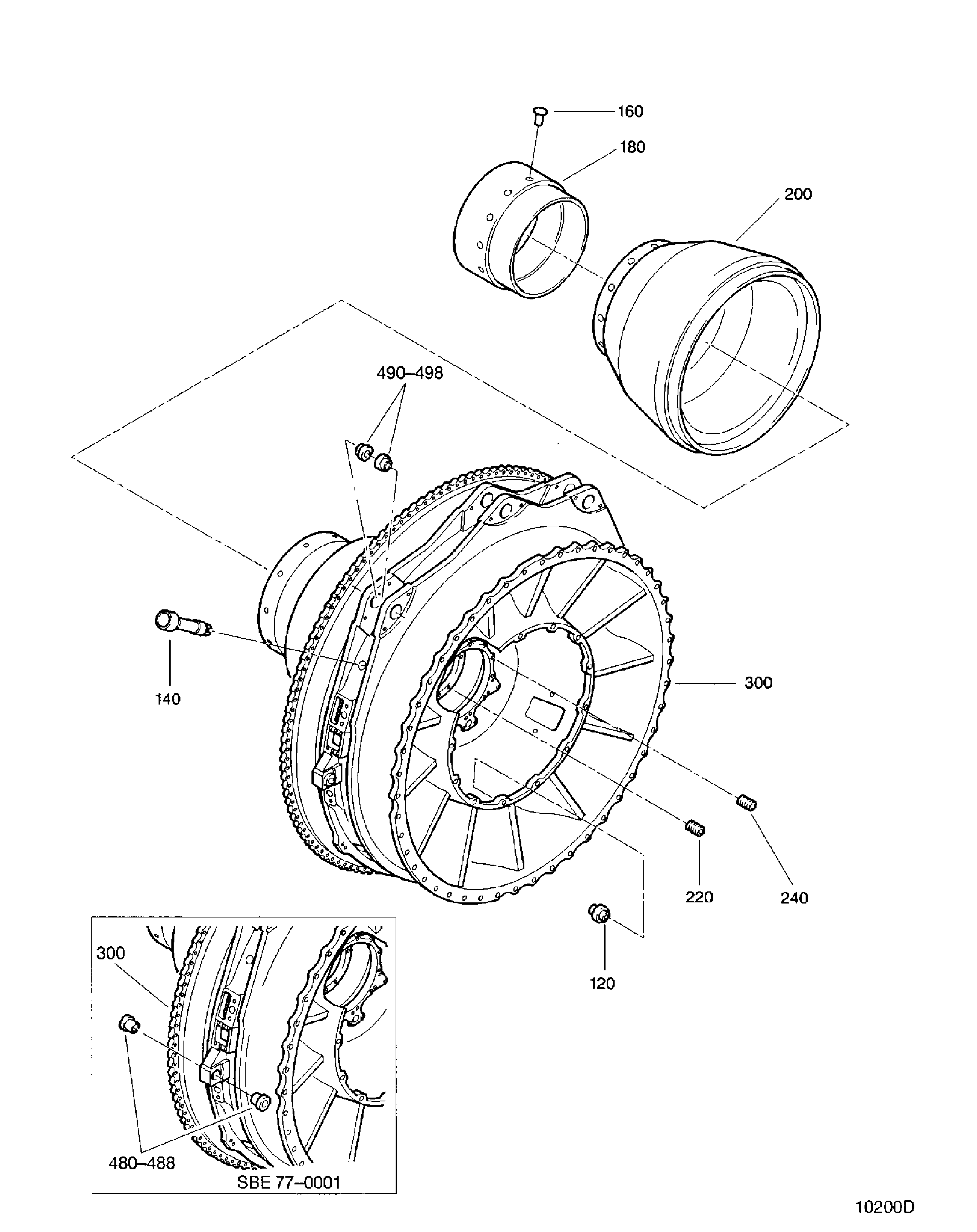
| Fig. Item | Part No. | Description | Effect/Model Applic. | UPA |
|---|---|---|---|---|
| 02 | ||||
| B72505302 | ENGINE-EXHAUST CASE AND FITTINGS, PRE SBE77-0001 | aa | ||
| SBE0001-01 | ENGINE-EXHAUST CASE AND FITTINGS, PRE SBE70-0162 | ab | ||
| SBE0162-01 | ENGINE-EXHAUST CASE AND FITTINGS, PRE SBE72-0063 | ac | ||
| SBE0063-01 | ENGINE-EXHAUST CASE AND FITTINGS, PRE SBE70-0279 | ad | ||
| SBE0279-01 | ENGINE-EXHAUST CASE AND FITTINGS, PRE SBE70-0480 | ae | ||
| SBE0480-01 | ENGINE-EXHAUST CASE AND FITTINGS, PRE SBE70-0814 | af | ||
| SBE0814-01 | ENGINE-EXHAUST CASE AND FITTINGS, PRE SBE70-0924 | ag | ||
| SBE0924-01 | ENGINE-EXHAUST CASE AND FITTINGS | ah | ||
| 120 | 4W0026 | • NUT - .250-28 Optional Part 4W0026 PRE SBE70-0162 | aa-ab | 13 |
| 120A | AS27857 | • NUT - SELF LOCKING SHANK, .250 DIA U1653 POST SBE70-0162 PRE SBE72-0063 | ac | 13 |
| 140 | 4P8009 | • BUSH PRE SBE72-0063 | aa-ac | 7 |
| 160 | AS16489 | • RIVET - SOLID CSK HEAD U1653 PRE SBE72-0063 | aa-ac | 15 |
| 160A | AS16489 | • RIVET - SOLID CSK HEAD U1653 POST SBE70-0814 | ag-ah | 1 |
| -170 | AS16529 | • • RIVET U1653 POST SBE70-0814 | ag-ah | REF |
| -175 | AN125009 | • • RIVET 81352 POST SBE70-0814 | ag-ah | REF |
| 180 | 4P8036 | • HOUSING - CARBON SEAL PRE SBE72-0063 | aa-ac | 1 |
| 200 | 4T8022 | • BLANKET - THERMAL PRE SBE72-0063 | aa-ac | 1 |
| 200A | 4T8022 | • BLANKET - THERMAL ALT 4T8003 POST SBE70-0279 PRE SBE70-0924 | ae-ag | 1 |
| -200B | 4T8003 | • BLANKET ALT 4T8022 POST SBE70-0279 PRE SBE70-0924 | ae-ag | REF |
| 200C | 4T8003 | • BLANKET POST SBE70-0924 | ah | 1 |
| 220 | AGS3732 | • INSERT - SCREW THREAD, .250 DIA X 1.5D U1653 PRE SBE72-0063 | aa-ac | 8 |
| 240 | AGS3732 | • INSERT - SCREW THREAD, .250 DIA X 1.5D U1653 PRE SBE72-0063 | aa-ac | 21 |
| 300 | 4B8060 | • CASE PRE SBE77-0001 | aa | 1 |
| 300A | 4B8068 | • CASE - A/O TURBINE EXHAUST POST SBE77-0001 PRE SBE72-0063 | ab-ac | 1 |
| 300B | 2A4700 | • GROUP - TURB EXH CASE POST SBE72-0063 PRE SBE70-0480 | ad-ah | 1 |
| 300C | 2A8500 | • TURBINE POST SBE70-0480 | ad-ah | 1 |
| 480 | 4P8109 | • • BUSH POST SBE77-0001 PRE SBE72-0063 | ab-ac | 4 |
| 480A | 2A2163 | • • BUSHING - SLEEVE POST SBE72-0063 | ad-ah | 4 |
| 483 | 4P8118 | • • • BUSH - ,(VRS5394) POST SBE70-0204 | ***** | 1 |
| 484 | 4P8118C01 | • • • BUSH - ,(VRS5394) POST SBE70-0204 | ***** | 1 |
| 485 | 4P8118C02 | • • • BUSH - ,(VRS5394) POST SBE70-0204 | ***** | 1 |
| 486 | 4P8118C03 | • • • BUSH - ,(VRS5394) POST SBE70-0204 | ***** | 1 |
| 487 | 4P8118C04 | • • • BUSH - ,(VRS5394) POST SBE70-0204 | ***** | 1 |
| 488 | 4P8118C05 | • • • BUSH - ,(VRS5394) POST SBE70-0204 | ***** | 1 |
| 490 | 4P8032 | • • BUSH PRE SBE72-0063 | aa-ac | 6 |
| 490A | 2A2161 | • • BUSHING - SLEEVE POST SBE72-0063 | ad-ah | 6 |
| 493 | 4P8117 | • • • BUSH - ,(VRS5393) POST SBE70-0204 | ***** | 1 |
| 494 | 4P8117C01 | • • • BUSH - ,(VRS5393) POST SBE70-0204 | ***** | 1 |
| 495 | 4P8117C01 | • • • BUSH - ,(VRS5393) POST SBE70-0204 | ***** | 1 |
| 496 | 4P8117C03 | • • • BUSH - ,(VRS5393) POST SBE70-0204 | ***** | 1 |
| 497 | 4P8117C04 | • • • BUSH - ,(VRS5393) POST SBE70-0204 | ***** | 1 |
| 498 | 4P8117C05 | • • • BUSH - ,(VRS5393) POST SBE70-0204 | ***** | 1 |
| - ITEM NOT ILLUSTRATED, ***** EFFECTIVITY NOT AVAILABLE | ||||
Figure: ENGINE-EXHAUST CASE AND FITTINGS
EXHAUST CASE AND FITTINGS

