Export Control
EAR Export Classification: Not subject to the EAR per 15 C.F.R. Chapter 1, Part 734.3(b)(3), except for the following Service Bulletins which are currently published as EAR Export Classification 9E991: SBE70-0992, SBE72-0483, SBE72-0580, SBE72-0588, SBE72-0640, SBE73-0209, SBE80-0024 and SBE80-0025.Copyright
© IAE International Aero Engines AG (2001, 2014 - 2021) The information contained in this document is the property of © IAE International Aero Engines AG and may not be copied or used for any purpose other than that for which it is supplied without the express written authority of © IAE International Aero Engines AG. (This does not preclude use by engine and aircraft operators for normal instructional, maintenance or overhaul purposes.).Applicability
V2500-A1
Common Information
TASK 72-50-53-300-023 Turbine Exhaust Case (TEC) - Chromium Plate The No. 5 Bearing Retainer Seat, Repair-023 (VRS5407)
Material of component
RR | ||
|---|---|---|
DESCRIPTION | SYMBOL | MATERIAL |
Turbine exhaust case | Corrosion and heat resistant | |
iron base alloy |
General
Price and availability - none
The practices and processes referred to in the procedure by the TASK numbers are in the SPM.
NOTE
To identify the consumable materials refer to the PCI.
Consumable materials are given in the SPM.
Preliminary Requirements
Pre-Conditions
NONESupport Equipment
| Name | Manufacturer | Part Number / Identification | Quantity | Remark |
|---|---|---|---|---|
| Workshop inspection equipment | LOCAL | Workshop inspection equipment | ||
| Grinding machine | LOCAL | Grinding machine | ||
| Fluorescent Penetrant Inspection Equipment | LOCAL | Fluorescent penetrant inspection equipment | ||
| Basket | LOCAL | Basket | ||
| Process Plating Tanks | LOCAL | Process plating tanks | ||
| Furnace | LOCAL | Furnace | ||
| Magnifying glass, 5X | LOCAL | Magnifying glass, 5X | ||
| Vibrating marking pencil | LOCAL | Vibrating marking pencil |
Consumables, Materials and Expendables
| Name | Manufacturer | Part Number / Identification | Quantity | Remark |
|---|---|---|---|---|
| CoMat 01-023 CHROMIUM TRIOXIDE CrO3(CHROM.ACID) | LOCAL | CoMat 01-023 | ||
| CoMat 02-017 WAX | LOCAL | CoMat 02-017 | ||
| CoMat 02-034 METALLIC MASKING TAPE(LEAD FOIL) | 76381 | CoMat 02-034 | ||
| CoMat 05-030 CAST STEEL SHOT DELETED | 0AM53 | CoMat 05-030 | ||
| CoMat 10-023 MINERAL OIL | 73277 | CoMat 10-023 | ||
| CoMat 01-001 SOLVENT, DELETED | 0AM53 | CoMat 01-001 |
Spares
NONESafety Requirements
NONEProcedure
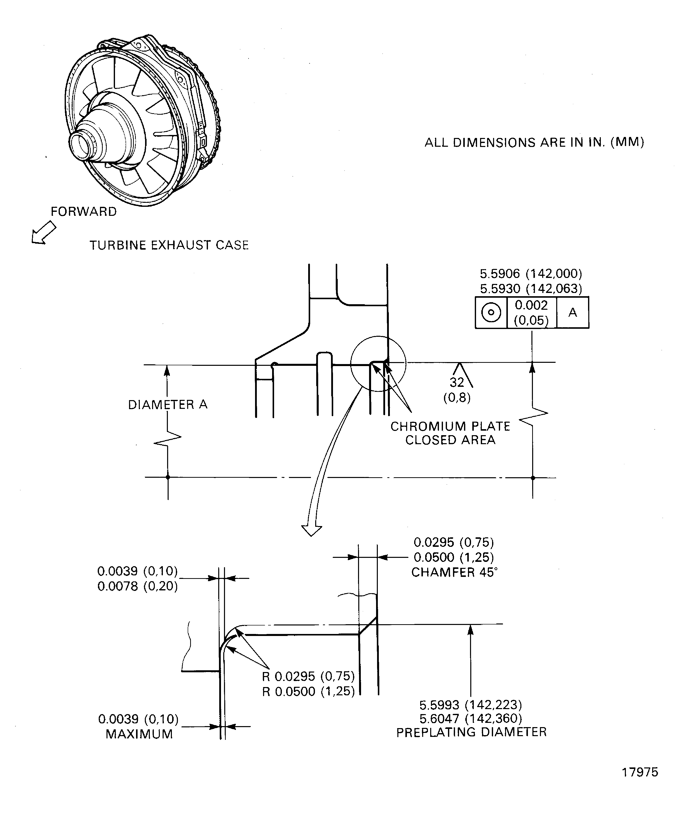
Refer to: Figure
SUBTASK 72-50-53-320-063 Machine the No. 5 Bearing Retainer Seat
Refer to the SPM TASK 70-21-02-210-501.
Machine the seat if there are signs of burned metal.
Keep the removal of material to the minimum necessary to remove the damage.
Do the nital etch on the seat to find sign of burning coating.
SUBTASK 72-50-53-210-051 Nital Etch the No. 5 Bearing Retainer Seat
Refer to: Figure
Refer to the SPM TASK 70-33-02-330-501.
Plate to a sufficient thickness to permit the machining to the last dimensions.
The plate out of the bearing retainer seat is permitted but must be removed.
Do the chromium plating.
SUBTASK 72-50-53-330-056 Chromium Plate the No. 5 Bearing Retainer Seat
Refer to: Figure
SUBTASK 72-50-53-220-093 Examine the Chromium Plated Area
Refer to: Figure
SUBTASK 72-50-53-320-064 Machine the No. 5 Bearing Retainer Seat
Figure: Chromium plate the No. 5 bearing retainer seat in the turbine exhaust case
Chromium plate the No. 5 bearing retainer seat in the turbine exhaust case

