DMC:V2500-A1-73-11-47-01A-941A-DIssue No:001.00Issue Date:2014-05-01
Export Control
EAR Export Classification: Not subject to the EAR per 15 C.F.R. Chapter 1, Part 734.3(b)(3), except for the following Service Bulletins which are currently published as EAR Export Classification 9E991: SBE70-0992, SBE72-0483, SBE72-0580, SBE72-0588, SBE72-0640, SBE73-0209, SBE80-0024 and SBE80-0025.Copyright
© IAE International Aero Engines AG (2001, 2014 - 2021) The information contained in this document is the property of © IAE International Aero Engines AG and may not be copied or used for any purpose other than that for which it is supplied without the express written authority of © IAE International Aero Engines AG. (This does not preclude use by engine and aircraft operators for normal instructional, maintenance or overhaul purposes.).Applicability
All
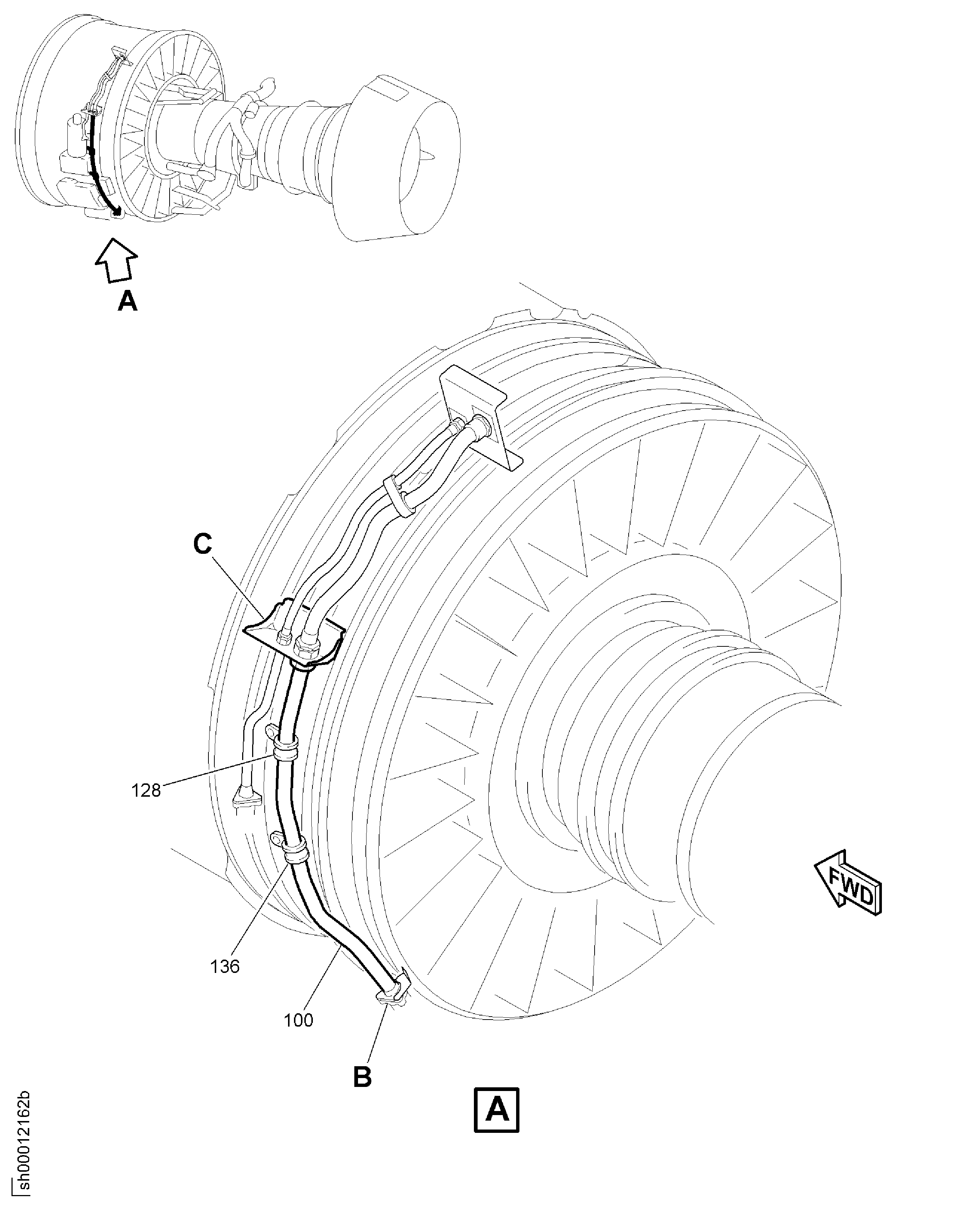
| Fig. Item | Part No. | Description | Effect/Model Applic. | UPA |
|---|---|---|---|---|
| 01 | ||||
| B73114701 | FUEL SYSTEM TUBES (RIGID)-POWER PLANT, PRE SBE75-0010 | aa | ||
| SBE0010-01 | FUEL SYSTEM TUBES (RIGID)-POWER PLANT, PRE SBE70-0158 | ab | ||
| SBE0158-01 | FUEL SYSTEM TUBES (RIGID)-POWER PLANT, PRE SBE70-0146 | ac | ||
| SBE0146-01 | FUEL SYSTEM TUBES (RIGID)-POWER PLANT, PRE SBE70-0332 | ad | ||
| SBE0332-01 | FUEL SYSTEM TUBES (RIGID)-POWER PLANT, PRE SBE70-0630 | ae | ||
| SBE0630-01 | FUEL SYSTEM TUBES (RIGID)-POWER PLANT, PRE SBE70-0902 | af | ||
| SBE0902-01 | FUEL SYSTEM TUBES (RIGID)-POWER PLANT | ag | ||
| -005 | 740-5004-509 | ARRGT - FUEL SYSTEM 51563 | aa-ag | REF |
| -005A | 740-5004-531 | ARRGT - FUEL SYSTEM 51563 | aa-ag | REF |
| -005B | 740-5004-533 | ARRGT - FUEL SYSTEM 51563 | aa-ag | REF |
| -005C | 740-5004-535 | ARRGT - FUEL SYSTEM 51563 PRE SBE70-0146 | aa-ag | REF |
| -005D | 740-5004-537 | ARRGT - FUEL SYSTEM 51563 POST SBE70-0146 | aa-ag | REF |
| 070 | 5W2160 | • BRACKET PRE SBE70-0158 | aa-ag | 1 |
| 070A | 6A4674 | • BRACKET POST SBE70-0158 | aa-ag | 1 |
| 100 | 740-5650-501 | • TUBE - ASSY 51563 | aa-ag | 1 |
| 102 | 4W0169 | • BOLT - .250 DIA X .938 | aa-ag | 3 |
| 104 | AS43013-124 | • RING U1653 | aa-ag | 1 |
| 106 | MS21924-20S | • UNION 96906 PRE SBE70-0630 | aa-ag | 1 |
| 106A | MS21924-20S | • UNION 96906 ALT MS21924-20R POST SBE70-0630 | aa-ag | 1 |
| 106B | MS21924-20R | • UNION 96906 ALT MS21924-20S POST SBE70-0630 | af-ag | 1 |
| 108 | AN960C2616 | • WASHER 81352 PRE SBE70-0902 | aa-ag | 2 |
| 108A | 4W2001 | • WASHER POST SBE70-0902 | aa-ag | 1 |
| 110 | AN924-20S | • NUT 81352 | aa-ag | 1 |
| 128 | 400WSS20 | • CLIP 83930 PRE SBE70-0332 | aa-ad | 1 |
| 128A | 400WSS19 | • CLIP 83930 POST SBE70-0332 | aa-ag | 1 |
| 136 | 400WSS20 | • CLIP 83930 PRE SBE70-0332 | aa-ad | 1 |
| 136A | 400WSS19 | • CLIP 83930 POST SBE70-0332 | aa-ag | 1 |
| 900 | 740-5658-503 | • BRACKET - MOUNTING 51563 | aa-ag | 1 |
| 900A | 740-5658-507 | • BRACKET - MOUNTING 51563 | aa-ag | 1 |
| 906 | AS21010 | • BOLT - .250 DIA X .625 U1653 | aa-ag | 5 |
| 910 | 4W0002 | • NUT - .250 DIA | aa-ag | 5 |
| 920 | 740-5638-505 | • ANGLE 51563 | aa-ag | 1 |
| 921 | 4W0002 | • NUT - .250 DIA | aa-ag | 2 |
| 924 | AS21010 | • BOLT - .250 DIA X .625 U1653 | aa-ag | 2 |
| 930 | 740-5637-503 | • ANGLE 51563 | aa-ag | 1 |
| 931 | 4W0002 | • NUT - .250 DIA | aa-ag | 2 |
| 934 | AS21010 | • BOLT - .250 DIA X .625 U1653 | aa-ag | 2 |
| 940 | 6A2158 | • BRACKET POST SBE75-0010 | ab-ag | 1 |
| - ITEM NOT ILLUSTRATED, ***** EFFECTIVITY NOT AVAILABLE | ||||
Figure: FUEL SYSTEM TUBES (RIGID)-POWER PLANT
TUBES FUEL RIGID

TUBES FUEL RIGID

